A MODULAR APPROACH
STUDENT TEXT
MODULE 1: ORIENTATION
MODULE 2: BIOGRAPHIC INFORMATION
AUGUST 1979
Copyright © 1980 by John H. T. Harvey, Lucille A. Barale, Roberta S. Barry, and Thomas E. Madden
Standard Chinese: A Modular Approach originated in an interagency-conference held at the Foreign Service Institute in August 1973 to address the need generally felt in the. U.S. Government language training community for improving and updating Chinese materials, to reflect current usage in Beijing and Taipei.
The conference resolved to develop materials which were flexible enough in form and content to meet the requirements of a wide range of government agencies and academic institutions.
A Project Board was established consisting of representatives of the Central Intelligence Agency Language Learning Center, the Defense Language Institute, the State Department’s Foreign Service Institute, the Cryptologic School of the National Security Agency, and the U.S. Office of Education, later joined by the Canadian Forces Foreign Language School. The representatives have included Arthur T. McNeill, John Hopkins, and John Boag (CIA); Colonel John F. Elder III, Joseph C. Hutchinson, Ivy Gibian, and Major Bernard Muller-Thym (DLI); James R. Frith and John B. Ratliff III (FSI); Kazuo Shitama (NSA); Richard T. Thompson and Julia Petrov (OE); and Lieutenant Colonel George Kozoriz (CFFLS).
The Project Board set up the Chinese Core Curriculum Project in 197^ in space provided at the Foreign Service Institute. Each of the six U.S. and Canadian government agencies provided funds and other assistance.
Gerard P. Kok was appointed project coordinator, and a planning council was formed consisting of Mr. Kok, Frances Li of the Defense Language Institute, Patricia O’Connor of the University of Texas, Earl M. Hickerson of the Language Learning Center, and James Wrenn of Brown University. In the fall of 1977» Lucille A. Barale was appointed deputy project coordinator. David W. Dellinger of the Language Learning Center and Charles R. Sheehan of the Foreign Service Institute also served on the planning council and contributed material to the project. The planning council drew up the original overall design for the materials and met regularly to review their development.
Writers for the first half of the materials were John H. T. Harvey, Lucille A. Barale, and Roberta S. Barry, who worked in close cooperation with the planning council and with the Chinese staff of the Foreign Service Institute. Mr. Harvey developed the instructional formats of the comprehension and production self-study materials, and also designed the communication-based classroom activities and wrote the teacher's guides. Lucille A. Barale and Roberta S. Barry wrote the tape scripts and the student text. By 1978 Thomas E. Madden and Susan C. Pola had Joined the staff. Led by Ms. Barale, they have worked as a team to produce the materials subsequent to Module 6.
All Chinese language material was prepared or selected by Chuan 0. Chao, Ying-chi Chen, Hsiao-Jung Chi, Eva Diao, Jan Hu, Tsung-mi Li, and Yunhui C. Yang, assisted for paid; of the time by Chieh-fang Ou Lee, Ying-ming Chen, and Joseph Yu Hsu Wang. Anna Affholder, Mei-li Chen, and Henry Khuo helped in the preparation of a preliminary corpus of dialogues.
Administrative assistance was provided at various times by Vincent Basciano, Lisa A. Bowden, Jill W. Ellis, Donna Fong, Renee T. C. Liang, Thomas E. Madden, Susan C. Pola, and Kathleen Strype.
The production of tape recordings was directed by Jose M. Ramirez of the Foreign Service Institute Recording Studio. The Chinese script was voiced by Ms. Chao, Ms. Chen, Mr. Chen, Ms. Diao, Ms. Hu, Mr. Khuo, Mr. Li, and Ms. Yang. The English script was read by Ms. Barale, Ms. Barry, Mr. Basciano, Ms. Ellis, Ms. Pola, and Ms. Strype.
The graphics were produced by John McClelland of the Foreign Service Institute Audio-Visual staff, under the general supervision of Joseph A. Sadote, Chief of Audio-Visual.
Standard Chinese: A Modular Approach was field-tested with the cooperation of Brown University; the Defense Language Institute, Foreign Language' Center; the Foreign Service Institute; the Language Learning Center; the United States Air Force Academy; the University of Illinois; and the University of Virginia.
Colonel Samuel L. Stapleton and Colonel Thomas G. Foster, Commandants of the Defense Language Institute, Foreign Language Center, authorized the DLIFLC support necessary for preparation of this edition of the course materials. This support included coordination, graphic arts, editing, typing, proofreading, printing, and materials necessary to carry out these tasks.
James R. Frith, Chairman
Chinese Core Curriculum Project Board
CONTENTS
Introduction Section I: About the Course
MODULE 1: ORIENTATION
UNIT 1 Introduction....... . .
Full names and surnames Titles and terms of address Drills
Given names
Yes/no questions Negative statements Greetings
UNIT 3 Introduction ......... .....
Nationality
Home state, province, and city Drills
Location of people and places
Where people’s families are from
Appendices
MODULE 2: BIOGRAPHIC INFORMATION Objectives
Where people are staying (hotels) Short answers The question word něige "which?" Drills................ 105
Where people are staying (houses)
Where people are working Addresses The marker do The marker ba The prepositional verb zài Drills . .........................120
Reference Notes ....................•
Members of a family The plural ending -men The question word jǐ- "how many"
The adverb dōu "all”
Several ways to express ’’and" Drills . . . .
UNIT It
Arrival and departure times The marker le The shi... de construction
UNIT 5
Date and place of birth
Days of the week
Ages
The marker le for new situations
UNIT 6
Duration phrases
The marker le for completion
The "double le" construction
The marker guo
Action verbs State verbs
UNIT 7
Where someone works Where and what someone has studied What languages someone can speak Auxiliary verbs General objects
UNIT 8
More on duration phrases
The marker le for new situations in negative sentences
Military titles and branches of service
The marker ne Process verbs Drills............................223
INTRODUCTION
This course is designed to give you a practical command of spoken Standard Chinese. You will learn both to understand and to speak it. Although Standard Chinese is one language, there are differences between the particular form it takes in Beijing and the form it takes in the rest of the country. There are also, of course, significant nonlinguistic differences between regions of the country. Reflecting these regional differences, the settings for most conversations are Beijing and Taipei.
This course represents a new approach to the teaching of foreign languages. In many ways it redefines the roles of teacher and student, of classwork and homework, and of text and tape. Here is what you should expect:
The focus is on communicating in Chinese in practical situations—the obvious ones you will encounter upon arriving in China. You will be communicating in Chinese most of the time you are in class. You will not always be talking about real situations, but you will almost always be purposefully exchanging information in Chinese.
This focus on communicating means that the teacher is first of all your conversational partner. Anything that forces him1 back into the traditional roles of lecturer and drillmaster limits your opportunity to interact with a speaker of the Chinese language and to experience the language in its full spontaneity, flexibility, and responsiveness.
Using class time for communicating, you will complete other course activities out of class whenever possible. This is what the tapes are for. They introduce the new material of each unit and give you as much additional practice as possible without a conversational partner.
The texts summarize and supplement the tapes, which take you through new material step by step and then give you intensive practice on what you have covered. In this course you will spend almost all your time listening to Chinese and saying things in Chinese, either with the tapes or in class.
How the Course Is Organized
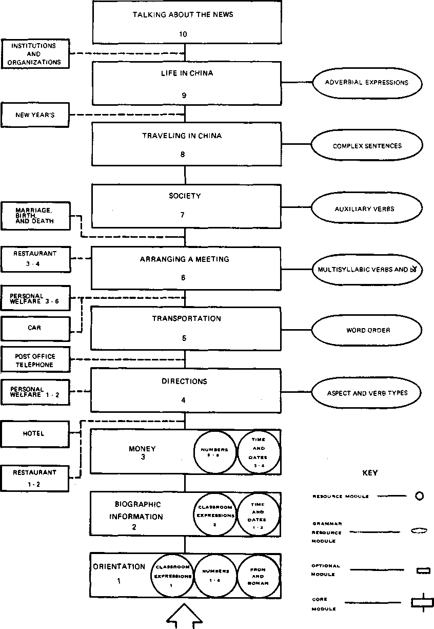
The subtitle of this course, "A Modular Approach," refers to overall organization of the materials into MODULES which focus on particular situations or language topics and which allow a certain amount of choice as to what is taught and in what order. To highlight equally significant features of the course, the subtitle could Just as well have been "A Situational Approach," "A Taped-Input Approach," or "A Communicative Approach."
Ten situational modules form the core of the course:
|
ORIENTATION (ORN) |
Talking about who you are and where you are from. |
|
BIOGRAPHIC INFORMATION (BIO) |
Talking about your background, family, studies, and occupation and about your visit to China. |
|
MONEY (MON) |
Making purchases and changing money. |
|
DIRECTIONS (DIR) |
Asking directions in a city or in a building. |
|
TRANSPORTATION (TRN) |
Taking buses, taxis, trains, and planes, including finding out schedule information, buying tickets, and making reservations. |
|
ARRANGING A MEETING (MTG) |
Arranging a business meeting or a social get-together, changing the time of an appointment, and declining an invitation. |
|
SOCIETY (SOC) |
Talking about families, relationships between people, cultural roles in traditional society, and cultural trends in modern society. |
|
TRAVELING IN CHINA (TRL) |
Making travel arrangements and visiting a kindergarten, the Great Wall, the Ming Tombs, a commune, and a factory. |
|
LIFE IN CHINA (LIC) |
Talking about daily life in Beijing street committees, leisure activities, traffic and transportation, buying and rationing, housing. |
|
TALKING ABOUT THE NEWS (TAN) |
Talking about government and party policy changes described in newspapers: the educational system, agricultural policy, international policy, ideological policy, and policy in the arts. |
Each core module consists of tapes, a student textbook, and a workbook.
In addition to the ten CORE modules, there are also RESOURCE modules and OPTIONAL modules. Resource modules teach particular systems in the language, such as numbers and dates. As you proceed through a situational core module, you •will occasionally take time out to study part of a resource module. (You will begin the first three of these while studying the Orientation Module.)
PRONUNCIATION AND ROMANIZATION (P&R) The sound system of Chinese and the Pinyin system of romanization.
NUMBERS (NUM) Numbers up to five digits.
CLASSROOM EXPRESSIONS (CE) Expressions basic to the classroom
learning situation.
TIME AND DATES (T&D) Dates, days of the week, clock time,
parts of the day.
GRAMMAR Aspect and verb types, word order,
multisyllabic verbs and ba., auxiliary verbs, complex sentences, adverbial expressions.
Each module consists of tapes and a student textbook.
The eight optional modules focus on particular situations:
RESTAURANT (RST)
HOTEL (HTL)
PERSONAL WELFARE (WLF)
POST OFFICE AND TELEPHONE (PST/TEL)
CAR (CAR)
CUSTOMS SURROUNDING MARRIAGE, BIRTH, AND DEATH (MBD)
NEW YEAR'S CELEBRATION (NYR)
INSTITUTIONS AND ORGANIZATIONS (l&O)
Each module consists of tapes and a student textbook. These optional modules may be used at any time after certain core modules.
The diagram on page U shows how the core modules, optional modules, and resource modules fit together in the course. Resource modules are shown where study should begin. Optional modules are shown where they may be introduced.
STANDARD CHINESE : A MODULAR APPROACH
Inside a Core Module
Each core module has from four to eight units. A module also includes
Objectives: The module objectives are listed at the beginning of the text for each module. Read these before starting work on the first unit to fix in your mind what you are trying to accomplish and what you will have to do to pass the test at the end of the module.
Target Lists: These follow the objectives in the text. They summarize the language content of each unit in the form of typical questions and answers on the topic of that unit. Each sentence is given both in roman-ized Chinese and in English. Turn to the appropriate Target List before, during, or after your work on a unit, whenever you need to pull together what is in’ the unit.
Review Tapes (R-l): The Target List sentences are given on these tapes. Except in the short Orientation Module, there are two R-l tapes for each module.
Criterion Test: After studying each module, you will take a Criterion Test to find out which module objectives you have met and which you need to work on before beginning to study another module.
Inside a Unit
Here is what you will be doing in each unit. First, you will work through two tapes:
1. Comprehension Tape 1 (C-l): This tape introduces all the new words and structures in the unit and lets you hear them in the context of short conversational exchanges. It then works them into other short conversations and longer passages for listening practice, and finally reviews them in the Target List sentences. Your goal when using the tape is to understand all the Target List sentences for the unit.
2. Production Tape 1 (P-1): This tape gives you practice in pronouncing the new words and in saying the sentences you learned to understand on the C-l tape. Your goal when using the P-1 tape is to be able to produce any of the Target List sentences in Chines? when given'the English equivalent. The C-l and P-1 tapes, not accompanied by workbooks, are "portable” in the sense that they do not tie you down to your desk. However, there are some written materials for each unit which you will need to work into your study routine. A text Reference List at the beginning of each unit contains the sentences from the C-l and P-1 tapes. It includes both the Chinese sentences and their English equivalents. The text Reference Notes restate and expand the comments made on the C-l and P-1 tapes concerning grammar, vocabulary, pronunciation, and culture.
After you have worked with the C-l and P-1 tapes, you go on to two class activities:
3. Target List' Review: In this first class activity of the unit, you find out how well you learned the C-l and P-1 sentences. The teacher checks your understanding and production of the Target List sentences. He also presents any additional required vocabulary items, found at the end of the Target List, which were not on the C-l and P-1 tapes.
U. Structural Buildup: During this class activity, you work on your understanding and control of the new structures in the unit. You respond to questions from your teacher about situations illustrated on a chalkboard or explained in other ways.
After these activities, your teacher may want you to spend some time working on the drills for the unit.
5. Drill Tape: This tape takes you through various types of drills based on the Target List sentences and on the additional required vocabulary.
6. Drills: The teacher may have you go over some or all of the drills in class, either to prepare for work with the tape, to review the tape, or to replace it.
Next, you use two more tapes. These tapes will give you as much additional practice as possible outside of class.
7. Comprehension Tape 2 (C-2): This tape provides advanced listening practice with exercises containing long, varied passages which fully exploit the possibilities of the material covered. In the C-2 Workbook you answer questions about the passages.
8. Production Tape 2 (P-2): This tape resembles the Structural Buildup in that you practice using the new structures of the unit in various situations. The P-2 Workbook provides instructions and displays of information for each exercise.
Following work on these two tapes, you take part in two class activities:
9. Exercise Review: The teacher reviews the exercises of the C-2 tape by reading or playing passages from the tape and questioning you on them. He reviews the exercises of the P-2 tape by questioning you on information displays in the P-2 Workbook.
10. Communication Activities: Here you use what you have learned in the unit for the purposeful exchange of information. Both fictitious situations (in Communication Games) and real-world situations involving you and your classmates (in "interviews") are used.
Materials and Activities for a Unit
TAPED MATERIALS
C-l, P-1 Tapes
WRITTEN MATERIALS
Target List
Reference List
Reference Notes
D-l Tapes
C-2, P-2 Tapes
Drills
Reference Notes C-2, P-2 Workbooks
CLASS ACTIVITIES
Target List Review
Structural Buildup
Drills
Exercise Review
Communication Activities
Wen wǔ Temple in central Taiwan (courtesy of Thomas Madden)
The Chinese Languages
We find it perfectly natural to talk about a language called "Chinese." We say, for example, that the people of China speak different dialects of Chinese, and that Confucius wrote in an ancient form of Chinese. On the other hand, we would never think of saying that the people of Italy, France, Spain, and Portugal speak dialects of one language, and that Julius Caesar wrote in an ancient form of that language. But the facts are almost exactly parallel.
Therefore, in terms of what we think of as a language when closer to home, "Chinese" is not one language, but a family of languages. The language of Confucius is partway up the trunk of the family tree. Like Latin, it lived on as a literary language long after its death as a spoken language in popular use. The seven modern languages of China, traditionally known as the "dialects," are the branches of the tree. They share as strong a family resemblance as do Italian, French, Spanish, and Portuguese, and are about as different from one another.
The predominant language of China is now known as Putonghua, or "Standard Chinese" (literally "the common speech"). The more traditional term, still used in Taiwan, is Guóyǔ, or "Mandarin" (literally "the national language"). Standard Chinese is spoken natively by almost two-thirds of the population of China and throughout the greater part of the country.
The term "Standard Chinese" is often used more narrowly to refer to the true national language which is emerging. This language, which is already the language of all national broadcasting, is based primarily on the 'Peking dialect, but takes in elements from other dialects of Standard Chinese and even from other Chinese languages. Like many national languages, it is more widely understood than spoken, and is often spoken with some concessions to local speech, particularly in pronunciation.
The Chinese languages and their dialects differ far more in pronunciation than in grammar and vocabulary. What distinguishes Standard Chinese most from the other Chinese languages, for example, is that it has the fewest tones and the fewest final consonants.
The remaining six Chinese languages, spoken by approximately a quarter of the population of China, are tightly grouped in the southeast, below the Yangtze River. The six are: the Wu group (Wu), which includes the "Shanghai dialect"; Hunanese (Xiang); the "Kiangsi dialect" (Can); Cantonese (Yuè), the language of Guangdong, widely spoken in Chinese communities in the United States; Fukienese (Mln), a variant of which is spoken by a majority on Taiwan and hence called Taiwanese; and Hakka (Kèjiā), spoken in a belt above the Cantonese area, as well as by a minority on Taiwan. Cantonese, Fukienese, and Hakka are also widely spoken throughout Southeast Asia.
There are minority ethnic groups in China who speak non-Chinese languages. Some of these, such as Tibetan, are distantly related to the Chinese languages. Others, such as Mongolian, are entirely unrelated.
Some Characteristics of Chinese
To us, perhaps the most striking feature of spoken Chinese is the use of variation in tone ("tones") to distinguish the different meanings of syllables which would otherwise sound alike. All languages, and Chinese is no exception, make use of sentence intonation to indicate how whole sentences are to be understood. In English, for example, the rising pattern in "He’s gone?" tells us that the sentence is meant as a question. The Chinese tones, however, are quite a different matter. They belong to individual syllables, not to the sentence as a whole. An inherent part of each Standard Chinese syllable is one of four distinctive tones. The tone does just as much to distinguish the syllable as do the consonants and vowels. For example, the only difference between the verb "to buy," mai, and the verb "to sell," mài, is the Low tone (w) and the Falling tone ('). And yet these words are just as distinguishable as our words "buy" and "guy," or "buy" and "boy." Apart from the tones, the sound system of Standard Chinese is no more different from English than French is.
Word formation in Standard Chinese is relatively simple. For one thing, there are no conjugations such as are found in many European languages . Chinese verbs have fewer forms than English verbs, and nowhere near as many irregularities. Chinese grammar relies heavily on word order, and often the word order is the same as in English. For these reasons Chinese is not as difficult for Americans to learn to speak as one might think.
It is often said that Chinese is a monosyllabic language. This notion contains a good deal of truth. It has been found that, on the average, every other word in ordinary conversation is a single-syllable word. Moreover, although most words in the dictionary have two syllables, and some have more, these words can almost always be broken down into singlesyllable units of meaning, many of which can stand alone as words.
Written Chinese
Most languages with which we are familiar are written with an alphabet. The letters may be different from ours, as in the Greek alphabet, but the principle is the same: one letter for each consonant or vowel sound, more or less. Chinese, however, is written with "characters" which stand for whole syllables—in fact, for whole syllables with particular meanings. Although there are only about thirteen hundred phonetically distinct syllables in standard Chinese, there are several thousand Chinese characters in everyday use, essentially one for each single-syllable unit of meaning. This means that many words have the same pronunciation but are written with different characters, as tiān, "sky," X, an^ tiān_, "to add," "to increase," . Chinese characters are often referred to as "ideographs,." which suggests that they stand directly for ideas. But this is misleading. It is better to think of them as standing for the meaningful syllables of the spoken language.
Minimal literacy in Chinese calls for knowing about a thousand characters. These thousand characters, in combination, give a reading vocabulary of several thousand words. Full literacy calls for knowing some three thousand characters. In order to reduce the amount of time needed to learn characters, there has been a vast extension in the People’s Republic of China (PRC) of the principle of character simplification, which has reduced the average number of strokes per character by half.
During the past century, various systems have been proposed for representing the sounds of Chinese with letters of the Roman alphabet. One of these romanizations, Hànyǔ Pinyin (literally "Chinese Language Spelling," generally called "Pinyin" in English), has been adopted officially in the PRC, with the short-term goal of teaching all students the Standard Chinese pronunciation of characters. A long-range goal is the use of Pinyin for written communication throughout the country. This is not possible, of course, until speakers across the nation have uniform pronunciations of Standard Chinese. For the time being, characters, which represent meaning, not pronunciation, are still the most widely accepted way of communicating in writing.
Pinyin uses all of the letters in our alphabet except v, and adds the letter u. The spellings of some of the consonant sounds are rather arbitrary from our point of view, but for every consonant sound there is only one letter or one combination of letters, and vice versa. You will find that each vowel letter can stand for different vowel sounds, depending on what letters precede or follow it in the syllable. The four tones are indicated by accent marks over the vowels, and the Neutral tone by the absence of an accent mark:
One reason often given for the retention of characters is that they can he read, with the local pronunciation, hy speakers of all the Chinese languages . Probably a stronger reason for retaining them is that the characters help keep alive distinctions of meaning between words, and connections of meaning between words, which are fading in the spoken language. On the other hand, a Cantonese could learn to speak Standard Chinese, and read it alphabetically, at least as easily as he can learn several thousand characters.
Pinyin is used throughout this course to provide a simple written representation of pronunciation. The characters, which are chiefly responsible for the reputation of Chinese as a difficult language, are taught separately.
Each Chinese character is written as a fixed sequence of strokes. There are very few basic types of strokes, each with its own prescribed direction, length, and contour. The dynamics of these strokes as written with a brush, the classical writing instrument, show up clearly even in printed characters. You can tell from the varying thickness of the stroke how the brush met the paper, how it swooped, and how it lifted; these effects are largely lost in characters written with a ball-point pen.
The sequence of strokes is of particular importance. Let's take the character for "mouth," pronounced kou. Here it is as normally written, with the order and directions of the strokes indicated.
If the character is written rapidly, in "running-style writing," one stroke glides into the next, like this.
If the strokes were written in any but the proper order, quite different distortions would take place as each stroke reflected the last and anticipated the next, and the character would be illegible.
The earliest surviving Chinese characters, inscribed on the Shang Dynasty "oracle hones" of about 1500 B.C., already included characters that went beyond simple pictorial representation. There are some characters in use today which are pictorial, like the character for "mouth." There are also some which are directly symbolic, like our Roman numerals I, II, and III. (The characters for these numbers—the first numbers you learn in this course—are like the Roman numerals turned on their sides.) There are some which are indirectly symbolic, like our Arabic numerals 1, 2, and 3. But the most common type of character is complex, consisting of two parts: a "phonetic," which suggests the pronunciation, and a "radical," which broadly characterizes the meaning. Let’s take the following character as an example.
This character means "ocean" and is pronounced yang. The left side of the character, the three short strokes, is an abbreviation of a character which means "water" and is pronounced shuǐ. This is the "radical." It has been borrowed only for its meaning, "water." The right side of the character above is a character which means "sheep" and is pronounced yang. This is the "phonetic." It has been borrowed only for its sound value, yang. A speaker of Chinese encountering the above character for the first time could probably figure out that the only Chinese word that sounds like yang and means something like "water" is the word yang meaning "ocean." We, as speakers of English, might not be able to figure it out. Moreover, phonetics and radicals seldom work as neatly as in this example. But we can still learn to make good use of these hints at sound and sense.
Many dictionaries classify characters in terms of the radicals. According to one of the two dictionary systems used, there are 1?6 radicals; in the other system, there are 21U. There are over a thousand phonetics.
Chinese has traditionally been written vertically, from top to bottom of the page, starting on the right-hand side, with the pages bound so that the first page is where we would expect the last page to be. Nowadays, however, many Chinese publications paginate like Western publications, and the characters are written horizontally, from left to right.
A Chinese personal name consists of two parts: a surname and a given name. There is no middle name. The order is the reverse of ours: surname first, given name last.
The most common pattern for Chinese names is a single-syllable surname followed by a two-syllable given name:2
Mao Zédōng (Mao Tse-tung)
Zhōu Ēnlái (Chou En-lai)
Jiang Jièshí (Chiang Kai-shek)
Song Qìnglíng (Soong Ch’ing-ling—Mme Sun Yat-sen)
Song Měilíng (Soong Mei-ling—Mme Chiang Kai-shek)
It is not uncommon, however, for the given name to consist of a single syllable:
Zhu De (Chu Teh)
Lin Biāo (Lin Piao)
Hú'Shì (Hu Shih)
Jiāng Qīng (Chiang Ch’ing—Mme Mao Tse-tung)
There are a few two-syllable surnames. These are usually followed by single-syllable given names:
Sima Guāng (Ssu-ma Kuang) Ōuyáng Xiū (Ou-yang Hsiu) Zhūgě Liang (Chu-ke Liang)
But two-syllable surnames may also be followed by two-syllable given names:
Sīmǎ Xiangrú (Ssu-ma Hsiang-Ju)
An exhaustive list of Chinese surnames includes several hundred written with a single character and several dozen written with two characters. Some single-syllable surnames sound exactly alike although written with different characters, and to distinguish them, the Chinese may occasionally have to describe the character or "write" it with a finger on the palm of a hand. But the surnames that you are likely to encounter are fewer than a hundred, and a handful of these are so common that they account for a good majority of China’s population.
Given names,' as opposed to surnames, are not restricted to a limited list of characters. Men’s names are often but not always distinguishable from women’s; the difference, however, usually lies in the meaning of the characters and so is not readily apparent to the beginning student with a limited knowledge of characters.
Outside the People’s Republic the traditional system of titles is still in use. These titles closely parallel our own "Mr.," "Mrs.," and "Miss." Notice, however, that all Chinese titles follow the name—either the full name or the surname alone—rather than preceding it.
The title "Mr." is Xiānsheng.
Mǎ Xiānsheng
_Mǎ Mínglǐ Xiānsheng
The title "Mrs." is Tāitai. It follows the husband’s full name or surname alone.
Mǎ Taitai
Mǎ Mínglǐ Tāitai
The title "Miss" is Xiǎojiě. The Mǎ family’s grown daughter, Defēn, would be
Mǎ Xiǎojiě
Mǎ Defēn Xiǎojiě
Even traditionally, outside the People’s Republic, a married woman does not take her husband’s name in the same sense as in our culture. If Miss Fāng Bǎolán marries Mr. Mǎ Mínglǐ, she becomes Mrs. Mǎ Mínglǐ, but at the same time she remains Fāng Bǎolán. She does not become Mǎ Bǎolán; there is no equivalent of "Mrs. Mary Smith." She may, however, add her husband’s surname to her own full name and refer to herself as Mǎ Fāng Bǎolán. At work she is quite likely to continue as Miss Fāng.
These customs regarding names are still observed by many Chinese today in various parts of the world. The titles carry certain connotations, however, when used in the PRC today: Taitai should not be used because it designates that woman as a member of the leisure class. Xiǎojiě should not be used because it carries the connotation of being from a rich family.
In the People’s Republic, the title "Comrade," Tongzhì, is used in place of the titles Xiānsheng, Tāitai, and Xiǎojiě. Mǎ Mínglǐ would be
Mǎ Tongzhì
Mǎ Mínglǐ Tongzhì
The title "Comrade" is applied to all, regardless of sex or marital status. A married woman does not take her husband’s name in any sense. Mǎ Mínglǐ’s wife would be
Fang Tongzhì
Fang Bǎolán Tongzhì
Children may be given either the mother's or the father’s surname at birth. In some families one child has the father’s surname, and another child has the mother’s surname. Mǎ Mínglǐ’s and Fang Bǎolán’s grown daughter could be
Mǎ Tongzhì
Mǎ Defēn Tongzhì
Their grown son could be
Fang Tongzhì
Fang Zìqiáng Tongzhì
Both in the PRC and elsewhere, of course, there are official titles and titles of respect in addition to the common titles we have discussed here. Several of these will be introduced later in the course.
The question of adapting foreign names to Chinese calls for special consideration. In the People’s Republic the policy is to assign Chinese phonetic equivalents to foreign names. These approximations are often not as close phonetically as they might be, since the choice of appropriate written characters may bring in nonphonetic considerations. (An attempt is usually made when transliterating to use characters with attractive meanings.) For the most part, the resulting names do not at all resemble Chinese names. For example, the official version of "David Anderson" is Dǎiwéi Āndesēn.
An older approach, still in use outside the PRC, is to construct a valid Chinese name that suggests the foreign name phonetically. For example, "David Anderson" might be An Dàwèi.
Sometimes, when a foreign surname has the same meaning as a Chinese surname, semantic suggestiveness is chosen over phonetic suggestiveness. For example, Wang, a common Chinese surname, means "king," so "Daniel King" might be rendered Wang Dànián.
Students in this course will be given both the official PRC phonetic equivalents of their names and Chinese-style names.
The Orientation Module and associated resource modules provide the linguistic tools needed to "begin the study of Chinese. The materials also introduce the teaching procedures used in this course.
The Orientation Module is not a typical course module in several respects. First, it does not have a situational topic of its own, but rather leads into the situational topic of the following module—Biographic Information. Second, it teaches only a little Chinese grammar and vocabulary. Third, two of the associated resource modules (Pronunciation and Romanization, Numbers) are not optional; together with the Orientation Module, they are prerequisite to the rest of the course.
OBJECTIVES
Upon successful completion of this module and the two associated resource modules, the student should
1. Distinguish the sounds and tones of Chinese well enough to be able to write the Hànyǔ Pinyin romanization for a syllable after hearing the syllable.
2. , Be able to pronounce any combination of sounds found in the words of the Target Lists when given a romanized syllable to read. (Although the entire sound system of Chinese is introduced in the module, the student is responsible for producing only sounds used in the Target
; Sentences for CRN. Producing the remaining sounds is- included in the Objectives for Biographic Information.)
3» Know the names and locations of five cities and five provinces of China well enough to point out their locations on a map, and pronounce the names well enough to be understood by a Chinese.
U. Comprehend the numbers 1 through 99 well enough to write them down when dictated, and be able to say them in Chinese when given English equivalents.
5. Understand the Chinese system of using personal names, including the use of titles equivalent to "Mr.," "Mrs.," "Miss," and "Comrade."
6. Be able to ask and understand questions about where someone is from.
7. Be able to ask and understand questions about where someone is.
8. Be able to give the English equivalents for all the Chinese expressions in the Target Lists.
9. Be able to say all the Chinese expressions in the Target Lists when cued with English equivalents.
10. Be able to take part in short Chinese conversations, based on the Target Lists, about how he is, who he is, and where he is from.
TAPES FOR ORN AND ASSOCIATED RESOURCE MODULES
Orientation (ORN)
|
Unit Unit |
1: 2: |
1 2 |
C-l C-l |
1 2 |
P-1 P-1 |
1&2 D-l | |||
|
Unit |
3: |
3 |
C-l |
3 |
P-1 |
3 D-l |
3 C-2 |
3 |
P-2 |
|
Unit |
U: |
it |
C-l |
it |
P-1 |
it D-l |
It C-2 |
it |
P-2 |
Pronunciation and Romanization (P&R)
P&R 1 P&R 2 P&R 3 P&R U P&R 5 P&R 6
Numbers (NUM)
NUM 1 NUM 2 NUM 3 NUM it
Classroom Expressions (CE)
CE 1
CRN
UNIT 1 TARGET LIST
1. A: Nǐ shi shéi?
B: Wǒ shi Wang Dàniàn.
A: Wǒ shi Hu Mailing.
2. A: Nǐ xìng shénme?
B: Wǒ xìng Wang.
A: Wǒ xìng Hu.
3. A: Tā shi shéi?
B: Tā shi Mǎ Mínglī.
A: Tā shi Mǎ Xiānsheng.
B: Tā shi Mǎ Tàitai.
A: Tā shi Mǎ Xiǎojiě.
B: Tā shi Mǎ Tongzhì.
U. A: Wang Xiānsheng, tā shi shéi?
B: Tā shi Mǎ Mínglǐ Xiānsheng.
5. A: Xiānsheng, tā shi shéi?
B: Tā shi Mǎ Mínglǐ Tàitai.
6. A: Tongzhì, tā shi shéi?
B: Tā shi Fang Bǎolán Tongzhì.
Who are you?
I am Wang Dàniàn (Daniel King) I am Hu Mailing.
What is. your surname?
My surname i s Wang (King).
My surname is Hu.
Who is he/she?
He is Ma Mínglǐ.
He is Mr. Mǎ.
She is Mrs. Mǎ.
She is Miss Mǎ.
He/she is Comrade Mǎ.
Mr. Wang, who is he?
He is Mr. Ma Minglǐ.
Sir, who is she?
She is Mrs. Mǎ Mínglǐ.
Comrade, who is she?
She is Comrade Fāng Bǎolán.
UNIT 2 TARGET LIST
|
1. A: |
Nǐ shi Wang Xiānsheng ma? |
Are you Mr. Wang? |
|
B: |
Wǒ shi Wang Dàniàn. |
I am Wang Dàniàn. |
|
A: |
Wǒ bu shi Wang Xiānsheng. |
I’m not Mr. Wang. |
|
2. A: |
Nǐ xìng Wang ma? |
Is your surname Wang? |
|
B: |
Wo xìng Wang. |
My surname is Wang. |
|
A: |
Wǒ bú xìng Wang. |
My surname isn ’t Wang. |
|
3. |
A: B: |
Nín guìxìng?' Wǒ xìng Wang. |
Your surname? (POLITE) My surname is Wang. |
|
1+. |
A: |
Nǐ jiao shénme? |
What is your given name? |
|
B: |
Wo jiao Danian. |
My given name is Danian (Daniel). | |
|
5. |
A: |
Nǐ hǎo a? |
How are you? |
|
B: |
Wǒ hao. Nǐ ne? |
I’m fine. And you? | |
|
A: |
Hǎo. Xièxie. |
Fine, thank you. |
ADDITIONAL REQUIRED VOCABULARY (not presented on C-l and P-1 tapes) 6. míngzi
given name
UNIT 3 TARGET LIST
1. A: Nǐ shi Měiguo rén ma?
B: Shi.
B: Bú shi.
2. A: Nǐ shi Zhōngguo rén ma?
B: Shi, wo shi Zhōngguo rén.
B: Bú shi, wǒ hú shi Zhōngguo rén.
3. A: Nǐ shi něiguo rén?
B: Wo shi Měiguo rén.
B: Wo shi Zhōngguo rén.
B: Wǒ shi Yīngguo rén.
4. A: Nǐ shi nǎrde rén?
B: Wǒ shi Jiāzhōu rén.
B: Wǒ shi Shanghai rén.
Are you an American?
Yes (I am).
No (I’m not).
Are you Chinese?
Yes, I’m Chinese.
No, I’m not Chinese.
What’s your nationality?
I’m an American.
I’m Chinese.
I’m English.
Where are you from?
I’m a Californian.
I’m from Shanghai.
ADDITIONAL REQUIRED VOCABULARY (not presented on C-l and P-1 tapes)
|
5. Déguo |
Germany |
|
6. Eguo (Eguó) |
Russia |
|
7. Fàguó (Fǎguo) |
France |
|
8. Rìhěn |
Japan |
UNIT 4 TARGET LIST
1. A: Andésēn Xiansheng, nǐ shi nǎrde rén?
B: Wǒ shi Dézhōu rén.
A: Andésēn Fūren ne?
B: Tā yě shi Dézhōu rén.
2. A: Tā shi Yingguo rén ma?
B: Bu shi, tā hú shi Yingguo rén.
A: Tā àiren ne?
B: Tā yě hú shi Yingguo rén.
3. A: Qīngwèn, nǐ lāojiā zài nǎr?
B: Wǒ lǎojiā zài Shāndōng.
U. A: Qingdao zài zhèr ma?
B: Qingdao hú zài nàr, zài zhèr.
5- A: Nǐ àiren xiànzài zài nǎr?
B: Tā xiànzài zài Jiānádà,
Where are you from, Mr. Anderson?
I'm from Texas.
And Mrs. Anderson?
She is from Texas too.
Is he English?
No, he is not English.
And his wife?
She isn't English either.
May I ask, where is your family from?
My family is from Shāndōng.
Is Qīngdǎo here? (pointing to a map)
Qīngdǎo isn’t there; it’s here, (pointing to a map)
Where is your spouse now?
He/she is in Canada now.
ADDITIONAL REQUIRED VOCABULARY
(not presented on C-l and P-1 tapes)
6. Learn the pronunciation and location of any five cities and five provinces of China found on the maps on pages 80-81.
On a Beijing street (courtesy of Pat Fox)
UNIT 1
Topics Covered in This Unit
1. Questions and answers about full names and surnames.
2. Titles and terms of address ("Mr.," "Mrs.," etc.).
Prerequisites to the Unit (Be sure to complete these before starting the unit.)
1. Background Notes.
2. P&R 1 (Tape 1 of the resource module on Pronunciation and Romanization), the tones.
3. P&R 2 (Tape 2 of the resource module on Pronunciation and Romanization), the tones.
Materials You Will Need 1. The C-l and P-1 tapes, the Reference List and Reference Notes.
2. The drill tape (1D-1).
About the C-l and P-1 Tapes
The C-l and P-1 tapes are your introduction to the Chinese words and structures presented in each unit. The tapes give you explanations and practice on the new material. By the time you have worked through these two tapes, you will be competent in understanding and producing the expressions introduced in the unit.
With the C-l tape, you learn to understand the new words and structures. The material is presented in short conversational exchanges, first with English translations and later with pauses which allow you to translate. Try to give a complete English translation for each Chinese expression. Your goal when using the C-l tape is to learn the meanings of all the words and structures as they are used in the sentences.
With the P-1 tape, you learn to put together these sentences. You learn to pronounce each new word and use each new structure. When the recorded instructions direct you to pronounce a word or say a sentence, do so out loud. It is important for you to hear yourself speaking Chinese, so that you will know whether you are pronouncing the words correctly. Making the effort to say the expression is a big part of learning it. It is one thing to think about how a sentence should be put together or how it should sound. It is another thing to put it together that way or make it sound that way. Your goal when using the P-1 tape is to produce the Target List expressions in Chinese when given English equivalents. At the end of each P-1 tape is a review of the Target List which you can go over until you have mastered the expressions.
At times, you may feel that the material on a tape is being presented too fast. You may find that there is not enough time allowed for working out the meaning of a sentence or saying a sentence the way you want to. When this happens, stop the tape. If you want to, rewind. Use the control buttons on your machine to make the tape manageable for you and to get the most out of it.
About the Reference List and the Reference Notes
The Reference List and the Reference Notes are designed to be used before, during, or directly after work with the C-l and P-1 tapes.
The Reference List is a summary of the C-l and P-1 tapes. It contains all sentences which introduce new material, showing you both the Chinese sentences written in romanization and their English equivalents. You will find that the list is printed so that either the Chinese or the English can be covered to allow you to test yourself on comprehension, production, or romanization of the sentences.
The Reference Notes give you information about grammar, pronunciation, and cultural usage. Some of these explanations duplicate what you hear on the C-l and P-1 tapes. Other explanations contain new information.
You may use the Reference List and Reference Notes in various ways. For example, you may follow the Reference Notes as you listen to a tape, glancing at an exchange or stopping to read a comment whenever you want to. Or you may look through the Reference Notes before listening to a tape, and then use the Reference List while you listen, to help you keep track of where you are. Whichever way you decide to use these parts of a unit, remember that they are reference materials. Don’t rely on the translations and romanizations as subtitles for the C-l tape or as cue cards for the P-1 tape, for this would rob you of your chance to develop listening and responding skills.
About the Drills
The drills help you develop fluency, ease of response, and confidence. You can go through the drills on your own, with the drill tapes, and the teacher may take you through them in class as well.
Allow more than half an hour for a half-hour drill tape, since you will usually need to go over all or parts of the tape more than once to get full benefit from it.
The drills include many personal names, providing you with valuable pronunciation practice. However, if you find the names more than you can handle the first time through the tape, replace them with the pronoun tā whenever possible. Similar substitutions are often possible with place names.
Some of the drills involve sentences which you may find too long to understand or produce on your first try, and you will need to rewind for another try. Often, particularly the first time through a tape, you will find the pauses too short, and you will need to stop the tape to give yourself more time. The performance you should aim for with these tapes, however, is full comprehension and full, fluent, and accurate production while the tape rolls.
The five basic types of drills are described below.
Substitution Drills: The teacher (T) gives a pattern sentence which the student (S) repeats. Then the teacher gives a word or phrase (a cue) which the student substitutes appropriately in the original sentence. The teacher follows immediately with a new cue.
Here is an English example of a substitution drill:
T: Are you an American?
S: Are you an American?
T: (cue) English
S: Are you English?
T: (cue) French
S: Are you French?
Transformation Drills: On the basis of a model provided at the beginning of the drill, the student makes a certain change in each sentence the teacher says.
Here is an English example of a transformation drill, in which the student is changing affirmative sentences into negative ones:
T: I’m going to the bank.
S: I'm not going to the bank.
T: I’m going to the store.
S: I'm not going to the store.
Response Drills: On the basis of a model given at the beginning of the drill, the student responds to questions or remarks by the teacher as cued by the teacher.
Here is an English example of a response drill:
T: What is his name? (cue) Harris
S: His name is Harris.
T: What is her name? (cue) Noss
S: Her name is Noss.
Expansion Drills: The student adds something to a pattern sentence as cued by the teacher.
Here is an English example of an expansion drill:
T: He isn’t Chinese, (cue) Japanese
S: He isn’t Chinese. He's Japanese.
T: She isn’t German. (cue) French
S: She isn’t German. She’s French.
Combination Drills: On the basis of a model given at the beginning of the drill, the student combines two phrases or sentences given by the teacher into a single utterance.
Here is an English example of a combination drill:
T: I am reading a book. John gave me the book.
S: I am reading a book which John gave me.
T: Mary bought a picture. I like the picture.
S: Mary bought a picture which I like.
|
1. |
A: B: |
Nǐ shi shéi? Wǒ shi Wang Dāniān. |
Who are you? I am Wang Dànián. |
|
2. |
A: |
Nǐ shi shéi? |
Who are you? |
|
B: |
Wǒ shi Hu Měilíng. |
I am Hu Měilíng. | |
|
3. |
A: |
Tā shi shéi? |
Who is he? |
|
B: |
Tā shi Ma Mínglǐ. |
He is Mǎ Mínglǐ. | |
|
It. |
A: |
Tā shi Mā Mínglǐ. |
He is Mǎ Mínglǐ. |
|
B: |
Tā shi Hu Měilíng. |
She is Hu Měilíng. | |
|
5. |
A: |
Nǐ xìng shénme? |
What is your surname? |
|
B: |
Wǒ xìng Wang. |
My surname is Wang. | |
|
6. |
A: |
Tā xìng shénme? |
What is his surname? |
|
B: |
Tā xìng Ma. |
His surname is Mǎ. | |
|
7. |
A: |
Tā shi shéi? |
Who is he? |
|
B: |
Tā shi Mǎ Xiānsheng. |
He is Mr. Mǎ. | |
|
8. |
A: |
Tā shi shéi? |
Who is he? |
|
B: |
Tā shi Mǎ Mínglǐ Xiānsheng. |
He is Mr. Mǎ Mínglǐ. | |
|
9. |
A: |
Wang Xiānsheng, tā shi shéi? |
Mr. Wang, who is he? |
|
B: |
Tā shi Mǎ Mínglǐ Xiānsheng. |
He is Mr. Mǎ Mínglǐ. | |
|
10. |
A: |
Xiānsheng, tā shi shéi? |
Sir, who is he? |
|
B: |
Tā shi Mǎ Xiānsheng. |
He is Mr. Mǎ. | |
|
11. |
A: |
Xiānsheng, tā shi shéi? |
Sir, who is she? |
|
B: |
Tā shi Mǎ Tāitai. |
She is Mrs. Mǎ. | |
|
12. |
A: |
Wang Xiānsheng, tā shi shéi? |
Mr. Wáng, who is she? |
|
B: |
Tā shi MS Mínglǐ Tāitai. |
She is Mrs. Mǎ Mínglǐ. | |
|
13. |
A: |
Wang Xiānsheng, tā shi shéi? |
Mr. Wang, who is she? |
|
B: |
Tā shi Mǎ Xiǎojiě. |
She is Miss Mǎ. | |
|
1U. |
A: |
Ta/shi shéi? |
Who is he? |
|
B: |
Tā shi Mǎ Mínglǐ Tongzhì. |
He is Comrade Mǎ Mínglǐ. |
15. A: Tongzhì, tā shi shéi?
B: Tā shi Fāng Bǎolán.
16. A: Tongzhì, tā shi shéi?
B: Tā shi Fāng Bǎolán.Tongzhì.
Comrade, who is she?
She is Fāng Bǎolán.
Comrade, who is she?
She is Comrade Fāng Bǎolán
nǐ
shéi
shénme
shi
tā
tàitai
tongzhì
wo
xiānsheng
xiǎojie (xiáojie) xìng
you
who what to he
he, she Mrs.
Comrade
I
Mr.; sir Miss to he surnamed
|
1. |
A: B: |
Nǐ shi shéi? Wǒ shi Wang Dàniān. |
Who are you? I am Wang Dàniān. |
|
2. |
A: |
Nǐ shi shéi? |
Who are you? |
|
B: |
Wo shi Hu Měilíng. |
I am Hú Měilíng. | |
|
3. |
A: |
Tā shi shéi? |
Who is he? |
|
B: |
Tā shi Mǎ Mínglǐ. |
He is Mǎ Mínglǐ. | |
|
U. |
A: |
Tā shi Mǎ Mínglǐ. |
He is Mǎ Mínglǐ. |
|
B: |
Tā shi Hu Měilíng. |
She is Hú Měilíng. |
Notes on Nos. 1-U
The verb shi means "to he" in the sense of "to he someone or something," as in "I am Daniel King." It expresses identity, (in Unit U you will learn a verb which means "to he" in another sense, "to he somewhere," as in "I am in Beijing." That verh expresses location.) The verh shi is in the Neutral tone (with no accent mark) except when emphasized.
Unlike verbs in European languages, Chinese verbs do not distinguish first, second, and third persons. A single form serves for all three persons.
|
Wǒ |
shi |
Wang Dàniān. |
(I am Wang Dàniān.) |
|
Nǐ |
shi |
Hú Měilíng. |
(You are HÚ Měilíng.) |
|
Tā |
shi |
Mǎ Mínglǐ. |
(He is Mǎ Mínglǐ.) |
Later you will find that Chinese verbs do not distinguish singular and plural, either, and that they dò not distinguish past, present, and future as such. You need to learn only one form for each verb.
The pronoun tā is equivalent to both "he" and "she."
The question Nǐ shi shéi? is actually too direct for most situations, although it is all right from teacher to student or from student to student. (A more polite question is introduced in Unit 2.)
Unlike English, Chinese uses the same word order in questions as in statements.
|
Tā |
shi |
shéi? |
(Who is he?) |
|
Tā |
shi |
Mǎ Mínglǐ? |
(He is Mǎ Mínglǐ.) |
When you answer a question containing a question word like shei, "who," simply replace the question word with the information it asks for.
5. A: Nǐ xìng shénme?
B: Wǒ xìng Wang.
6. a: Tā xìng shénme?
B: Tā xìng Ma.
What is your surname? My surname is Wang.
What is his surname? His surname is Mǎ.
■Notes on Nos, 5-6
Xìng is a verb, "to be surnamed." It is in the same position in the sentence as shi, "to be."
|
Wǒ |
shi |
Wang Banian. |
|
(I |
am |
Wang Danian.) |
|
Wǒ |
xìng. |
Wang. |
|
(I |
am surnamed |
Wang.) |
Notice that the question word shénme, "what," takes the same position as the question word shéi, "who."
|
Nǐ |
shi |
shéi? |
|
(You |
are |
who?) |
|
Nǐ |
xìng |
shénme? |
|
(You |
are surnamed |
what?) ..........- |
Shénme is the official spelling. However, the word is pronounced as if it were spelled shérnma, or even shéma (often with a single rise in pitch extending over both syllables). Before another word which begins with a consonant sound, it is usually pronounced as if it were spelled shém.
|
7. |
A: B: |
Tā shi shéi? Tā shi Mǎ Xiānsheng. |
Who is he? He is Mr. Mǎ. |
|
8. |
A: |
Tā shi shéi? |
Who is he? |
|
B: |
Tā shi Mǎ Mínglǐ Xiānsheng. |
He is Mr. Ma Minglí. |
Notes on Nos. 7-8
After the verb shi you may have the full name alone, the surname plus title, or the full name plus title.
|
Tā |
shi |
Mǎ |
Mínglǐ. | |
|
Tā |
shi |
Mǎ |
Xiānsheng. | |
|
Tā |
shi |
Mǎ |
Mínglǐ |
Xiānsheng. |
Xiānsheng, literally "first-born," has more of a connotation of respectfulness than "Mr." Xiānsheng is usually applied only to people other than oneself. Do not use the title Xiānsheng (or any other respectful title, such as Jiàoshòu, "Professor") when giving your own name. If you want to say "I am Mr. Jones," you may say Wǒ xìng Jones.
When a name and title are said together, logically enough it is the name which gets the heavy stress: WANG Xiānsheng. You will often hear the title pronounced with no full tones: WĀNG Xiansheng.
9. A: Wang Xiansheng, ta shi shéi?
Mr. Wang, who is he? He is Mr. Mǎ Mínglǐ.
Sir, who is he?
He is Mr. Ma.
B: Tā shi Mǎ Mínglǐ Xiānsheng.
10. A: Xiānsheng, tā shi shéi?
B: Tā shi Mǎ Xiānsheng.
|
11. |
A: B: |
Xiānsheng, tā shi shéi? Tā shi Mǎ Taitai. |
Sir, who is she? She is Mrs. Mǎ. |
|
12. |
A: |
Wang Xiānsheng, tā shi shéi? |
Mr. Wang, who is she? |
|
B: |
Tā shi Mǎ Mínglǐ Taitai. |
She is Mrs. MS Mínglǐ |
Note on Nos. 9-12
When you address someone directly, use either the name plus the title or the title alone. Xiānsheng must he translated as "sir" when it is used alone, since "Mr." would not capture its respectful tone. (Taitai, however, is less respectful when used alone. You should address Mrs. Mǎ as Mǎ Taitai.)
|
13. |
A: B: |
Wang Xiānsheng, tā shi shéi? Tā shi Mǎ Xiǎojiě. |
Mr. Wang, who is she? She is Miss Mǎ. |
|
1U. |
A: |
Tā shi shéi? |
Who is he? |
|
B: |
Tā shi Mǎ Mínglǐ Tongzhì. |
He is Comrade Mǎ Mínglǐ. | |
|
15. |
A: |
Tongzhì, tā shi shéi? |
Comrade, who is she? |
|
B: |
Tā shi Fāng Bǎolǎn. |
She is Fāng Bǎolān. | |
|
16. |
A: |
Tongzhì, tā shi shéi? |
Comrade, who is she? |
|
B: |
Tā shi Fāng Bǎolán Tongzhì. |
She is Comrade Fāng Baolān. |
Note on Nos. 13-16
See the Background Notes on Chinese Personal Names and Titles for Tongzhì, "Comrade," and the use of maiden names.
A. Substitution Drill
1. Speaker: MS Mínglǐ
2. Hu Meilíng
3. Wang Dàniàn
4. Li Shìmín
5. Liu Lìróng
6. Zhāng Bǎolán.
You: Ta shi Mǎ Mínglǐ.
(He is Ma Minglí.)
Tā shi Hu Meilíng. (She is Hu Meiling.)
Tā shi Wang Dàniàn.
(He is Wang Danian.)
Tā shi Li Shìmín.
(He is Li Shìmín.)
Tā shi Liu Lìróng.
(She is Liu Lìróng.)
Tā shi Zhāng Bǎolán.
(She is Zhāng Bǎolán.)
B. Response Drill
When the cue is given by a male speaker, male students should respond.
When the cue is given by a female speaker, female students should respond.
|
1. Speaker: Nī shi shéi? |
You: Wǒ |
shi Wáng Dàniàn |
|
(cue) Wáng Dàniàn |
(I |
am Wang Daniàn. |
|
(Who are you?) | ||
|
OR Nī shi shéi? |
Wǒ |
shi Hu Meilíng. |
|
(cue) Hu Meilíng |
(I |
am Hu Meilíng.) |
|
(Who are you?) |
|
2. |
Nī shi shéi? (Who are you?) |
Liu Shìmín |
Wǒ shi Liu Shìmín. (I am Liu Shìmín.) |
|
3. |
Nī shi shéi? (Who are you?) |
Chén Huìrán |
Wǒ shi Chén Huìrán. (I am Chén Huìrán.) |
|
U. |
Nī shi shéi? (Who are you?) |
Huáng Déxián |
Wǒ shi Huáng Déxián. (I am Huáng Déxián.) |
|
5. |
Nī shi shéi? (Who are you?) |
Zhào Wǎnrú |
Wǒ shi Zhào Wǎnrú. (I am Zhào Wǎnrú.) |
6. Nǐ shi shéi?
(Who are you?)
7. Nǐ shi shéi?
(Who are you?)
Jiang Bǐngyíng
Gāo Yǒngpíng
Wǒ shi Jiang Bǐngyíng. (I am Jiang Bǐngyíng.)
Wǒ shi Gāo Yǒngpíng.
(I am Gāo Yǒngpíng.)
C. Response Drill
1. Speaker: Tā shi shéi?
(cue) Mǎ Xiānsheng
(Who is he?)
2. Tā shi shéi? Hu Taitai
(Who is she?)
You: Tā shi Mǎ Xiansheng. (He is Mr. Mǎ.)
|
3. |
Tā shi shéi? (Who is he?) |
Mao Xiānsheng |
|
U. |
Tā shi shéi? (Who is he?) |
Zhāng Tongzhì |
|
5. |
Tā shi shéi? (Who is she?) |
Liu Xiǎojiě |
|
6. |
Tā shi shéi? (Who is he?) |
Mǎ Xiānsheng |
|
7. |
Tā shi shéi? (Who is she?) |
Zhao Taitai |
Tā shi Hu Taitai.
(She is Mrs. Hu. )
Tā shi Mao Xiānsheng.
(He is Mr. Mao.)
Tā shi Zhāng Tongzhì.
(He is Comrade Zhāng.)
Tā shi Liu Xiǎojiě. (She is Miss Liu.)
Tā shi Mǎ Xiānsheng.
(He is Mr. Ma.)
Tā shi Zhao Taitai.
(She is Mrs. Zhao.)
UNIT 2
Topics Covered, in This Unit
1. Questions and. answers about given names.
2. Yes/no questions.
3. Negative statements.
U. Greetings.
Prerequisites to the Unit
1. P&R 3 and. P&R 1 (Tapes 3 and. 1 of the resource module on Pronunciation and Romanization).
Materials You Will Need
1. The C-l and P-1 tapes, the Reference List and Reference Notes.
2. The 2D-1 tape.
|
1. |
A: B: |
Tā shi Wang Taitai ma? Tā shi Wang Taitai. |
Is she Mrs. Wang? She is Mrs. Wang. |
|
2. |
A: |
Nǐ shi Wang Xiānsheng ma? |
Are you Mr. Wang? |
|
B: |
Wǒ shi Wang Dàniān. |
I am Wang Daniān. | |
|
3. |
A: |
Nǐ shi Mǎ Xiānsheng ma? |
Are you Mr. Ma? |
|
B: |
Wǒ shi Wang Dàniān. |
I am Wāng Daniān. | |
|
U. |
A: |
Nǐ shi Mǎ Xiānsheng ma? |
Are you Mr. Ma? |
|
B: |
Wǒ hú shi Mǎ Xiānsheng. |
I’m not Mr. Mǎ. | |
|
5. |
A: |
Wǒ shi Wāng Dàniān. |
I am Wāng Daniān. |
|
B: |
Wǒ hú shi Wāng Dàniān. |
I’m not Wāng Dàniān. | |
|
6. |
A: |
Nǐ xìng Fāng ma? |
Is your surname Fāng? |
|
B: |
Wǒ hú xìng Fāng. |
My surname isn't Fāng. | |
|
7. |
A: |
Wǒ xìng Wāng. |
My surname is Wāng. |
|
B: |
Wǒ hú xìng Wāng. |
My surname isn’t Wāng. | |
|
8. |
A: |
Nǐ xìng Mǎ ma? |
Is your surname Mǎ? |
|
B: |
Bú xìng Mǎ. Xìng Wāng. |
My surname isn’t Mǎ. It’s Wāng. | |
|
9. |
A: |
Nín guìxìng? |
Your surname? (POLITE) |
|
B: |
Wǒ xìng Wang. |
My surname is Wāng. | |
|
10. |
A: |
Nǐ jiào shénme? |
What is your given name? |
|
B: |
Wǒ jiào Dàniān. |
My given name is Daniān. | |
|
11. |
A: |
Nǐ hǎo a? |
How are you? |
|
B: |
Wǒ hǎo. |
I’m fine. | |
|
12. |
A: |
Nǐ hǎo a? |
How are you? |
|
B: |
Wǒ hǎo. Nǐ ne? |
I’a fine. And you? | |
|
A: |
Hǎo, xièxie. |
Fine, thanks. |
ADDITIONAL REQUIRED VOCABULARY (not presented on C-l and P-1 tapes) 13. míngzi
given name
a
bù/bú bú shi
guìxìng
hǎo
jiao
ma míngzi
ne
xièxie
(question marker)
not not to be
(honorable) surname
to be fine, to be well
to be called
(question marker) given name
(question marker)
thank you
|
1. |
A: B: |
Tā shi Wang Taitai ma? Tā shi Wang Taitai. |
Is she Mrs. Wang? She is Mrs. Wáng. |
|
2. |
A: |
Nǐ shi Wáng Xiānsheng ma? |
Are you Mr. Wang? |
|
B: |
Wo shi Wáng Dànián. |
I am Wáng Dànián. | |
|
3. |
A: |
Nǐ shi Mǎ Xiānsheng ma? |
Are you Mr. Mǎ? |
|
B: |
Wǒ shi Wáng Dànián. |
I am Wáng Dànián. |
Notes cn Nos. 1-3
rhe marker ma may he added to any statement to turn it into a question which may be answered "yes” or "no."
|
Tā |
shi |
Wáng Tàitai. |
(She is Mrs. Wang.) | |
|
Tā |
shi |
Wáng Tàitai |
ma? |
(Is she Mrs. Wáng?) |
The reply to a yes/no question is commonly a complete affirmative or negative statement, although, as you will see later, the statement may be stripped down considerably.
|
U. A: B: |
Nǐ shi Mǎ Xiānsheng ma? Wǒ bú shi Mǎ Xiānsheng. |
|
5. A: |
Wǒ shi Wáng Dànián. |
|
B: |
Wǒ bú shi Wáng Dànián. |
Are you Mr. Mǎ?
I’m not Mr. Mǎ.
I am Wang Danián.
I’m not Wang Dànián.
Notes on Nos. H-5
The negative of the verb shi, "to be," is bú shi, "not to be." The equivalent of "not" is the syllable bù. The tone for the syllable bu depends on the tone of the following syllable. When followed by a syllable with a High, Rising, or Low tone, a Falling tone is used (bù). When followed by a syllable with a Falling or Neutral tone, a Rising tone is used (bú).
bù fēi (not to fly) bù féi (not to "be fat) bù fěi (not to slander) bú fèi (not to waste)
Almost all of the first few verbs you learn happen to be in the Falling tone, and so take bu. But remember that bù is the basic form. That is the form the syllable takes when it stands alone as a short "no" answer—Bù— and when it is discussed, as in "Bù means ’not’."
Notice that even though shi, "to be," is usually pronounced in the Neutral tone in the phrase bú shi, the original Falling tone of shi still causes bù to be pronounced with a Rising tone: bú.
6. A: Nǐ xìng Fāng ma?
B: Wo bú xìng Fāng.
7. A: Wǒ xìng Wáng.
B: Wǒ bú xìng Wáng.
8. A: Nǐ xìng Mǎ ma?
B: Bú xìng Mǎ. Xìng Wáng.
Is your surname Fāng?
My surname isn’t Fāng.
My surname is Wáng.
My surname isn’t Wáng.
Is your surname Mǎ?
My surname isn’t Mǎ. It’s Wáng.
|
Wǒ |
shi |
Wáng Dàniàn. | ||
|
(I |
am |
Wang Daniàn.) |
|
Wǒ |
bú |
shi |
Mǎ Xiānsheng. | |
|
(I |
am |
not |
Mr. Ma.) |
Note on No. 8
It is quite common in Chinese—much commoner than in English--to omit the subject of a sentence when it is clear from the context.
9. A: Nín guìxìng?
B: Wǒ xìng Wáng.
Your surname? (POLITE) My surname is Wáng.
Notes on No. 9
Nín is the polite equivalent of nǐ, "you."
Guìxìng is a polite noun, "surname." Guì means "honorable." Xìng, which you have learned as the verb "to be surnamed," is in this case a noun, "surname."
Literally, Nín guìxìng? is "Your surname?" The implied question is understood, and the "sentence" consists of the subject alone.
10. A: Nǐ jiao shénme?
B: Wǒ Jiào Dànián.
What is your given name? My given name is Dànián.
Note on No. 10
Jiào is a verb meaning "to be called." In a discussion of personal names, we can say that it means "to be given-named."
11. A: Nǐ hǎo a? B: Wǒ hǎo.
How are you? I’m fine.
Notes on No. 11
Notice that the Low tones of wǒ and nǐ change to Rising tones before the Low tone of hǎo: Ní hǎo a? Wo hǎo.
Hǎo is a verb—"to be good," "to be well," "to be fine." Since it functions like the verb "to be" plus an adjective in English, we will call it an adjectival verb.
|
Wǒ |
hǎo. |
|
(I |
am fine.) |
|
Nǐ |
hǎo |
a? |
|
(You |
are fine |
?) |
12. A:
B:
A:
Nǐ hǎo a?
Wǒ hǎo. Nǐ ne?
Hǎo, xièxie.
How are you?
I’m fine. And you?
Fine, thanks.
Notes on No. 12
The marker ne makes a question out of the single word nǐ, "you": "And you?" or "How about you?"
Xiè is the verb "to thank." "I thank you" would be Wǒ xièxie nǐ. Xièxie is often repeated: Xièxie, xièxie.
13. míngzi given name
Note on No. 13
One way to ask what someone’s given name is: Nǐ jiào shénme míngzi?
A. Transformation Drill
1. Speaker: Tā shi Wáng Xiānsheng. (He is Mr. Wáng.)
2. Tā shi Hú Tàitai.
(She is Mrs. HÚ.)
3. Tā shi Liu Tongzhì.
(He is Comrade Liú.)
1. Tā shi Zhāng Xiǎojiě.
(She is Miss Zhāng.)
5. Tā shi Mǎ Xiānsheng.
(He is Mr. Mǎ.)
6. Tā shi Fāng Xiǎojiě.
(She is Miss Fāng.)
7. Tā shi Lin Tongzhì.
(He is Comrade Lin.)
You: Tā shi Wáng Xiānsheng ma? (is he Mr. Wáng?)
Tā shi Hu Tàitai ma?
(is she Mrs. Hú?)
Tā shi Liú Tongzhì ma?
(Is he Comrade Liú?)
Tā shi Zhāng Xiǎojiě ma?
(Is she Miss Zhāng?)
Tā shi Mǎ Xiānsheng ma?
(Is he Mr. Mǎ?)
Tā shi Fāng Xiǎojiě ma?
(is she Miss Fāng?)
Tā shi Lin Tongzhì ma?
(Is he Comrade Lín?)
B. Response Drill
|
1. |
Speaker: Tā shi Wáng Xiānsheng ma? (Is he Mr. Wáng?) |
You: |
Shi. Tā shi Wáng Xiānsheng. (Yes. He is Mr. Wáng.) |
|
2. |
Tā shi Zhào Tàitai ma? (Is she Mrs. Zhào?) |
Shi. (Yes. |
Tā shi Zhào Tàitai. She is Mrs. Zhào.) |
|
3. |
Tā shi Chén Tongzhì ma? (Is she Comrade Chén?) |
Shi. (Yes. |
Tā shi Chén Tongzhì. She is Comrade Chén.) |
|
U. |
Tā shi Liú Xiǎojiě ma? (Is she Miss Liú?) |
Shi. (Yes. |
Tā shi Liú Xiǎojiě. She is Miss Liú.) |
|
5. |
Tā shi Song Xiānsheng ma? (is he Mr. Song?) |
Shi. (Yes. |
Tā shi Song Xiānsheng. He is Mr. Song.) |
|
6. |
Tā shi Sun Tàitai ma? (is she Mrs. Sūn?) |
Shi. (Yes. |
Tā shi Sūn Tàitai. She is Mrs. Sūn.) |
|
7. |
Tā shi Zhāng Xiānsheng ma? (is he Mr. Zhāng?) |
Shi. (Yes. |
Tā shi Zhāng Xiānsheng. He is Mr. Zhāng.) |
C. Response Drill
All of your answers will be negative. Give the correct name according to the cue.
1. Speaker: Tā shi Wang Xiānsheng ma? You: Bu shi. Tā shi Liu Xiānsheng. (cue) Liu (No. He is Mr. Liu.)
(is he Mr. Wang?)
|
2. |
Tā shi Gāo Xiǎojiě ma? (is she Miss Gāo?) |
Zhāo |
Bú shi. Tā shi Zhào Xiǎojiě. |
|
(No. She is Miss Zhāo.) | |||
|
3. |
Tā shi Huang Tongzhì ma? (Is she Comrade Huang?) |
Wang |
Bú shi. Tā shi Wang Tongzhì. (No. She is Comrade Wāng.) |
|
U. |
Tā shi Yang Tāitai ma? (Is she Mrs. Yang?) |
Jiǎng |
Bú shi. Tā shi Jiǎng Tāitai. (No. She is Mrs. Jiǎng.) |
|
5. |
Tā shi Mǎ Xiānsheng ma? (Is he Mr. Ma?) |
Mao |
Bú shi, Tā shi Mao Xiānsheng. (No. He is Mr. Mao.) |
|
6. |
Tā shi Zhōu Xiǎojiě ma? (is she Miss Zhōu?) |
Zhāo |
Bú shi. Tā shi Zhāo Xiǎojiě. (No. She is Miss Zhào.) |
|
7. |
Tā shi Jiāng Xiānsheng ma? Jiǎng |
Bú shi. Tā shi Jiǎng Xiānsheng (No. He is Mr. Jiǎng.) |
(Is he Mr. Jiāng?)
D. Response Drill
This drill is a combination of the two previous drills. Give an affirmative or a negative answer according to the cue.
1. Speaker: Ta shi Liu Taitai ma? (cue) Liu
(Is she Mrs. Liu?)
OR Tā shi Liu Taitai ma?
Huang
(is she Mrs. Liu?)
2. Tā shi Wang Xiānsheng ma? Wang (is he Mr. Wang?)
3. Tā shi Gāo Taitai ma? Zhao
(is she Mrs. Gāo?)
U. Tā shi Tang Xiǎojiě ma? Tang (is she Miss Tang?)
You: Shi. Tā shi Liu Taitai.
(Yes. She is Mrs. Liu.)
Bú shi. Tā shi Huang Tāitai.
(No. She is Mrs. Huang.)
Shi. Tā shi Wang Xiānsheng. (Yes. He is Mr. Wāng.)
Bú shi. Tā shi Zhao Tāitai.
(No. She is Mrs. Zhāo.)
Shi. Tā shi Tǎng Xiǎojiě.
(Yes. She is Miss Tang.)
5. Tā shi Huang Xiānsheng ma?
Wang
(is he Mr. Huang?)
6. Tā shi Zhāng Tàitai ma? Jiāng (Is she Mrs. Zhāng?)
E. Transformation Drill
1. Speaker: Nǐ shi Zhāng Xiānsheng ma?
(Are you Mr. Zhāng?)
2. Nǐ shi Zhào Tàitai ma?
(Are you Mrs. Zhào?)
3. Nǐ shi Jiāng Xiāojiě ma?
(Are you Miss Jiāng?)
U. Nǐ shi Liú Tongzhì ma?
(Are you Comrade Liú?)
5. , Nǐ shi Song Tàitai ma?
(Are you Mrs. Song?)
6. Nǐ shi Lǐ Xiānsheng ma?
(Are you Mr. Lī?)
7. Nǐ shi Sun Tongzhì ma?
(Are you Comrade Sun?)
Bu shi. Tā shi Wáng Xiānsheng. (No. He is Mr. Wáng.)
Bu.shi. Tā shi Jiāng Tàitai. (No. She is Mrs. Jiāng.)
You: Nǐ xìng Zhāng ma?
(is your surname Zhāng?)
Nǐ xìng Zhào ma?
(is your surname Zhào?)
Nǐ xìng Jiāng ma?
(is your surname Jiāng?)
Nǐ xìng Liú ma?
(Is your surname Liú?)
Nǐ xìng Song ma?
(is your surname Song?)
Nǐ xìng Lǐ ma?
(is your surname Lǐ?)
Nǐ xìng Sun ma?
(is your surname Sun?)
F. Transformation Drill
1. Speaker: Wǒ xìng Zhāng.
(My surname is Zhāng.)
2. Wǒ xìng Chen.
3. Wǒ xìng Huáng.
U. Wǒ xìng Gāo.
5. Wǒ xìng Sūn.
You: Wǒ tú xìng Zhang.
(My surname is not Zhāng.)
Wǒ bú xìng Chen.
Wo bú xìng Huáng.
Wǒ bú xìng Gāo.
Wǒ bú xìng Sūn.
6. Wǒ xìng Zhāng.
7. Wǒ xìng Zhōu.
Wǒ bú xìng Zhāng.
Wǒ bú xìng Zhōu.
G. Transformation Drill
You: Wǒ bú xìng Lǐ.
(My surname is not Lǐ.)
1. Speaker: Wǒ bú shi Lǐ Xiānsheng. (I am not Mr. Lǐ.)
|
2. |
Wǒ bú shi |
Wáng Tàitai. |
Wǒ bú xìng |
Wáng. |
|
3. |
Wǒ bú shi |
Chén Xiānsheng. |
Wǒ bú xìng |
Chén. |
|
4. |
Wǒ bú shi |
Lin Tongzhì. |
Wǒ bú xìng |
Lin. |
|
5. |
Wǒ bú shi |
Zhōu Xiāojiě. |
Wǒ bú xìng |
Zhōu. |
|
6. |
Wǒ bú shi |
Jiang Xiānsheng. |
Wǒ bú xìng |
Jiang. |
|
7. |
Wǒ bú shi |
Song Tàitai. |
Wǒ bú xìng |
Song. |
|
H. |
Expansion Drill | ||
|
1- |
Speaker: ' |
rā bú shi Wáng Xiānsheng. (cue) Huáng (He is not Mr. Wáng.) |
You: Tā bú shi Wáng Xiānsheng, tā xìng Huáng. (He is not Mr. Wáng; his surname is Huáng.) |
|
2. |
Tā bú shi |
Jiang Tàitai. Jiāng |
Tā bú shi Jiāng Tàitai, tā xìng Jiāng. |
|
3. |
Tā bú shi |
Liú Tongzhì. Lin |
Tā bú shi Liú Tongzhì, tā xìng Lin. |
|
u. |
Tā bú shi |
Song Xiāojié. Sūn |
Tā bú shi Song Xiāojiě, tā xìng Sūn. |
|
5. |
Tā bú shi Zhōu |
Zhào Xiānsheng. |
Tā bú shi Zhào Xiānsheng, tā xìng Zhōu. |
|
6. |
Tā bú shi Zhāng. |
Jiāng Tongzhì. |
Tā bú shi Jiāng Tongzhì, tā xìng Zhāng. |
|
7. |
Tā bú shi |
Sūn Tàitai. Song |
Tā bú shi Sūn Tàitai, tā xìng Song. |
I. Expansion Drill
1. Speaker: Wǒ bú xìng Fāng. You: Wǒ bú xìng Fāng, xìng Hú.
(cue) Hú (My surname is not Fang;
|
(My surn |
ame is not Fāng.) |
it’s Hú.) | |
|
2. Wǒ bú xìng |
Sūn. |
Song |
Wǒ bú xìng Sūn, xìng Song. |
|
3. Wǒ bú xìng |
Yang. |
Tang |
Wǒ bú xìng Yang, xìng Tang. |
|
U. Wǒ bú xìng |
Jiāng. |
Zhāng |
Wǒ bú xìng Jiāng, xìng Zhāng. |
|
5. Wǒ bú xìng |
Zhōu. |
Zhào |
Wǒ bú xìng Zhōu, xìng Zhào. |
|
6. Wǒ bú xìng Wang. |
Huáng |
Wǒ bú xìng Wáng, xìng Huáng. | |
|
7. Wo bú xìng Jiāng. |
Jiāng |
Wǒ bú xìng Jiāng, xìng Jiāng. | |
|
J. |
Respons |
e Drill | ||
|
1. |
Speaker |
j Tā shi Wáng Xiānsheng ma? (cue) Wáng (Is he Mr. Wáng?) |
You: Shi. Tā shi Wáng Xiānsheng. (Yes. He is Mr. Wáng.) | |
|
OR |
Tā shi Wáng Xiānsheng ma? Huáng (Is he Mr. Wang?) |
Tā bú shi Wáng Xiānsheng. Tā xìng Huáng. (He is not Mr. Wáng. His surname is Huáng.) | ||
|
2. |
Tā shi |
Liú Tàitai ma? |
Lin |
Tā bú shi Liú Tàitai. Tā xìng Lin. |
|
3. |
Tā shi |
Chen Xiāojiě ma? |
Chen |
Shi. Tā shi Chen Xiāojiě. |
|
U. |
Tā shi |
Máo Xiānsheng ma? |
Máo |
Shi. Tā shi Máo Xiānsheng. |
|
5. |
Tā shi |
Jiāng Tongzhì ma? |
Zhāng |
Tā bú shi Jiāng Tongzhì. Tā xìng Zhāng. |
|
6. |
Tā shi |
Song Tàitai ma? |
Song |
Shi. Tā shi Song Tàitai. |
|
7- |
Tā shi |
Lǐ Xiānsheng ma? |
Wáng |
Tā bú shi Li Xiānsheng. Tā xìng Wáng. |
L. Transformation Drill
|
1. |
Speaker: |
: Wo xìng Wang jiao Dàniān. (My surname is Wāng, and my given name is Dàniān.) |
You: Nǐ xìng Wāng jiào shénme? (Your surname is Wāng, and what is your given name?) Speaker: Dàniān. (Dàniān.) | |||
|
2. |
Wǒ |
xìng |
Hú jiào Měilíng. |
Nǐ |
xìng Hu jiào shénme? |
Měilíng. |
|
3. |
Wǒ |
xìng |
Li Jiao Shìyīng. |
Nǐ |
xìng Lǐ jiào shénme? |
Shìyīng. |
|
U. |
Wǒ |
xìng |
Fāng jiao Bǎolán. |
Nǐ |
xìng Fāng jiào shénme? |
Bǎolán. |
|
5- |
Wǒ |
xìng |
Sun jiào Déxián. |
Nǐ |
xìng Sun jiào shénme? |
Déxián. |
|
' 6. |
Wǒ |
xìng |
Chén jiào Huìrán. |
Nǐ |
xìng Chén jiào shénme? |
Huìrán. |
|
7. |
Wǒ |
xìng |
Zhāng jiào Zhènhàn. |
Nǐ |
xìng Zhāng jiào shénme? |
Zhènhàn. |
K. Transformation Drill
1. Speaker: Wǒ xìng Wang.
(My surname is Wang.)
Student 1: Tā xìng shénme?
(What is his surname?)
Student 2: Tā xìng Wang.
(His surname is Wang.)
2. Wǒ xìng Chen.
3. Wǒ xìng Liu.
U. Wǒ xìng Huang.
5. Wo xìng Song.
6. Wǒ xìng Lǐ.
I
7. Wǒ xìng Wang.
|
SI: S2: |
Tā xìng Tā xìng |
shénme ? Chen. |
|
SI: |
Tā xìng |
shénme? |
|
S2: |
Tā xìng |
Liu. |
|
SI: |
Tā xìng |
shénme? |
|
S2: |
Tā xìng |
Huang. |
|
SI: |
Tā xìng |
shénme ? |
|
S2: |
Tā xìng |
Song. |
|
SI: |
Tā xìng |
shénme? |
|
S2: |
Tā xìng |
Lǐ. |
|
SI: |
Tā xìng |
shénme? |
|
S2: |
Tā xìng |
Wang. |
M. Combination Drill
1. Speaker: Tā xìng Chen. Tā jiào You: Tā xìng Chen, jiào Bǎolān.
Bǎolān. (Her surname is Chén, given
(Her surname is Chén. name Bǎolān.)
Her given name is
Baolān.)
|
2. |
Tā |
xìng |
Lǐ. Tā jiào Mínglǐ. |
Tā xìng |
Lǐ, jiào Mínglǐ. |
|
3. |
Tā |
xìng |
Hú. Tā jiào Bǎolān. |
Tā xìng |
Hú, jiào Bǎolān. |
|
U. |
Tā |
xìng |
Jiāng, Tā jiào Déxiān. |
Tā xìng |
Jiāng, jiào Déxiān. |
|
5. |
Tā |
xìng |
Zhōu. Tā jiào Zǐyàn. |
Tā xìng |
Zhōu, jiào Zǐyàn. |
|
6. |
Tā |
xìng |
Zhāng. Tā jiào Tíngfēng. |
Tā xìng |
Zhāng, jiào Tíngfēng |
|
7. |
Tā |
xìng |
Chén. Tā jiào Huìrān. |
Tā xìng |
Chén, jiào Huìrān. |
UT
UNIT 3
s
Topics Covered in This Unit
1. Nationality.
2. Home state, province, and city.
Prerequisites to the Unit
1. P&R 5 and P&R 6 (Tapes 5 and 6 of the resource module on Pronunciation and Romanization).
2. NUM 1 and NUM 2 (Tapes 1 and 2 of the resource module on Numbers), the numbers from 1 to 10.
Materials You Will Need
1. The C-l and P-1 tapes, the Reference List and Reference Notes.
2. The C-2 and P-2 tapes, the Workbook.
3. The 3B-1 tape.
1. A: Nǐ shi Měiguo rén ma?
B: Wǒ shi Měiguo rén.
2. A: Nǐ shi Zhōngguo rén ma?
B: Wǒ shi Zhōngguo rén.
3. A: Wang Xiānsheng, nǐ shi Yingguo rén ma?
B: Wǒ hú shi Yingguo rén.
U. A: Nǐ shi Zhōngguo rén ma?
B. Bú shi.
A: Nǐ shi Měiguo rén ma?
B: Shi.
5. A: Mǎ Xiǎojiě shi Měiguo rén ma?
B: Bú shi, tā bú shi Měiguo rén.
A: Tā shi Zhōngguo rén ma?
B: Shi, tā shi Zhōngguo rén.
6. A: Nǐ shi něiguo rén?
B: Wǒ shi Měiguo rén.
7. A: Tā shi něiguo rén?
B: Tā shi Yingguo rén.
8. A: Nǐ shi nǎrde rén?
B: Wǒ shi Shànghǎi rén.
9. A: Tā shi Fāng Bǎolánde
xiānsheng.
10. A: Tā shi nǎrde rén?
B: Tā shi Shāndōng rén.
11. A: Nǐ shi nǎrde rén?
B: Wǒ shi Jiāzhōu rén.
Are you an American?
I’m an American.
Are you Chinese?
I’m Chinese.
Mr. Wāng, are you English?
I’m not English.
Are you Chinese?
No.
Are you an American?
Yes, I am.
Is Miss Mǎ an American?
No, she is not American.
Is she Chinese?
Yes, she is Chinese.
What is your nationality?
I’m American.
What is his nationality?
He is English.
Where are you from? I’m from Shànghǎi.
He is Fāng Bǎólān’s husband
Where is he from?
He’s from Shāndōng.
Where are you from? I’m a Californian.
|
12. |
A: |
Nī shi |
Měiguo rén ma? |
Are you an American? |
|
A: |
Nī shi |
něiguo rén? |
What’s your nationality? | |
|
A: |
Nī shi |
nǎrde rén? |
Where are you from? |
ADDITIONAL REQUIRED VOCABULARY (not presented on C-l and P-1 tapes)
|
13. |
Déguó |
Germany |
|
1U. |
Eguo (Eguo) |
Russia |
|
15. |
Fàguó (Faguó) |
France |
|
16. |
Rìběn |
Japan |
|
-de |
(possessive marker) |
|
Deguō |
Germany |
|
Eguó (Eguó) |
Russia |
|
Fàguó (Faguó) |
France |
|
-guó |
country |
|
Jiāzhōu |
California |
|
Měiguo |
America, United States |
|
nǎr |
where? |
|
něi- |
which? |
|
něiguó |
which country |
|
rén |
person |
|
Rìhěn |
Japan |
|
Shāndōng |
(a province name) |
|
Shanghai |
(a city name) |
|
Yīngguó |
England |
|
Zhōngguo |
China |
|
1. |
A: B: |
Nǐ shi Měiguo rén ma? Wǒ shi Měiguo rén. |
Are you an American? I’m an American. |
|
2. |
A: |
Nǐ shi Zhōngguo rén ma? |
Are you Chinese? |
|
B: |
Wǒ shi Zhōngguo rén. |
I’m Chinese. | |
|
3. |
A: |
Wang Xiānsheng, nǐ shi |
Mr. Wang, are you English? |
|
Yīngguo rén ma? | |||
|
B: |
Wo bú shi Yīngguo rén. |
I’m not English. |
Notes on Nos. 1-3
Ren is a noun, "person" or "persons"; so Měiguo ren is a noun phrase, literally "America person." Sometimes, however, it is preferable or necessary to translate expressions of this sort as adjectives or prepositional phrases.
|
Tā |
shi Měiguo rén. |
He |
is |
an American. (noun phrase) |
|
Tā |
shi Zhōngguo rén. |
He |
is |
Chinese. (adjective) |
|
Tā |
shi Shāndōng rén. |
He |
is |
from Shāndōng |
(prepositional phrase)
Although Měiguo ren is translated here as "an American," in other contexts it may be translated as "the American," "American," or "the Americans." Later you will learn the various ways to indicate in Chinese whether a noun is definite or indefinite, singular or plural.
The syllable -guo usually loses its tone in expressions like Měiguo ren. (Some speakers drop the tone when the word stands alone: Měiguo.)
|
1+. |
A: |
Nǐ shi Zhōngguo rén ma? |
Are you Chinese? |
|
B: |
Bú shi. |
No. | |
|
A: |
Nǐ shi Měiguo rén ma? |
Are you an American? | |
|
B: |
Shi. |
Yes, I am. | |
|
5- |
A: |
Mǎ Xiǎojiě shi Měiguo |
Is Miss Mǎ an American? |
|
rén ma? | |||
|
B: |
Bú shi, tā bú shi Měiguo |
No, she is not American. | |
|
rén. | |||
|
A: |
Tā shi Zhōngguo rén ma? |
Is she Chinese? | |
|
B: |
Shi, tā shi Zhōngguo rén. |
Yes, she is Chinese. |
Notes on Nos,
The short "yes" answer shi is really the verb "am" of the longer, more complete answer. The short "no" answer bú shi is really the "am not" of the longer answer.
It is possible to reduce a "no" answer to bù (note the Falling tone), but polite usage requires that you follow it up with a more complete answer. Both the short answers shi and bú shi are commonly followed by complete answers.
6. A: Nǐ shi něiguo rén?
B: Wǒ shi Měiguo rén.
7. A: Tā shi něiguo rén?
B: Tā shi Yīngguo rén.
What is your nationality? I’m American.
What is his nationality? He is English.
Notes on Nos. 6-7
Něi- is the question word "which." It is a bound word—a word which cannot stand alone—not a free word.
|
něi- |
guo |
rén |
|
(which |
country |
person) |
Notice that the syllable -guó, "country," in the phrase něiguo rén may lose its Rising tone.
|
8. |
A: B: |
Nī shi nǎrde rén? Wǒ shi Shanghai rén. |
Where are you from? I’m from Shānghǎi. |
|
9. |
A: |
Tā shi Fāng Bǎolánde xiānsheng. |
He is Fāng Bǎolán*s husband. |
|
10. |
A: |
Tā shi nǎrde rén? |
Where is he from? |
|
B: |
Tā shi Shāndōng rén. |
He’s from Shāndōng. | |
|
11. |
A: |
Nī shi nǎrde rén? |
Where are you from? |
|
B: |
Wǒ shi Jiāzhōu rén. |
I’m a Californian. |
Notes on Nos. 8-11
Nǎr is the question word "where.” The syllable -de is the possessive marker; it functions like the English possessive ending -*s_.
|
nǎr |
-de |
rén |
|
(where |
’s |
person) |
By reversing the word order, a slightly more idiomatic translation is possible: "a person of where." The closest English equivalent is "a person from where." To clarify the role of -de in this expression, the tape gives the following example of -de functioning like the English possessive ending -’s:
|
Fāng Bǎolán |
-de |
xiānsheng |
|
(Fāng Bǎolán |
’s |
husband) |
|
12. |
A: |
Nǐ shi |
Měiguo rén ma? |
Are you an American? |
|
A: |
Nǐ shi |
něiguo rén? |
What’s your nationality? | |
|
A: |
Nǐ shi |
nǎrde rén? |
Where are you from? |
A. Response Drill
All responses will be affirmative.
1. Speaker: Tā shi Zhōngguo rén ma? You: Tā shi Zhōngguo rén. (is he Chinese?) (He is Chinese.)
B. Response Drill
1. Speaker: Tā shi Jiānádà rén ma? (cue) Yīngguo
(Is he a Canadian?)
2. Tā shi Rìběn rén ma?
Zhōngguo
3- Tā shi Yīngguo rén ma?
Méiguo
U. Tā shi Méiguo rén ma?
Jiānádà
5. Tā shi Èguo rén ma?
Déguo
6. Tā shi Yuènán rén ma? Zhōnggué
7. Tā shi Fàguo rén ma?
Yīngguo
You: Tā bú shi Jiānádà rén. Shi Yīngguo rén.
(He is not Canadian. He is English.)
|
Tā bú shi Rìběn rén. |
Shi Zhōngguo |
|
rén. | |
|
Tā bú shi Yīngguo rén |
Shi Méiguo |
|
rén. | |
|
Tā bú shi Méiguo rén. |
Shi Jiānádà |
|
rén. | |
|
Tā bú shi Eguo rén. |
Shi Déguo rén |
Tā bú shi Yuènán rén. Shi Zhōngguo rén.
Tā bú shi Fàguo rén. Shi Yīngguo rén.
|
2. |
Tā shi |
Rìběn rén ma? |
Tā shi Rìběn rén. |
|
3. |
Tā shi |
Zhōngguo rén ma? |
Tā shi Zhōngguo rén. |
|
U. |
Tā shi |
Méiguo rén ma? |
Tā shi Méiguo rén. |
|
5. |
Tā shi |
Déguo rén ma? |
Tā shi Déguo rén. |
|
6. |
Tā shi |
Jiānádà rén ma? |
Tā shi Jiānádà rén. |
|
7. |
Tā shi |
Fàguo rén ma? |
Tā shi Fàguo rén. |
C. Response Drill
|
1. |
Speaker: Tā shi něiguc |
) rén? |
You: Tā shi Fàguo rén. |
|
2. |
(cue) Fàguó (What is his nationality?) Tā shi něiguo rén? Zhōngguo |
(He is French.) Tā shi Zhōngguo rén. | |
|
3. |
Tā shi něiguo rén? |
Měigué |
Tā shi Měiguo rén. |
|
U. |
Tā shi něiguo rén? |
J iānādà |
Tā shi Jiānádà rén. |
|
5. |
Tā shi něiguo rén? |
Rìhěn |
Tā shi Rìhěn rén. |
|
6. |
Tā shi něiguo rén? |
Eguo |
Tā shi Eguo rén. |
|
7- |
Tā s’.ii něiguo rén? |
Déguó |
Tā shi Déguo rén. |
D. Response Drill
1. Speaker: Tā shi nǎrde rén?
(cue) Beijing (Where is he from?)
You: Ta shi Beijing rén.
(He is from Beijing.)
|
2. |
Tā |
shi |
nǎrde |
rén? |
Shànghǎi |
Tā |
shi |
Shànghǎi rén. |
|
3. |
Tā |
shi |
nǎrde |
rén? |
Chángshā |
Tā |
shi |
Changshā rén. |
|
4. |
Tā |
shi |
nǎrde |
rén? |
Tāizhōng |
Tā |
shi |
Tāizhōng rén. |
|
5. |
Tā |
shi |
nǎrde |
rén? |
Tāihěi |
Tā |
shi |
Tāiběi rén. |
|
6. |
Tā |
shi |
nǎrde |
rén? |
Tiānjíng |
Tā |
shi |
Tiānjíng rén. |
|
7- |
Tā |
shi |
nǎrde |
rén? |
Běijīng |
Tā |
shi |
Běijīng rén. |
2. Tā shi Jiānádà rén.
3. Tā shi Táiběi rén.
U. Tā shi Shanghai rén.
5. Tā shi Yīngguo rén.
6. Tā shi Měiguo rén.
7. Tā shi Taizhōng rén.
Tā shi něiguo rén?
Tā shi nǎrde rén?
Tā shi nǎrde rén?
Tā shi něiguo rén?
Tā shi něiguo rén?
Tā shi nǎrde rén?
F. Transformation Drill
1. Speaker: Tā shi Lǐ Tàitai. (She is Mrs. Lǐ.)
2. Tā xìng Gāo.
3. Tā shi Tāihěi rén.
If. Tā xìng Liú.
5. Tā shi Měiguo rén.
6. Tā shi Jiānádà rén.
You: Tā bú shi Lī Tàitai.
(She is not Mrs. Lī.)
Tā bú xìng Gāo.
Tā bú shi Taiběi rén.
Tā bú xìng Liú.
Tā bú shi Měiguo rén.
Tā bú shi Jiānádà rén.
G. Transformation Drill
Ask the appropriate ma question.
1. Speaker: Tā xìng Hú.
(His surname is Hú.)
2. Tā shi Běijīng rén.
3. Tā shi Wǎng Dànián.
U. Tā xìng Lin.
5. Tā shi Zhōngguo rén.
You: Tā xìng Hú ma?
(is his surname Hú?)
Tā shi Běijīng rén ma?
Tā shi Wáng Dànián ma?
Tā xìng Lin ma?
Tā shi Zhōngguo rén ma?
H. Transformation Drill
|
1. |
Speaker: Tā xìng Zhāng. (His surname is Zhāng.) |
You: Tā xìng (What’s |
shénme ? his surname? |
|
2. |
Tā shi Beijing rén. |
Tā shi nǎrde |
rén? |
|
3. |
Tā shi Wang Dàniàn. |
Tā shi shéi? | |
|
U. |
Tā shi Rìběn rén. |
Tā shi něiguo rén? | |
|
5. |
Tā shi Shāndōng rén. |
Tā shi nǎrde |
rén? |
|
6. |
Tā shi Chén Tongzhì. |
Tā shi shéi? | |
UNIT 4
Topics Covered in This Unit
1. Location of people and places.
2. Where people’s families are from.
Prerequisites to the Unit
1. NUM 3 and NUM H (Tapes 3 and U of the resource module on Numbers).
2. CE 1, on Classroom Expressions.
Materials You Will Need
1. The C-l and P-1 tapes, the Reference List and Reference Notes.
2. The C-2 and P-2 tapes, the Workhook.
3. The Ur-1 tape.
E. Transformation Drill
|
1. |
Speaker: |
Tā shi Běijīng rén. (He is from Běijīng. |
|
OR |
Tā shi Zhōngguo rén. (He is Chinese.) |
You: Tā shi nǎrde rén?
(Where is he from?)
Tā shi neiguo rén?
(What's his nationality?)
(in Běijīng)
1. A: Qǐngwèn, nǐ shi nǎrde rén?
B: Wo shi Dézhōu rén.
2. A: Qǐngwèn, Andésēn Fūren shi nǎrde rén?
B: Tā yě shi Dézhōu rén.
3. A: Tā shi Yingguo rén ma?
B: Bú shi, tā hú shi Yingguo rén.
A: Tā àiren ne?
B: Tā yé hú shi Yingguo rén.
U. A: Qǐngwèn, Qīngdǎo zài nǎr?
B: Qīngdǎo zài Shāndōng.
5. A: Qǐngwèn, nǐ lǎojiā zài nǎr?
B: Wǒ lǎojiā zài Āndàluè.
C: Wǒ lǎojiā zài Shāndōng.
6-. A: Chén Shìmín Tongzhì zài nǎr?
B: Tā zài nàr.
7. A: Qīngdǎo zài nǎr?
B: Zài zhèr.
8. A: Nǐ àiren xiànzài zài nǎr?
B: Wǒ àiren xiànzài zài Jiānǎdà.
May I ask, where are you from?
I’m from Texas.
May I ask, where is Mrs. Anderson from?
She is from Texas too.
Is he English?
No, he is not English.
And his wife?
She isn’t English either.
May I ask, where is Qīngdǎo?
Qīngdǎo is in Shandong-
May I ask, where is your family from?
My family is from Ontario.
My family is from Shāndōng.
Where is Comrade Chén Shìmín?
He’s there.
Where is Qīngdǎo?
It’s here.
Where is your wife now?
My wife is in Canada now.
ADDITIONAL REQUIRED VOCABULARY (not presented on C-l and P-1 tapes)
9. Learn the pronunciation and locations of any five cities and five provinces of China found on the maps on pages 80-81.
|
àiren Andàluè |
spouse Ontario |
|
Dezhōu |
Texas |
|
fūren |
Lady, Madame, Mrs wife (of a high-ranking person) |
|
Jiānádà |
Canada |
|
lǎoj iā |
’’original home” |
|
nàr (nèr) |
there |
|
Qingdao Qīngwèn . . . |
(a city name) May I ask . . . |
|
xiànzài |
now |
|
yě |
also, too, either |
|
zài zhèr |
to be in/at/on here |
1. A: Qǐngwèn, nǐ shi nǎrde rén?
B: Wǒ shi Dézhōu rén.
May I ask, where are you from? I’m from Texas.
Note on No. 1
Qǐngwèn: Literally, qǐng means ’’request,” and wen means "ask (for information).’’ Qǐngwèn is used as English speakers use "excuse me," to get someone’s attention in order to ask him a question.3
2. A: Qǐngwèn, Andésēn Fūren shi nǎrde rén?
May I ask, where is Mrs. Anderson from?
She is from Texas too.
B: Tā yě shi Dézhōu rén.
Notes on No. 2
Names: In the People’s Republic, a foreigner is known by the standard phonetic equivalent of his full name. His given name is followed by his surname, which is followed by the appropriate title. Mr. David Anderson will be called Dàiwéi Andésēn Xiānsheng. In Taiwan, there is no set way of giving names to foreigners. Sometimes, as in the PRC, a phonetic equivalent of the full name is used (though there are no standard versions). Sometimes, the equivalent is based entirely on the surname. Mr. Anderson, for instance, might be Ān Désēn Xiānsheng. The surname may also be translated, as when "King" is translated into Wang. It is also common to base the Chinese surname on the first syllable of the original surname, and the Chinese given name on something else (often the original given name). In Taiwan, Dàwèi is a common phonetic equivalent for "David." "Mr. David Anderson," therefore, might be Ān Dàwèi Xiānsheng. Here is a chart of SOME of the Chinese names that might be given to Mr. David Anderson.
PRC:
TAIWAN:
|
Dàiwéi |
Andésēn |
Xiānsheng |
|
Ān |
Désēn |
Xiānsheng |
|
Ān |
Dàwèi |
Xiānsheng |
Titles: In the PRC, a foreign man is addressed as Xiānsheng, and a married woman as either Fūren or Tàitai, depending on her status. The term fūren is an expecially respectful term used to address the wife of a high-ranking official or businessman. Fūren is also used this way on Taiwan. An unmarried foreign woman in the PRC may be addressed as Xiǎojiě, "Miss." Married or unmarried women may be addressed as Nushì, "Ms." or "Ma’am." Nushì will be introduced in BIO, Unit 1.
The term Tongzhì, "Comrade," was originally used only by members of the Communist Party to address other members. It is now the general term of address used by all Chinese adults in the PRC. It should be remembered, though, that Tongzhì does carry a distinct political implication. Visitors in the People's Republic, who are not citizens and who do not take part in efforts to realize Communist ideals, will not be addressed as Tongzhì and should not feel obliged to address anyone else as such.
Yě is an adverb meaning "also" or "too." It always comes before the verb.
3. A: Tā shi Yīngguo rén ma?
B: Bu shi, tā bú shi Yīngguo rén.
A: Tā àiren ne?
B: Tā yě bú shi Yīngguo rén.
Is he English?
No, he is not English. '
And his wife?
She isn't English either
Notes on No. 3
Àiren, which originally meant "loved one," "sweetheart," or "lover," is used in the PRC for either "husband" or "wife," i.e., for "spouse."
The possessive phrase tā àiren, "his wife" (or "her husband"), is formed by putting the words for "he" (or "she") and "spouse" together. The marker -de (which you have seen in nǎrde rén) is not needed when the possessive relationship is felt to be very close. (See also the notes on No. 5.)
Yě in a negative sentence is usually translated as "either." In this case, bù comes between yě and the verb. Possible English translations for yě, in both affirmative and negative sentences, are
Tā yě shi Yīngguo rén. She is English too.
She is also English.
Tā yě bú shi Yīngguo rén. She is not English either.
She is also not English.
U. A: Qǐngwèn, Qingdao zài nǎr?
May I ask, where is Qingdao? Qingdao is in Shāndōng.
B: Qingdao zài Shāndōng.
Note on No. U
Zài is the verb "to be in/at/on," that is, "to be somewhere." Zài involves location, while shì involves identity, "to be someone/something."
|
identity | ||
|
Wǒ (I |
shi am |
Měiguo rén. an American.) |
|
location | ||
|
Wǒ (I |
zài am in |
Zhōngguó. China.) |
5- A: Qǐngwèn, nǐ lǎojiā zài nǎr?
B: Wǒ lǎojiā zài Āndàlúè.
C: Wǒ lǎojiā zài Shāndōng.
May I ask, where is your family from?
My family is from Ontario.
My family is from Shāndōng.
Notes on No. 5
Literally, lǎojiā is "old home" ("original home," "ancestral home," "native place"), that is, the place you and your family are from. When a Chinese asks you about your lǎojiā, he probably wants to know about your hometown, the place where you grew up. When you ask a Chinese about his lǎojiā, however, he will tell you where his family came from originally. A Chinese whose grandparents came from the province of Guangdong will give that as his lǎojiā, even if he and his parents have spent all of their lives in SÌchuān.
Nǐ lǎojiā zài nǎr? (literally "Where is your original home?") asks for the LOCATION of the town you come from. The question is answered with zài plus the name of the province (or state) that the town is located in: Wǒ lǎojiā zài Dézhōu (Andàlūè, Shāndōng). Nǐ lǎojiā shi nǎr? (translated into English as "What is your original home?") asks about the IDENTITY of the town you come from. That question is answered with shi plus the name of the town (or city): Wǒ lǎojiā shi Jiùjǐnshān (Qǐngdǎo, Shànghǎi). Compare:
Wǒ lǎojiā zài Guǎngdōng. My original home is in Guangdong.
Wǒ lǎojiā shi Guǎngzhōu. My original home is Guǎngzhōu.
The possessive nǐ lǎojiā, like tā àiren, does not require a possessive marker. However, if more than one word must he used to indicate the possessor, -de is often inserted after the last word: nǐ àirende lǎojiā, "your spouse’s original home" or "where your spouse’s family comes from."
6. A: Chén Shìmín Tongzhì zài nǎr?
B: Tā zài nàr.
Where is Comrade Chén Shìmín? He’s there.
7. A: Qīngdǎo zài nǎr?
B: Zài zhèr.
8. A: Nǐ àiren xiànzài zài nǎr?
B Wǒ àiren xiànzài zài Jiānàdà.
Where is Qīngdǎo? It * s here.
Where is your wife now? My wife is in Canada now.
Notes on Nos. 6-8
You have learned three words for asking and telling about locations.
|
nǎr? |
(where?) |
|
nàr (nèr) |
(there) |
|
zhèr |
(here) |
Notice that the question word nǎr is in the Low tone, while the answer words nàr and zhèr are both in the Falling tone. Also notice that the vowel sound in zhèr is different from that in nǎr and nàr. (Some speakers prefer nèr to nàr.)
When you are talking about movable things and people that you presume are not nearby ("nearby" being approximately within pointing range), you usually ask where they are NOW. The "present time" word may be omitted if the time has been established earlier in the conversation.
Nǐ àiren xiànzài zài nǎr? Where is your wife now?
Tā zài Běijīng. She’s in Běijīng (now).
If you ask about someone or something you presume to be nearby (a pair of scissors in a drawer, for instance, or a person in a group across the room), you do not use xiànzài.
In
English, the words
"here" and "there" are used to refer to locations
of any size. In Chinese, however, zhèr and nàr are usually not used for
cities, provinces, and countries (with the exception that you may use zhèr to refer to the city you are in). Instead, you repeat the name of the place. Compare these two exchanges in Beijing:
COUNTRY: Mǎdīng Xiānsheng xiànzài zài Zhōngguo ma?
Tā xiànzài zài Zhōngguo.
(He’s here now.)
CITY: . Mǎdīng Xiānsheng xiànzài zài Shànghǎi ma?
Tā hú zài Shànghǎi; tā zài zhèr.
(He's not there; he’s here.)
Jiānādà, "Canada": Although the middle syllable of this word is marked with the Rising tone, at a normal rate of speech you will probably hear Jiānádà.
A. Response Drill
Respond, to the question "Where is he/she from?" according to the cue.
1. Speaker: Tā shi nǎrde rén?
(cue) Hunan (Where is he/she from?)
2. Tā shi nǎrde rén? Shāndōng (Where is he/she from?)
3. Tā shi nǎrde rén? Héhéi (Where is he/she from?)
U. Tā shi nǎrde rén? Jiāngsū (Where is he/she from?)
5. Tā shi nǎrde rén? Guǎngdōng (Where is he/she from?)
6. Tā shi nǎrde rén? Hubei (Where is he/she from?)
7. Tā shi nǎrde rén? Sìchuān (Where is he/she from?)
You: Tā shi Hunan rén.
(He/she is from Hunan.)
Tā shi Shāndōng rén.
(He/she is from Shāndōng.)
Tā shi Héhěi rén.
(He/she is from Hehěi.)
Tā shi Jiāngsū rén.
(He/she is from Jiāngsū.)
Tā shi Guǎngdōng rén.
(He/she is from Guǎngdōng.)
Tā shi Hubei rén.
(He/she is from Hubei.)
Tā shi Sìchuān rén.
(He/she is from Sìchuān.)
3. Transformation Drill
Ask the appropriate "where
1. Speaker: Zhāng Tongzhì Fūren shi Beijing rén.
(Comrade Zhāng’s wife is from Beijing.)
2. Huang Tongzhì Fūren shi Shanghai rén.
3. Wang Tongzhì Fūren shi Nanjing rén.
1. Li Tongzhì Fūren shi Guǎngzhōu rén.
5. Zhao Tongzhì Fūren shi Xiānggǎng rén.
question, as in the example.
You: Qǐngwèn, Zhāng Fūren shi nǎrde rén?
(May I ask, where is Mrs. Zhāng from?)
Qǐngwèn, Huang Fūren shi nǎrde rén?
Qǐngwèn, Wang Fūren shi nǎrde rén?
Qǐngwèn, Lǐ Fūren shi nǎrde rén?
Qǐngwèn, Zhao Fūren shi nǎrde rén?
6. Máo Tongzhì Furen shi Qingdao Qǐngwèn, Máo Furen shi nǎrde ren?
rén.
7. Chén Tongzhì Fūren shi Beijing Qǐngwèn, Chén Fūren shi nǎrde
rén. rén?
C. Transformation Drill
Change affirmative statements to negative statements.
(He/she is from Hebei.)
U. Tā shi Fujian rén.
D. Transformation Drill Add yě to the statements.
(He/she is from Héběi.)
U. Tā shi Hunán rén.
|
You: Ta bú shi Heběi ren. (He/she isn't from Héběi.) Tā bú shi Shāndōng rén. Tā bú shi Jiāngsū rén. Tā bú shi Fujian rén. Tā bú shi Zhèjiāng rén. Tā bú shi Hunán rén. Tā bú shi Sìchuān rén. You: Tā yě shi Héběi rén. (He/she is from Héběi too.) Tā yě shi Zhèjiāng rén. Tā yě shi Fujian rén. Tā yě shi Hunán rén. Tā yě shi Jiāngsū rén. Tā yě shi Shāndōng rén. Tā yě shi Hénán rén. |
E. Transformation Drill
Add yě to the statements.
1. Speaker: Zhào Xiānsheng hú shi Taiwan rén.
(Mr. Zhào isn’t from Taiwan.)
2. Lǐ Xiānsheng bú shi Táiběi rén. (Mr. Lǐ isn’t from Táiběi.)
3. Wāng Xiānsheng bú shi Taizhōng rén.
(Mr Wāng isn’t from Taizhōng.)
U. Huang Xiānsheng bú shi Tainan rén.
(Mr. Huang isn’t from Tainan.)
5- Liú Xiānsheng bú shi Táidōng rén.
(Mr. Liú isn’t from Táidōng.)
6. Hú Xiānsheng bú shi Jīlong rén. (Mr. Hu isn’t from Jīlong.)
7. Chén Xiānsheng bú shi Gāoxiong rén.
(Mr. Chén isn't from Gāoxiong.)
You: Zhào Xiānsheng yě bú shi Táiwān rén.
(Mr. Zhào isn't from Taiwan either.)
Lǐ Xiānsheng yě bú shi Táiběi rén.
(Mr. Lǐ isn’t from Taiběi either.)
Wáng Xiānsheng yě bú shi Tāizhōng rén.
(Mr. Wáng isn't from Tāizhōng either.)
Huang Xiānsheng yě bú shi Táinán rén.
(Mr. Huang isn’t from Tainan either.)
Liú Xiānsheng yě bú shi Táidōng rén.
(Mr. Liú isn't from Táidōng either.)
Hú Xiānsheng yě bú shi Jīlong rén. (Mr. Hu isn't from Jīlong either.)
Chén Xiānsheng yě bú shi Gāoxiong rén.
(Mr. Chén isn't from Gāoxiong either.)
F. Response Drill
1. Speaker: Mǎ Tongzhì shi Běijīng rén ma?
(Is Comrade Mǎ from Beijīng?)
You: Tā bú shi Běijīng rén.
(He/she isn't from Běijīng.)
Tā àiren ne?
(And his/her spouse?)
Tā àiren yě bú shi Běijīng rén.
(He/she isn't from Běijīng either.)
2. Zhāng Tongzhì shi Shanghai rén ma?
(is Comrade Zhāng from Shanghai?)
Tā àiren ne?
(And his/her spouse?)
3. Jiāng Tongzhì shi Nanjing rén ma? (is Comrade Jiāng from Nanjing?)
Tā àiren ne?
(And his/her spouse?)
U. Chén Tongzhì shi Guǎngzhōu rén ma?
(Is Comrade Chén from Guǎngzhōu?)
Tā àiren ne?
(And his/her spouse?)
5. Sun Tongzhì bú shi Chéngdū rén ma?
(is Comrade Sūn from Chéngdū?)
Tā àiren ne?
(And his/her spouse?)
6. Mao Tongzhì shi Qīngdǎo rén ma? (is Comrade Mao from Qīngdǎo?)
Tā àiren ne?
(And his/her spouse?)
7. Yang Tongzhì shi Beijing rén ma? (is Comrade Yang from Beijing?)
Tā àiren ne?
(And his/her spouse?)
Tā bú shi Shànghǎi rén.
(He/she isn’t from Shànghǎi.)
Tā àiren yě bú shi Shànghǎi rén (He/she isn't from Shànghǎi either.)
Tā bú shi Nanjing rén.
(He/she isn't from Nanjing.)
Tā àiren yě bú shi Nanjing rén.
(He/she isn’t from Nanjing either.)
Tā bú shi Guǎngzhōu rén.
(He/she isn’t from Guǎngzhōu.)
Tā yě bú shi Guǎngzhōu rén.
(He/she isn’t from Guǎngzhōu either.)
Tā bú shi Chéngdū rén.
(He/she isn’t from Chéngdū.)
Tā àiren yě bú shi Chéngdū rén.
(He/she isn’t from Chéngdū either.)
Tā bú shi Qīngdǎo rén.
(He/she isn’t from Qīngdǎo.)
Tā àiren yě bú shi Qīngdǎo rén.
(His/her spouse isn’t from Qīngdǎo either.)
Tā bú shi Běijīng rén.
(He/she isn’t from Beijing.)
Tā àiren yě bú shi Běijīng rén.
(His/her spouse isn’t from Běijīng either.)
G. Response Drill
1. Speaker: Qǐngwèn, Qīngdǎo zài nǎr? (cue) Shāndōng
(May I ask, where is Qīngdǎo?)
You: Qīngdǎo zài Shāndōng.
(Qīngdǎo is in Shāndōng.)
2. Qǐngwèn, Nanjing zài nǎr?
Jiāngsū
(May I ask, where is Nanjing?)
3. Qǐngwèn, Guangzhou zài nǎr?
Guangdong
(May I ask, where is Guangzhou?)
U. Qǐngwèn, Shànghǎi zài nǎr?
Jiāngsū
(May I ask, where is Shànghǎi?)
5- Qǐngwèn, Beijing zài nǎr?
Hebei
(May I ask, where is Beijing?)
6. Qīng/èn, Qīngdǎo zài nǎr?
Shāndōng
(May I ask, where is Qingdǎo?)
7. Qǐngwèn, Shànghǎi zài nǎr?
Jiāngsū
(May I ask, where is Shànghǎi?)
Nanjing zài Jiāngsū.
(Nanjing is in Jiāngsū.)
Guǎngzhōu zài Guǎngdōng.) (Guangzhou is in Guǎngdōng.)
Shànghǎi zài Jiāngsū.
(Shànghǎi is in Jiāngsū.)4
Beijing zài Héběi.
(Beijing is in Héběi.)
Qīngdǎo zài Shāndōng.
(Qingdao is in Shāndōng.)
Shànghǎi zài Jiāngsū.
(Shànghǎi is in Jiāngsū.)
(Comrade Zhōu is from Zhejiang.)
(Comrade Mao is from Hunan.) I. Response Drill
(Where is his/her spouse?)
(Where is his/her spouse?)
(Where is his/her spouse?) |
Lǐ Tongzhide lǎojiā zài Sìchuān. (Comrade Li’s family is from Sìchuān.) Zhōu Tongzhide lǎojiā zài Zhèjiāng. (Comrade Zhou’s family is from Zhèjiāng.) Mao Tongzhide lǎojiā zài Hunan. (Comrade Mao’s family is from Hunan.) You: Tā àiren xiànzài zài Měiguo. (His/her spouse is in America now.) Tā àiren xiànzài zài Jiānádà. (His/her spouse is in Canada now.) Tā àiren xiànzài zài Yingguo. (His/her spouse is in England now.) Tā àiren xiànzài zài Déguó. (His/her spouse is in Germany now. ) Tā àiren xiànzài zài Fàgué. (His/her spouse is in America now. ) Tā àiren xiànzài zài Fàguo. (His/her spouse is in France now.) Tā àiren xiànzài zài Èguó. (His/her spouse is in Russia now.) |
H. Transformation Drill
1. Speaker: Lin Tongzhì shi Hubei rén.
(Comrade Lin is from Hubei. )
2. Wang Tongzhì shi Shānxī rén.
(Comrade Wang is from Shānxī.)
3. Huang Tongzhì shi Shānxī rén.
(Comrade Huang is from Shānxī.)
4. Gāo Tongzhì shi Fūjiàn rén.
(Comrade Gāo is from Fūjiàn.)
You: Lin Tongzhìde lǎojiā zài Hubei.
(Comrade Lin's family is from Hubei.)
Wang Tongzhìde lǎojiā zài Shānxī.
(Comrade Wang's family is from
Shanxi.)
Huang Tongzhìde lǎojiā zài Shānxī.
(Comrade Huang's family is from Shanxi.)
Gāo Tongzhìde lǎojiā zài Fūjiàn.
(Comrade Gāo's family is from
Fūjiàn.)
CRITERION TEST SAMPLE
The purpose of the Criterion Test at the end of each module is to show you not only how much of the material you have learned, but also what points you need to work on before beginning to study another module.
Since the primary goal of ORN is to introduce the sound system of Standard Chinese, this test focuses on your ability to discriminate and produce tones, vowels, and consonants. Additionally, there are sections which test your ability to comprehend and produce numbers from 1 through 99 and the material in the ORN Target Lists. Your knowledge of personal names and titles and the romanization system is also tested. Read the Objectives at the beginning of the module for a description of exactly what the test covers. Note: Although the entire sound system is introduced in the Pronunciation and Romanization Module, you will be tested here only on those sounds which occur in the Target Sentences. Other sounds will be included in Criterion Tests for later modules.
Following is a sample of the Criterion Test for this module. Each section of the test, with directions and a sample question, is represented here so that you may know exactly what is expected of you after studying the ORN Module.
Minimum scores are suggested for each section of the test. Achieving these^scores means that you are adequately prepared for the next module. If you fall below the minimum criterion on any section, you should review relevant study materials.
You will use a tape to complete Part I of the test. Part II is written, and you will complete Part III with your instructor. Part IV of the test (Diagnostics) indicates the passing score for each section and review materials for each section.
Part I
1. This section tests your ability to distinguish the four tones. In your test booklet you will see two syllables after each letter. The speaker will pronounce both syllables, and then say one of them again. You are to decide which syllable was repeated, and circle the appropriate one to indicate your choice. The syllables may occur in any of the four tones, regardless of which tone was used previously in the module. The same syllable may occur more than once in this section.
For example, the speaker might say: fēi...fěi and then repeat fēi.
a. (fēi
fěi
2. This section tests your ability to recognize the four tones in isolated syllables. The speaker will pronounce a syllable twice; you add to the written syllable the tone that you hear. Again, the syllables may occur in any of the four tones, regardless of which tone was used previously in the module.
For example, the speaker might say: fěi...fěi
a. fei
3. This section tests your ability to recognize the four tones in two-syllable combinations. The speaker pronounces each two-syllable item twice and then pauses a moment for you to mark tones on the written syllables. For the first ten items, one of the two tones is already marked. For the last ten items, you must fill in both tones.
For example, the speaker might say: cháběi...cháběi
chaběi
lí. In this section, you are tested on syllables which differ minimally in sound. The speaker will pronounce each syllable in an item once; then he will pronounce one of the syllables again. Decide which of the syllables was repeated, and indicate your choice by circling that written syllable in your test booklet. The syllables in this test do not necessarily correspond in every way to syllables in the Target Lists. They may vary in tone, for example.
For example, the speaker might say: fan...fang and then repeat fang.
a. fan
fang
5. In this section, you complete the romanization for the syllables that you hear. As the speaker says a syllable, write the appropriate vowel or consonant letter(s) in the blank. This tests your ability to recognize the sounds of a syllable and to use the romanization system correctly. The speaker will say each syllable twice.
For example, the speaker might say: pang...pang; then you would write
6. This section tests your ability to understand the numbers 1 through 99 in Chinese. For each item, the speaker will say a number, and you write down the numerals for that number.
For example, you might hear: shí-sān
a.
7- This section tests your ability to understand questions and answers about where someone is from and where he is now. Listen to a conversation between Mr. Johnson and Comrade Zhào, who have just met. You will hear the conversation three times. The third time you hear it, a pause will follow each line. You may use these pauses to fill in the boxes in your booklet with appropriate information. (You do not have to wait for the second repetition of the conversation to fill in the answers, of course.)
For example: CYou will hear a conversation similar to conversations you heard on the C-2 tapes in this module.I
|
Home State or Province |
Present Location | |
|
Comrade Zhào | ||
|
Mr. Johnson (Yuēhànsūn) | ||
|
Comrade Zhào’s husband | ||
|
Mrs. Johnson |
8. This section tests your ability to comprehend Chinese utterances by asking you for the English equivalents. For each item, the speaker will say a sentence from the Target List twice. You indicate your understanding of the sentence by circling the letter of the English sentence which most closely matches the meaning of the Chinese sentence.
For example, you might hear: Nǐ shi shéi?...Nǐ shi shēi?
1. a. Who is she?
h. Who is he?
'c'X Who are you?
Part II
9. This section tests your general understanding of the Chinese system of personal names and titles. Read the family histories in your test "booklet, and answer the questions.
For example,
Yang Tíngfēng is the Chinese name used "by an American, Timothy Young, now that he is living in Taipei. His Chinese surname is:
1. (aì) Yang h. Tíngfēng c. Yang Tíngfēng
Part III
10. This section tests your ability to pronounce the four tones. Simple sound combinations have been chosen so that special attention may be given to tone production. For each item, choose one syllable and read it aloud. As you do so, put a circle around the one you choose. The instructor will note the syllable he hears. Be sure to choose a fair sampling of all four tones, and select them in random order.
For example, you might say: ma
a. ma
11. This section tests your ability to pronounce Chinese sounds from the Target Lists, as well as your ability to read romanization. For each item, choose one syllable and read it aloud. As you do so, put a circle around the one you choose. The instructor will note the syllable he hears. Be sure to choose syllables from each column as you go through this section of the test.
For example, you might say: nín
níng
12. This section tests your ability to locate and name main cities and provinces in China. Using the map in your booklet, point out to your instructor five cities and five provinces and name them. Pronunciation is of secondary importance here.
13. This section tests your ability to produce sentences in Chinese. Your instructor will say an English sentence from the Target Lists, and you translate it into Chinese. Your Chinese sentence must be correct both in grammar and in content.
14. This section tests your ability to make conversational use of the material covered in this module. Although limited in scope, this conversation between you and your instructor represents a situation which you are likely to encounter in the real world. As in any conversation, you are free to ask for a repetition or rephrasing of a sentence, or you may volunteer information on the subject. It is not so much the correctness of your pronunciation and grammar that is being tested as it is your ability to communicate effectively.
Co O
APPENDIX I: MAP OF CHINA
APPENDIX II: MAP OF TAIWAN
APPENDIX III: COUNTRIES AND REGIONS
|
Afghanistan |
Āfùhàn |
Germany, West |
Xīdé |
|
Albania |
Āěrbāníyà |
Ghana |
Jiānà |
|
Algeria |
Āěrjílìyà |
Gibraltar |
Zhíbùluotuo |
|
Andorra |
Andàoěr |
Great Britain |
Dà Búlièdiān |
|
Angola |
Ān’gēlā |
Greece |
Xīlà |
|
Argentina |
Agentíng |
Greenland |
Gélínglán |
|
Australia |
Aodàlìyà^ |
Grenada |
Gélínnàdá |
|
Austria |
Aodìlì (Aoguo) |
Guam |
Guāndǎo |
|
Bahama Is. |
Bahama Qúndǎo |
Guatemala |
Guādìmǎlā |
|
Bahrain |
Bālín(guó) |
Guinea |
Jīnèiyà |
|
Bangladesh |
Mèngj iālā(guo) |
Guinea-Bissau |
Jīnèiyà Bīshào |
|
Barbados |
Bābāduōsi |
Guyana |
Guīyànà |
|
Belgium |
Bīlìshí |
Haiti |
Hǎidì |
|
Belize |
Bólìzī |
Honduras |
Hóngdūlāsī |
|
Benin |
Bèiníng |
Hungary |
Xiōngyálì |
|
Bermuda |
Bǎimùdá |
Iceland |
Bīngdǎo |
|
Bhutan |
Bùdān |
India |
Yìndù |
|
Bolivia |
Bōlìwéiyà |
Indonesia |
Yinní (Yìndùníxīyà |
|
Botswana |
Bocíwǎnà |
Iran |
Yīlǎng |
|
Brazil |
Bāxī |
Iraq |
Yīlākè |
|
Britain |
Yīngguo |
Ireland |
Aiěrlán |
|
Bulgaria |
Bǎojiālìyà |
Israel |
Yīsèliè |
|
Burma |
Miǎndiàn |
Italy |
Yìdàlì |
|
Burundi |
Bùlóngdí |
Ivory Coast |
Xiàngyá Hǎiàn |
|
Cabinda |
Kǎbēndá |
Jamaica |
Yámǎijiā |
|
Cameroun |
Kāmàilóng |
Japan |
Rīběn |
|
Canada |
Jiānádà |
Java |
Zhǎowā |
|
Cape Verde Is. |
Fódé Jiao |
Jordan |
Yuēdàn |
|
Central Africa |
Zhōngfēi |
Kampuchea |
Jiǎnbǔzhài |
|
Chad |
Zhàdé |
Kenya |
Kěnníyà |
|
Chile |
Zhìlì |
Korea |
Cháoxiǎn (Běijīng) |
|
China |
Zhōngguo |
Hánguó (Taiwan) | |
|
Colombia |
Gēlúnbǐyà |
Kuwait |
Kēwēitè |
|
Comoro Is. |
Kēmóluó Qúndǎo |
Laos |
Lǎowō (Běijīng), |
|
Congo |
Gāngguǒ |
Liáoguo (Taiwan) | |
|
Costa Rica |
Gēsīdálíjiā |
Latvia |
Lātuōweiyà |
|
Cuba |
Gúbā |
Lebanon |
Líbānèn |
|
Cyprus |
Sàipǔlùsī |
Lesotho |
Láisuǒtuō |
|
Czechoslovakia |
Jiékè (Jiékèsīluófákè) |
Liberia |
Lìbīlīyà |
|
Democratic Yemen |
Mínzhǔ Yemen |
Libya |
Lìbīyà |
|
Denmark |
Dānmài |
Liechtenstein |
Lièzhīdūnshìdēng |
|
Djibouti |
Jibuti |
Lithuania |
Lìtáowǎn |
|
Dominican Republic |
Duōmīníjiā (Gònghéguó) |
Luxemburg |
Lúsēnbǎo |
|
East Timor |
Dong Dìwén |
Madagascar |
Mǎdájiāsījiā, |
|
Ecuador |
Eguāduōěr |
Mǎěrjiāshí | |
|
Egypt |
Āijí |
Malawi |
Mǎlāwéi |
|
El Salvador |
Sàěrwǎduō |
Malaysia |
Mǎláixīyà |
|
England |
Yīngguo |
Mai di 're Is. |
Mǎěrdàifū |
|
Equatorial Guinea |
Chìdào Jīnèiyà |
Mali |
Mǎlī |
|
Estonia |
Àishāníyà |
Malta |
Mǎěrtā |
|
Ethiopia |
Āisàiébīyà (Běijīng), |
Mauritania |
Máolītǎníyà |
|
Yīsuǒbīyà (Taiwan) |
Mauritius |
Máolīqiúsī | |
|
Fiji |
Fěijì |
Mexico |
Mòxīgē |
|
Finland |
Fēnlán |
Monaco |
Mónàgē |
|
France |
Fǎguó, Fàguo |
Mongolia |
Měnggǔ |
|
French Polynesia |
Fǎshǔ Bōlìníxīyà |
Morocco |
Moluògē |
|
Gabon |
Jiāpéng |
Mozambique |
Mòsāngbīkè |
|
Gambia, The |
Gāngbīyà |
Namibia |
Nàmībīyà |
|
Germany |
Déguó |
Nauru |
Nǎolǔ |
|
Germany, East |
Dōngdé |
Nepal |
Níboěr |
Netherlands Netherlands Antilles New Zealand Nicaragua Niger Nigeria Norway Okinawa Oman Pakistan Palestine Panama
Papua New Guinea Paraguay Peru Philippines Portugal Puerto Rico Qatar Réunion Rhodesia Romania Russia Rwanda San Marino Sāo Tomé and
Príncipe Saudi Arabia
Scotland Senegal Seychelles Is. Siberia Sierra Leone Sikkim Singapore Solomon Is. Somalia South Africa Soviet Russia Soviet Union Spain Sri Lanka Sudan Surinam Swaziland
Sweden Switzerland Syria Tanzania Thailand Togo Tonga
Trinidad and Tobago Tunisia Turkey Uganda Ukraine
United Arab Emirates
United Kingdom
Hélán
Āndilièsī Qúndǎo Xīn Xīlán Níjiālāguā Nírìěr Nírìlìyà Nuówēi Chōngshéng Āmàn Bājīsitǎn Bālēsitǎn Bānámǎ
Bābùyà Xīn Jīnèiyà Bālāguī Mìlǔ Fèilubin Pútáoyá Bōduōlígè Kǎtǎěr Liúníwāng(dǎo) Luódéxīyà Luómàníyà Ēgué, Eguó Lúwàngdá Shèng Mǎlìnuò Shèng Duōměi he
Pǔlínxībī
Shātè Ālābó (Beijing), Shāwūdì Àlābó (Taiwan)
Sūgélán Sàinèijiāěr Saisheer Qúndǎo Xībólìyà Sàilā Liang Xi jin Xinjiāpō Suǒluómén Qúndǎo Suǒmǎlī Nánfēi Sūè (Taiwan) Sūlián Xībānyá Sīlīlánkǎ
Sudan Sūlīnán Sīwēishìlàn (Běijīng)
Shīwǎjìlán (Taiwan) Ruìdiǎn Ruìshì Xùlìyà Tǎnsāngníyà Tàiguó Duōgē Tāngjiā
Tèlìnídá he Duōbāgē Túnísī Tǔerqí Wūgāndá Wūkèlán Alābó Liánhé
Qiúzhǎngguó Liánhé Wángguó
United States Upper Volta Uruguay Venezuela Vietnam Virgin Is. Wales Western Sahara Western Samoa White Russia Yemen Yugoslavia Zaire Zambia Zimbabwe
MěiguÓ
Shèng Woěrtā Wūlāguī Wěinèiruìlā Yuènán
Weiěrjīng Qúndǎo Wēiěrsī Xi Sāhālā Xi Sàmóyǎ Bai ÉLuósī Yemen Nánsīlāfū Zhāyīěr Zànbǐyǎ Jīnbābùwéi
APPENDIX IV: AMERICAN STATES
All the names of states may be followed by the word zhōu "state," for example, Alabama zhōu.
|
Alabama Alaska Arizona Arkansas California Colorado Connecticut Delaware Florida Georgia Hawaii Idaho Illinois Indiana Iowa Kansas Kentucky Louisiana Maine Maryland Massachusetts Michigan Minnesota Mississippi Missouri Montana Nebraska Nevada New Hampshire New Jersey New Mexico New York North Carolina North Dakota Ohio Oklahoma Oregon Pennsylvania Rhode Island South Carolina South Dakota Tennessee Texas Utah Vermont Virginia Washington West Virginia Wisconsin Wyoming |
Alabama Ālāsījiā Yàlìsāngnà Akěnsè, Akānsàsī * Jiāzhōu, Jiālìfoníyà Kēluólāduō Kāngnièdígé, Kāngnǎidígé Tèlāhuá, Delāwēi(ěr) Foluolīdá Qiǎozhìyà, Zuǒzhìyà Xiàwēiyí Aidáhé Yīlìnuò(sī) Yìndìānnà Yīāhuá, Àiāhuá Kānsàsī Kěntǎjī Lùyìsīānnà Miǎnyīn Mǎlīlǎn Mǎsāzhūsài, Mǎshěng Mìxīgēn, Mìxiēgēn, Mìzhíān Míngnísūdá Mìxīxlbī Mìsūlī Méngdànà Nèibùlāsījiā Nèihuádá Xīn Hānbùshíěr, Xīn Hǎnbùxià Xīn Zéxī Xīn Mòxīgē Niuyuē Běi Kǎluoláinà, Běi Kǎluolínnà Běi Dákētā, Běi Dákēdá Éhàié Ekèlāhémǎ, Akèlāhémǎ Élègāng Bīnzhōu, Bīnxīfǎníyà, Bīnxīfǎnníyà Luodé Dao, Luodéàilǎn Nan Kǎluoláinà, Nán Kǎluolínnà Nan Dakētā Tiánnàxī Dézhōu, Dékèsàsī Youtā, Yōuta Wēiméngtè, Fóméngtè Wēijíníyà, Fo.jíníyà Huáshèngdùn Xī Fójíníyà Wēisīkāngxīn(g) Huáiémíng |
|
*The alternative forms given in this list idea of the range of transliterations. |
are not exhaustive, but are meant to give an 8U |
APPENDIX V: CANADIAN PROVINCES
|
Alberta |
Yǎbódá |
|
British Columbia |
Yīngshǔ Gēlúnbīyà |
|
Manitoba |
Mànnítuōbā |
|
New Brunswick |
Xīn Bùlúnzīwéikè |
|
Newfoundland |
Niǔfēnlándǎo |
|
Northwest Territories |
Xīběilíngdì |
|
Nova Scotia |
Xīn Sīkèshè |
|
Ontario |
Āndàliiè |
|
Prince Edward Island |
Aidéhuádǎo |
|
Quebec |
Kuíběikè |
|
Saskatchewan |
Sākèqíwàn |
|
Yukon |
Yùkōng |
APPENDIX VI: COMMON CHINESE NAMES
Surnames
|
Huáng Wáng |
Zhōu i Jiāng |
Liú Chén |
|
Zhāng |
Jiang |
Yáng |
|
Li |
Gāo |
Sīmǎ |
|
Zhào |
Lin |
Ōuyáng |
|
Máo |
Sūn |
Hú |
|
Táng |
Song |
Wú |
|
Mǎ |
Fāng |
Liang |
|
Given Names (male) | ||
|
Dálī |
Yǒngpíng |
Shàowén |
|
Míngli |
Zìqiáng |
Shìyīng |
|
Dànián |
Jié |
Tíngfēng |
|
Shìmín |
Zhīyuǎn |
Cheng |
|
Huá |
Guǒquán |
Zhènhàn |
|
Déxián | ||
|
Given Names (female) | ||
|
Juān |
Huìwén |
Mīnzhēn |
|
Lìréng |
Défēn |
Huìrán |
|
Wǎnrú |
Lù |
Bingyíng |
|
Měilíng |
Bǎolán |
Qīng |
|
Xiùfèng |
Yùzhēn |
Zǐyàn |
|
Qiǎoyún |
Měilì |
APPENDIX VII: CHINESE PROVINCES
|
Pinyin Spelling |
Map Spelling |
|
Ānhuī |
Anhwei |
|
Fújiàn Gānsù |
Fukien Kansu |
|
Guangdong Guǎngxi Guizhou Hebei |
Kwangtung Kwangsi Kweichou Hopeh |
|
Heilongjiang Hénán |
Heilungkiang Honan |
|
Húběi |
Hupeh |
|
Hun an |
Hunan |
|
Jiāngsū |
Kiangsu |
|
Jiāngxī Jilin |
Kiangsi Kirin |
|
Liaoning Nèiměnggǔ Níngxià Qīnghǎi Shāndōng |
Liaoning Inner Mongolia Ningsia Tsinghai Shantung |
|
Shānxī |
Shansi |
|
Shanxi |
Shensi |
|
Sìchuān |
Szechuan |
|
Taiwan |
Taiwan |
|
Xīnjiāng Xizāng Yunnan |
Sinkiang Tibet Yunnan |
|
Zhèjiāng |
Chekiang |
APPENDIX VIII: CHINESE CITIES
|
Pinyin Spelling Běijīng Changsha Chéngdū Datong Gāoxiōng Guǎngzhōu Hangzhou Hànkou Huáinan Jīlóng Kāifēng Nǎnchāng Nánjīng Qīngdǎo Shànghǎi Táiběi Táidōng Tainan Táizhōng Tiānjīn Wǔchāng Wuhan Xīān |
Map Spelling Peking Ch'ang-sha Ch’eng-tu Ta-t’ung Kao-hsiung Canton Hang-chou Han-k'ou Huai-nan Chi-lung K’ai-feng Nan-ch'ang Nanking Tsingtao Shanghai Taipei T’ai-tung T'ai-nan T'ai-chung Tientsin Wu-ch’ang Wu-han Sian |
The Biographic Information Module provides you with linguistic and cultural skills needed for a simple conversation typical of a first-meeting situation in China. These skills include those needed at the beginning of a conversation (greetings, introductions, and forms of address), in the middle of a conversation (understanding and answering questions about yourself and your immediate family), and at the end of a conversation (leave-taking).
Before starting this module, you must take and pass the ORN Criterion Test. The resource modules Pronunciation and Romanization and Numbers (tapes 1-U) are also prerequisites to the BIO Module.
The Criterion Test will focus largely on this module, but material from Module 1 and associated resource modules may also be included.
Upon successful completion of the module, the student should be able to
1. Pronounce correctly any word from the Target Lists of ORN or BIO, properly distinguishing sounds and tones, using the proper stress and neutral tones, and making the necessary tone changes.
2. Pronounce correctly any sentence from the BIO Target Lists, with proper pauses and intonation, that is, without obscuring the tones with English intonation.
3. Use polite formulas in asking and answering questions about identity (name), health, age, and other basic information.
U. Reply to questions with the Chinese equivalents of "yes" and "no."
5. Ask and answer questions about families, including who the members are, how old they are, and where they are.
6. Ask and answer questions about a stay in China, including the date of arrival, location-purpose-duration of stay, previous visits, traveling companions, and date of departure.
7. Ask and answer questions about work or study—identification of occupation, the location, and the duration.
8. Give the English equivalent for any Chinese sentence in the BIO Target Lists.
,9. Be able to say any Chinese sentence in the BIO Target Lists when cued with its English equivalent.
10. Take part in a short Chinese conversation, using expressions included in the BIO Target List sentences.
TAPES FOR BIO AND ASSOCIATED RESOURCE MODULES
Biographic Information (BIO 7
|
Unit 1: Unit 2: |
1 2 |
C-l C-l |
1 p-1 |
1 C-2 |
1 P-2 2 P-2 | ||||||
|
2 |
P-1 |
1&2 |
D-l | ||||||||
|
2 |
C-2 | ||||||||||
|
Unit |
3: |
3 |
C-l |
3 |
P-1 |
3&U |
D-l |
3 |
C-2 |
3 |
P-2 |
|
Unit |
U: |
U |
C-l |
u |
P-1 |
U |
C-2 |
U |
P-2 | ||
|
Unit |
5: |
5 |
C-l |
5 |
P-1 |
5&6 |
D-l |
5 |
C-2 |
5 |
P-2 |
|
Unit |
6: |
6 |
C-l |
6 |
P-1 |
6 |
C-2 |
6 |
P-2 | ||
|
Unit |
7: |
7 |
C-l |
7 |
P-1 |
7&8 |
D-l |
7 |
C-2 |
7 |
P-2 |
|
Unit |
8: |
8 |
C-l |
8 |
P-1 |
8 |
C-2 |
8 |
P-2 | ||
Units 1-U R-l
Units 5-8 R-l
Classroom Expressions (CE)
CE 2
Time and Dates (T&P)
T&D 1 T&D 2
UNIT 1 TARGET LIST
1. Qǐngwèn, nǐ zhù zai nar?
Wǒ zhù zai Běijīng Fàndiàn.
2. Nǐ zhù zai něige fàndiàn?
Wǒ zhù zai nèige fàndiàn.
3. Nǐ zhù zai zhèige fàndiàn ma?
Bù, wǒ "bu zhù zai zhèige fàndiàn.
lu Nǐ zhù zai Mínzu Fàndiàn ma?
Bù, wǒ bù zhù zai Mínzu Fàndiàn.
5. Něiwèi shi Gāo Tongzhì?
Nèiwèi shi Gāo Tongzhì.
6. Zǎo. Nuèwǎkè Nushì.' Nín hǎo.
Wǒ hen hǎo.
7. Nǐ shi Měiguo nǎrde rén?
Wǒ shi Jiāzhōu Jiùjīnshān rén.
May I ask, where are you. staying?
I'm staying at the Běijīng Hotel.
Which hotel are you staying at?
I'm staying at that hotel.
Are you staying at this hotel?
No, I'm not staying at this hotel.
Are you staying at the Nationalities Hotel?
No, I'm not staying at the Nationalities Hotel.
Which one is Comrade Gāo?
That one is Comrade Gāo.
Good morning. Miss Novak.' How are you.
I'm very well.
Where are you from in America?
I'm from San Francisco, California.
UNIT 2 TARGET LIST
1. Nǐ péngyou jiā zài nǎli?
Tā jiā zài Dàlī Jiē.
2. Nǐ péngyoude dìzhǐ shi...?
Tāde dìzhǐ shi Dàlǐ Jiē Sìshièr-hào.
Where is your friend's house?
His house is on Dàlī Street.
What is your friend’s address?
His address is No. U2 Dàlǐ Street.
3. Nǐ shi WèiShàoxiào ba?
Shide.
h. Nà shi Guóbīn Dàfàndiàn ba?
Shìde, nà shi Guóbīn Dàfàndiàn.
Nǐ zhù zai nàli ma?
Bù, wo zhù zai zhèli.
5. Nǐ péngyou zài Táiběi gōngzuò ma?
Tā bù zài Táiběi gōngzuò; tā zài Táizhōng gōngzuò.
6. Nǐ zài nali gōngzuò?
Nǐ zài Wǔguānchù gōngzuò.
OR
Wǒ zài yínháng gōngzuò.
You are Major Weiss, aren’t you?
Yes.
That is the Ambassador Hotel, isn’t it?
Yes, that’s the Ambassador Hotel.
Are you staying there?
No, I’m staying here.
Does your friend work in Taipei?
He doesn’t work in Taipei; he works in Taichung.
Where do you work?
I work at the defense attache’s office.
I work at a bank.
ADDITIONAL REQUIRED VOCABULARY (not presented on C-l and P-1 tapes)
7. lù road
UNIT 3 TARGET LIST
1. Nǐmen you háizi ma?
You, women you.
2. Liu Xiānsheng méiyou Měiguo péngyou.
3. Nǐmen you jǐge nánháizi, jǐge nùháizi?
Women you liǎngge nánháizi, yíge nùháizi.
Do you have any children?
Yes, we have.
Mr. Liu doesn’t have any American friends.
How many boys and how many girls do you have?
We have two boys and one girl.
U. Hú Xiānsheng Hú Taitai you jǐge háizi?
Tāmen you liangge háizi.
Shi nánháizi, shi nuháizi?
Dōu shi núháizi.
5. Nǐmen háizi dōu zài zhèli ma?
Bù, liangge zài zhèli, yíge hái zài Měiguo.
6. Nǐ jiāli you shénme rén?
You wo tàitai gēn sānge háizi.
7. Nǐ jiāli you shénme rén?
Jiù you wǒ fùqin, mǔqin
How many children do Mr. and Mrs. Hú have?
They have two children.
Are they hoys or girls?
Both of them are girls.
Are all your children here?
No. Two are here, and one is still in America.
What people are in your family?
There’s my wife and three children.
What people are in your family?
Just my father and mother.
ADDITIONAL REQUIRED VOCABULARY (not presented on C-l and P-1 tapes)
|
8. |
zhǐ |
only |
|
9. |
dìdi |
younger Brother |
|
10. |
gēge |
older Brother |
|
11. |
jiějie |
older sister |
|
12. |
mèimei |
younger sister |
|
13. |
xiōngdì |
brothers |
|
1U. |
jiěmèi |
sisters |
|
15. |
xiōngdì jiěmèi |
brothers and sisters |
|
16. |
fùmǔ |
parents |
|
17- |
zǔfù |
paternal grandfather |
|
18. |
zǔmǔ |
paternal grandmother |
|
19. |
wài zǔfù |
maternal grandfather |
|
20. |
wàizǔmǔu |
maternal grandmother |
|
21. |
hàha |
papa, dad, father |
|
22. |
mama |
momma, mom, mother |
UNIT 4 TARGET LIST
|
1. |
Ta míngtian lai ma? Tā yǐjīng lai le. |
Is he coming tomorrow? He has already come. |
|
2. |
Nǐ péngyou lai le ma? Tā hái méi(you) lai. |
Has your friend come? She hasn’t come yet. |
|
3. |
Tā shi shénme shíhou dàode? Tā shi zuótiān dàode. |
When did he arrive? He arrived yesterday. |
|
U. |
Nǐ shi yíge rén láide ma? Bu shi, wo bú shi yíge rén |
Did you come alone? No, I didn’t come alone |
Jlaide.
|
5. |
Nǐ něitiān zǒu? |
What day are you leaving? |
|
Wǒ jǐntiān zǒu. |
I’m leaving today. |
ADDITIONAL REQUIRED VOCABULARY (not presented on C-l and P-1 tapes)
|
6. |
hòutiān |
the day after tomorrow |
|
7. |
qiàntiān |
the day before yesterday |
|
8. |
tiāntiān |
every day |
|
9. |
érzi |
son |
|
10. |
nuer |
daughter |
UNIT 5 TARGET LIST
1. Nǐ shi zài nǎr shengde?
Wǒ shi zài Dézhōu shēngde.
2. Nǐmen xīngqījī zǒu?
Women Xīngqītiān zǒu.
Where were you born?
I was born in Texas.
What day of the week are you leaving?
We are leaving on Sunday.
3. Nǐ shi něinián shēngde?
Wo shi Yíjiǔsānjiǔnián shēngde.
1. Nǐ shi jǐyùè jǐhào shēngde?
Wǒ shi Qíyùe sìhào shēngde.
5- Nǐ duō dà le?
Wǒ sānshiwǔ le.
6. Nǐmen nánháizi dōu Jǐsuì le?
Yíge jiǔsuì le, yíge liùsuì le.
What year were you horn?
I was horn in 1939•
What is your month and day of hirth?
I was horn on July 1+.
How old are you?
I’m 35.
How old are your hoys?
One is nine, and one is six.
ADDITIONAL REQUIRED VOCABULARY (not presented on C-l and P-1 tapes)
T. hòuniān
8. Jīnian
9. míngnián
10. qiānniàn
11. qùniān
12. niánniàn
the year after next
this year
next year
the year before last
last year
every year
UNIT 6 TARGET LIST
1. Nǐ zhù duo jiǔ?
Wǒ zhù yinian.
2. Nǐ tàitai zài Xianggang zhù duo Jiǔ?
Wǒ xiǎng tā zhù liāngtiān.
3. Nǐ xiǎng zài Taiwan zhù duo Jiǔ?
Wǒ xiǎng zhù liùge yùè.
4. Nǐ lāile duo Jiù le?
Wǒ lāile liǎngge xīngqī le.
How long are you staying?
I’m staying one year.
How long is your wife staying in Hong Kong?
I think she is staying two days.
How long are you thinking of staying in Taiwan?
I’m thinking of staying six months.
How long have you heen here?
I have heen here two weeks.
5. Nǐ taitai zài Xianggang zhùle duo Jiǔ?
Tā zhùle liǎngtiān.
6. Lǐ Taitai méi lai.
7. Nǐ cóngqian láiguo ma?
Wǒ cóngqian méi laiguo. Wǒ taitai láiguo.
How long did your wife stay in Hong Kong?
She stayed two days.
Mrs. Lǐ didn’t come.
Have you ever Been here Before?
I have never been here before. My wife has been here.
ADDITIONAL REQUIRED VOCABULARY (not presented on C-l and P-1 tapes)
8. qu
to go
New York
9. Niǔ Yuē
UNIT 7 TARGET LIST
1. Nín zài náli gōngzuò?
Wǒ zài Meiguo Guówùyuàn gōngzuò.
2. Nǐ zài náli gōngzuò?
Wo shi xuésheng.
3. Nǐ lái zuò shénme?
Wǒ lái niàn shū.
H. Nǐ niàn shénme?
Wǒ xūé Zhōngwén.
5. Nǐ zài dàxiié niànguo lìshǐ ma? Niànguo.
6. Nǐmen huì shuō Zhōngwén ma?
Wǒ tàitai bú huì shuō, wǒ huì shuō yìdiǎn.
Where do you work?
I work with the State Department.
Where do you work?
I’m a student.
What did you come here to do?
I came here to study.
What are you studying?
I’m studying Chinese.
Did you study history in college?
Yes.
Can you speak Chinese?
My wife can’t speak it; I can speak a little.
7. Nǐde Zhōngguo hua hen hǎo.
Náli, nàli. Wǒ Jiù huì shuō yìdiǎn.
Your Chinese is very good.
Not at all, not at all. I can speak only a little.
8. Nǐ shi zài náli xiiéde Zhōngwén? Where did you study Chinese?
Wǒ shi zài Huáshèngdùn xiiéde. I studied it in Washington.
ADDITIONAL REQUIRED VOCABULARY (not presented on C-l and P-1 tapes)
|
9. |
jīngjixiié |
economics |
|
10. |
Rìwén |
Japanese language |
|
11. |
wénxūé |
literature |
|
12. |
zhèngzhixiié |
political science |
|
13. |
nán |
to be difficult |
|
1U. |
rōngyi |
to be easy |
|
15. |
xuéxí (xiiéxi) |
to study, to learn (PRC) |
UNIT 8 TARGET LIST
1. Nǐ jīntiān hái you kè ma?
Méiyou kè le.
2. Nǐ cóngqián niàn Yīngwén niànle duo jiǔ?
Wǒ niàn Yīngwén niànle liùnián.
3. Nǐ niàn Fàwén niànle duo jiú le?
Wǒ niànle yìnián le.
U. Qunián wǒ hái bú huì xiě Zhōngguo zì.
Xiànzài wǒ huì xiě yìdiǎn le.
5. Nǐ fùqin shi júnrén ma?
Shi, tā shi hǎijun júnguān.
Do you have any more classes today? I don’t have any more classes.
How long did you study English?
I studied English for six years.
How long have you been studying French?
I’ve been studying it for one year.
Last year I couldn’t write Chinese characters.
Now I can write a little.
Is your father a military man?
Yes, he’s a naval officer.
Wǒ bìng le.
Jíntiān hǎo le. ADDITIONAL REQUIRED VOCABULARY (not presented on C-l and P-1 tapes)
|
I’m not coming today. I’m sick. Are you better today' Today I’m better. air force army enlisted man to work German language |
UNIT 1
Topics Covered in This Unit
1. Where people are staying (hotels).
2. Short answers.
3. The question word něige, "which."
Materials You Will Need
1. The C-l and P-1 tapes, the Reference List and Reference Notes.
2. The C-2 and P-2 tapes, the Workhook.
3. The drill tape (1D-1).
(in Běijīng)
1. A: Qǐngwèn, nǐ zhù zai nǎr?
B: Wǒ zhù zai Běijīng Fàndiàn.
2. B: Nǐ zhù zai Mínzù Fandiàn ma?
A: Shi, wǒ zhù zai Mínzú Fàndiàn.
3. A: Nǐ zhù zai něige fàndiàn?
B: Wǒ zhù zai Běijīng Fàndiàn.
U. B: Něiwèi shi Zhāng Tongzhì?
A: Tā shi Zhāng Tongzhì.
5.* B: Něige rén shi Méi Tongzhì?
A: Neige rén shi Méi Tongzhì.
May I ask, where are you staying?
I’m staying at the Běijīng Hotel.
Are you staying at the Nationalities Hotel?
Yes, I’m staying at the Nationalities Hotel.
Which hotel are you staying at?
I’m staying at the Běijīng Hotel.
Which one is Comrade Zhāng?
She is Comrade Zhāng.
Which person is Comrade Mei?
That person is Comrade Mei.
6. B: Neiwèi shi Gāo Tongzhì?
A: Nèiwèi shi Gāo Tongzhì.
7.5 A: Nǐ zhù zai zhèige fandiàn ma?
B: Bù, wo bú zhù zai zhèige fàndiàn.
8. B: Jiāng Tongzhì! Nín zǎo.
A: Zāo. Nuòwākè Nushì! Nín hǎo.
B: Wo hen hǎo.
9. A: Qǐngwèn, nǐ shi Měiguo nǎrde rén?
B: Wǒ shi Jiāzhōu Jiùjīnshān rén.
Which one is Comrade Gāo?
That one is Comrade Gāo.
Are you staying at this hotel?
No, I’m not staying at this hotel.
Comrade Jiāng! Good morning.
Good morning. Miss Novak! How are you.
I’m very well.
May I ask, where are you from in America?
I’m from San Francisco, California.
|
fàndiàn |
hotel |
|
-ge |
(general counter) |
|
hen |
very |
|
Jiùjīnshān |
San Francisco |
|
Mínzu Fàndiàn |
Nationalities Hotel |
|
něi- |
which |
|
něige? |
which? |
|
nèige |
that |
|
neiwèi? |
which one (person)? |
|
nèiwèi |
that one (person) |
|
nushì |
(polite title for a married or |
|
unmarried woman) Ms.; lady | |
|
Shi. |
Yes, that’s so. |
|
-wèi |
(polite counter for people) |
|
Zǎo. |
Good morning. |
|
zhèi- |
this |
|
zhèige |
this |
|
zhèiwèi |
this one (person) |
|
zhù |
to stay, to live |
1. A: Qǐngwèn, nǐ zhù zai nǎr? May I ask, where are you staying?
B: Wǒ zhù zai Běijīng Fàndiàn. I’m staying at the Běijīng Hotel.
Notes on No. 1
The verb zhù, "to live," or "to reside," may be used to mean "to stay at" (temporary residence) or "to live in" (permanent residence).
Zhù zai nǎr literally means "live at where." The verb zài, "to be in/ at/on," is used here as a preposition, "at." It loses its tone in this position in a sentence. (The use of zài as a preposition is treated more fully in Unit 2.)
Fàndiàn has two meanings—"restaurant" and "hotel" (a relatively large hotel with modern facilities).6 Literally, fàndiàn means "rice shop."
2. B: Nǐ zhù zai Mínzu Fàndiàn ma? Are you staying at the Nationalities Hotel?
A: Shi, wǒ zhù zai Mínzu Fàndiàn. Yes, I’m staying at the Nationalities Hotel.
Note on No. 2
Shi: The usual way to give a short affirmative answer is to repeat the verb used in the question. Some verbs, however, may not be repeated as short answers. Zhù is one such verb. Others not to be used are xìng, "to be surnamed," and jiào, "to be given-named." Many speakers do not repeat the verb zài as a short answer. To give a short "yes" answer to questions containing these verbs, you use shi.
3. A: Nǐ zhù zai něige fàndiàn?
B: Wǒ zhù zai Běijīng Fàndiàn.
U. B: Něiwèi shi Zhāng Tongzhì?
A: Tā shi Zhāng Tongzhì.
Which hotel are you staying at? I’m staying at the Běijīng Hotel
Which one is Comrade Zhāng?
She is Comrade Zhāng.
5. B: Něige rén shi Mei Tongzhì?
A: Neige rén shi Méi Tongzhì.
6. B: Neiwèi shi Gāo Tongzhì?
A: Nèiwèi shi Gāo Tongzhì.
T. A: Nǐ zhù zai zhèige fàndiàn ma?
B: Bù, wǒ hú zhù zai zhèige fàndiàn.
Which person is Comrade Mei?
That person is Comrade Mei.
Which one is Comrade Gāo?
That one is Comrade Gāo.
Are you staying at this hotel?
No, I’m not staying at this hotel.
Notes on Nos. 3-7
Něige is the question word "which." In the compound něiguo, you found the hound word něi-, which was attached to the noun guo. In the phrase něige rén, "which person," the hound word něi- is attached to the general counter -ge. (You will learn more about counters in Unit 3. For now, you may think of -ge as an ending which turns the hound word něi- into the full word něige.)
Něige rén/Něiwèi: To he polite when referring to an adult, you say nèiwèi or něiwèi, using the polite counter for people -wèi rather than the general counter -ge. though -ge is used in many informal situations.
Notice that the noun rén is not used directly after -wèi:
|
Nèiwèi |
Měiguo rén |
shi shéi? |
|
Něiwèi |
zhù zai Mínzú Fàndiàn? |
Compare the specifying words "which?" "that," and "this" with the location words you learned in Unit U of ORN:
specifying words
|
něige? |
(nǎge?) |
(which?) |
|
nèige |
(nàge) |
(that) |
|
zhèige |
(zhège) |
(this) |
location words
|
nǎr? |
(where?) | |
|
nàr |
(nèr) |
(there) |
|
zhèr |
(zhàr) |
(here) |
Both question words are in the Low tone, while the other four words are in the Falling tone.
Many people pronounce the words for "which?" "that," and "this" with the usual vowels for "where?" "there," and "here": nǎge? nàge, and zhège.
Bù: A short negative answer is usually formed, hy hù plus a repetition of the verb used, in the question. When a verb, like zhù (zai), cannot he repeated, hù is used as a short answer and is followed by a complete answer. Notice that when used by itself bù is in the Falling tone, but when followed by a Falling-tone syllable bù is in the Rising tone.
Bù, tā xiànzai bú zài zher. No, he’s not here now.
8. B: Jiāng Tongzhì! Nín zǎo.
A: Zǎo. Nuòwǎkè Nushì! Nín hǎo.
B: Wǒ hen hǎo.
Comrade Jiāng! Good morning.
Good morning. Miss Novak! How are you.
I’m very well.
Notes on No. 8
Name as greeting: A greeting may consist simply of a person’s name: Wang Tongzhì! "Comrade Wang!" The name may also be used with a greeting phrase: Wang Tongzhì! Nín zǎo. "Comrade Wang! Good morning."—or, in reverse order, Nín zǎo. Wang Tongzhì! "Good morning. Comrade Wang!" The name is pronounced as an independent exclamation acknowledging that person’s presence and status. It is not de-emphasized like "Comrade Wang" in the English sentence "Good morning, Comrade Wang."
Nín zǎo means "good morning"—literally, "you are early." You may also say either nǐ zǎo or simply zǎo.
Nushì, "Ms.," is a formal, respectful title for a married-or unmarried woman. It is used after a woman's own surname, not her husband’s. Traditionally, this title was used for older, educated, and accomplished women. In the PRC, where people use Tongzhì, "Comrade," in general only foreign women are referred to and addressed as (so-and-so) Nushì. On Taiwan, however, any woman may be called (so-and-so) Nushì in a formal context, such as a speech or an invitation.
Nín hǎo: This greeting may be said either with or without a question marker, just as in English we say "How are you?" as a question or "How are you" as a simple greeting.
Nǐ hǎo ma? How are you?
Nǐ hǎo. How are you.
Also just as in English, you may respond to the greeting by repeating it rather than giving an answer.
Lǐ Tongzhì! Nín hǎo. Comrade Lǐ! How are you.
Nín hǎo. Gāo Tongzhì! How are you. Comrade Gāo!
Literally, hen means "very.” The word often accompanies adjectival verbs (like hǎo, "to be good"), adding little to their meaning. (See also Module 3, Unit 3.)
How to identify yourself: You have now learned several ways to introduce yourself. One simple, direct way is to extend your hand and state your name in Chinese—for instance, Mǎ Mínglǐ. Here are some other ways:
Wǒ shi Mǎ Mínglǐ. I am Mǎ Mínglǐ.
Wǒ xìng Mǎ. My surname is Mǎ.
Wǒ xìng Mǎ, jiào Mǎ Mínglǐ. My surname is Mǎ; I am called Mǎ Mínglǐ.
Wǒde Zhōngguo míngzi jiào My Chinese name is Mǎ Mínglǐ. Mǎ Mínglǐ.
9. A: Qǐngwèn, nǐ shi Měiguo nǎrde rén?
B: Wǒ shi Jiāzhōu Jiùjīnshān rén.
May I ask, where are you from in America?
I’m from San Francisco, California
Notes on No. 9
Order of place names: Notice that Jiāzhōu Jiùjīnshān is literally "California, San Francisco." In Chinese, the larger unit comes before the smaller. Similarly, in the question Nǐ shi Měiguo nǎrde rén? the name of the country comes before the question word nǎr, which is asking for a more detailed location. The larger unit is usually repeated in the answer:
|
Nǐ shi |
Shāndōng |
nǎr |
-de |
rén? |
|
Wo shi |
Shāndōng |
Qīngdǎo |
rén. |
Literally, Jiùjīnshān means "Old Gold Mountain." The Chinese gave this name to San Francisco during the Gold Rush days.
A. Response Drill
Respond, according to the cues.
(cue) Běijīng Fàndiàn (Where is he/she staying?)
Mínzú Fàndiàn (Where is your spouse staying?)
(Where is Comrade Lǐ staying?) U. Fāng Tongzhì zhù zai nǎr? neige fàndiàn (Where is Comrade Fāng staying?)
Běijīng Fàndiàn (Where is Comrade Chén staying?)
Mínzú Fàndiàn (Where is Comrade Lin staying?)
(Where is Comrade Huǎng staying?)
Give affirmative responses to all 1. Speaker: Gāo Nushì zhù zai Mínzú Fàndiàn ma? (is Miss Gāo staying at the Nationalities Hotel?) 2. Zhāng Nushì zhù zai Běijīng Fàndiàn ma? |
You: Tā zhù zai Běijīng Fandian. (He/she is staying at the Běijīng Hotel.) Tā zhù zai Mínzú Fàndiàn. (He/she is staying at the Nationalities Hotel. ) Tā zhù zai zhèige fàndiàn. (He/she is staying at this hotel.) Tā zhù zai nèige fàndiàn. (He/she is staying at that hotel. ) Tā zhù zai Běijīng Fàndiàn. (He/she is staying at the Běijīng Hotel.) Tā zhù zai Mínzú Fàndiàn. (He/she is staying at the Nationalities Hotel.) Tā zhù zai zhèige fàndiàn. (He/she is staying at this hotel.) questions. You: Shi, tā zhù zai Mínzú Fàndiàn. (Yes, she is staying at the Nationalities Hotel.) Shi, tā zhù zai Běijīng Fàndiàn. |
3. Jiāng Nushì zhù zai zhèige fàndiàn ma?
U. Huang Nushì zhù zai nèige fàndiàn ma?
5. Wang Nushi zhu zai Beijing Fàndiàn ma?
6. Lin Nushì zhù zai Mínzu Fàndiàn ma?
7. Mao Nushì zhù zai zhèige fàndiàn ma?
Shi, tā zhù zai zhèige fàndiàn.
Shi, tā zhù zai nèige fàndiàn.
Shi, tā zhù zai Běijīng Fàndiàn.
Shi, tā zhù zai Mínzu Fàndiàn.
Shi, tā zhù zai zhèige fàndiàn.
C. Response Drill
Give negative responses to all
1. Speaker: Jiāng Xiānsheng zhù zai zhège fàndiàn ma?
(is Mr. Jiāng staying at this hotel?)
2. Mǎ Xiānsheng zhù zai nàge fàndiàn ma?
3. Lǐ Xiānsheng zhù zai Guóbīn Dàfàndiàn ma?
U. Zhào Xiānsheng zhù zai Yuānshān Dàfàndiàn ma?
5. Liu Xiānsheng zhù zai Yuānshān Dàfàndiàn ma?
6. Tang Xiānsheng zhù zai nàge fàndiàn ma?
7. Song Xiānsheng zhù zai zhège fàndiàn ma?
questions.
You: Bu shi, tā bú zhù zai zhège fàndiàn.
(No, he isn’t staying at this hotel.)
Bú shi, tā bú zhù zai nàge fàndiàn.
Bú shi, tā bú zhù zai Guobīn Dàfàndiàn.
Bú shi, tā bú zhù zai Yuānshān Dàfàndiàn.
Bú shi, tā bú zhù zai Yuānshān Dàfàndiàn.
Bú shi, tā bú zhù zai nàge fàndiàn.
Bú shi, tā bú zhù zai zhège fàndiàn
D. Response Drill
Give either a negative or an affirmative response, according to the
cues.
1. Speaker: Tang Tongzhì zhù zai zhèige fàndiàn ma? (cue) zhèige fàndiàn
(Is Comrade Tang staying at this hotel?)
OR Mǎ Tongzhì zhù zai nèige fàndiàn ma? (cue) zhèige fàndiàn (Is Comrade MS staying at this hotel?)
2. Mǎ Tongzhì zhù zai nèige fàndiàn ma? zhèige fàndiàn
3. Lǐ Tongzhì zhù zai Běijīng Fàndiàn ma? Běijīng Fàndiàn
U. Zhào Tongzhì zhù zai Mínzu Fàndiàn ma? Běijīng Fàndiàn
5. Liú Tongzhì zhù zai zhèige fàndiàn ma? nèige fàndiàn
6. Jiāng Tongzhì zhù zai nèige fàndiàn ma? nèige fàndiàn
7. Zhāng Tongzhì zhù zai Běijīng Fàndiàn ma? Mínzu Fàndiàn
You: Shi, tā zhù zai zhèige fàndiàn. (Yes, he is staying at this hotel.)
Bu shi, tà hú zhù zai nèige fàndiàn.
(No, he isn’t staying at that hotel.)
Bù shi, tā bu zhù zai nèige fàndiàn.
Shi tā zhù zai Běijīng Fàndiàn.
Bù shi, tā bù zhù zai Mínzù Fàndiàn.
Bù shi, tā bù zhù zai zhèige fàndiàn.
Shi, tā zhù zai nèige fàndiàn.
Bù shi, tā bù zhù zai Běijīng
Fàndiàn.
E. Transformation Drill
Change the less polite forms nèige ren and zhèige ren to the more polite forms nèrwèi and zhèivèi.
1. Speaker: Nèige rén shi Lǐ You: Nèiwèi shi Lǐ Tongzhì.
Tongzhì. (That one is Comrade Lǐ.)
(That person is Comrade Lǐ.)
2. Zhèige rén shi Fāng Tongzhì. Zhèiwèi shi Fang Tongzhì.
3. Nèige rén shi Jiāng Tongzhì. Nèiwèi shi Jiāng Tongzhì.
U. Zhèige rén shi Zhōu Tongzhì.
5. Neige rén shi Zhāng Tongzhì.
6. Zhèige rén shi Chén Tongzhì.
7. Nèige rén shi Hu Tongzhì.
Zhèiwèi shi Zhōu Tongzhì.
Nèiwèi shi Zhāng Tongzhì.
Zhèiwèi shi Chén Tongzhì.
Nèiwèi shi Hu Tongzhì.
F. Response Drill
Respond to něige fàndiàn? "which hotel?" according to the cues.
1. Speaker: Tā zhù zai něige fàndiàn?
(cue) Mínzú Fàndiàn
(Which hotel is he/she staying at?)
2. Zhāng Tongzhì zhù zai něige fàndiàn? Běijīng Fàndiàn
3. Jiāng Tongzhì zhù zai něige fàndiàn? nèige fàndiàn
U. Wang Tongzhì zhù zai něige fàndiàn? zhèige fàndiàn
5. Huang Tongzhì zhù zai něige fàndiàn? Mínzú Fàndiàn
6. Lin Tongzhì zhù zai něige fàndiàn? Běijīng Fàndiàn
7. Liú Tongzhì zhù zai něige fàndiàn? zhèige fàndiàn
You: Tā zhù zai Mínzú Fàndiàn. (He/she is staying at the Nationalities Hotel.)
Tā zhù zai Běijīng Fàndiàn.
Tā zhù zai nèige fàndiàn.
Tā zhù zai zhèige fàndiàn.
Tā zhù zai Mínzú Fàndiàn.
Tā zhù zai Běijīng Fàndiàn.
Tā zhù zai zhèige fàndiàn.
G. Response Drill
Respond to něige rén? "which person?" with nèige rén, "that person."
1. Speaker: Qǐngwèn, něige rén shi You: Nèige rén shi Wáng Déxián.
Wáng Déxián? (That person is Wáng Déxián.)
(May I ask, which person
is Wáng Déxián?)
2. Qǐngwèn, neige rén Shìmín?
3. Qǐngwèn, neige rén Bǎolán?
U. Qǐngwèn, neige rén Tíngfēng?
5. Qǐngwèn, neige rén Wǎnru?
6. Qǐngwèn, neige rén Meilíng?
7. Qǐngwèn, neige rén Zhīyuǎn?
shi Zhao Nèige
shi Lin Nèige
shi Gāo Nèige
shi Zhāng Nèige
shi Hu Nèige
shi Song Nèige
rén shi Zhao Shìmín.
rén shi Lin Baolán.
rén shi Gāo Tíngfēng.
rén shi Zhāng Wǎnrú.
rén shi Hú Meilíng.
rén shi Song Zhīyuǎn.
H. Transformation Drill
Ask the appropriate ’’which" or "where" question according to the statements.
1. Speaker: Tā lǎojiā zài Qīngdǎo. (His/her family is from Qīngdǎo.)
OR Tā xiànzài zài Jiānádà. (He/she is in Canada now. )
OR Tā zhù zai Běijīng Fàndiàn.
(He/she is staying at the Běijīng Hotel.)
2. Tā xiànzài zài Shāndōng.
(He/she is in Shāndōng now.)
3. Tā zhù zai Mínzu Fàndiàn. (He/she is staying at the Nationalities Hotel.)
U. Tā lǎojiā zài Hubei.
(His/her family is from Hubei.)
5. Tā xiànzài zài Měiguō.
(He/she is in America now.)
You: Tā lǎojiā zài nǎr?
(Where is his/her family from?)
Tā xiànzài zài nǎr?
(Where is he/she now?)
Tā zhù zai neige fàndiàn?
(In which hotel is he/she staying?)
Tā xiànzài zài nǎr?
(Where is he/she now?)
Tā zhù zai neige fàndiàn?
(in which hotel is he/she staying?)
Tā lǎojiā zài nǎr?
(Where is his/her family from?)
Tā xiànzài zài nǎr?
(Where is he/she now?)
6. Tā zhù zai zhèige fàndiàn. (He/she is staying at this hotel.)
7. Tā lǎojiā zài Guǎngdōng. (His/her family is from Guǎngdōng.)
Tā zhù zai neige fàndiàn?
(In which hotel is he/she staying?
Tā lǎojiā zài nǎr?
(Where is his/her family from?)
Pagoda in central Taiwan (courtesy of Thomas Madden)
UNIT 2
Topics Covered in This Unit
1. Where people are staying (houses).
2. Where people are working.
3. Addresses.
U. The marker de.
5. The marker ha.
6. The prepositional verb zài.
Materials You Will Nped
1. The C-l and P-1 tapes, the Reference List and Reference Notes.
2. The C-2 and P-2 tapes, the Workbook.
3. The 2D-1 tape.
(in Taipei)
1. A: Nǐ zhù zai náli?
B: Wǒ zhù zai Guóhīn Dàfàndiàn.
2. A: Nǐ zhù zai náli?
B: Wǒ zhù zai zhèli.
A: Tā ne?
B: Tā zhù zai nali.
3. A: Nǐ zhù zai náli?
B: Wǒ zhù zai péngyou jiā.
it. A: Nǐ péngyou jiā zài náli?
B: Tā jiā zài Dàlǐ Jiē.
5. A: Nǐ péngyoude dìzhī shi...?
B: Tāde dìzhǐ shi Dàlǐ Jiē Sìshièrhào.
6.* A: Nǐ shi Wèi Shàoxiào ha?
B: Shìde.
?.**A: Nà shi Guohīn Dàfàndiàn ha?
B: Shìde.
8. A: Nǐ péngyou xiànzài zài náli gōngzuò ?
B: Tā zài Táinán gōngzuò.
9 .* A: Nǐ zài náli gōngzuò?
B: Wǒ zài Wǔguānchù gōngzuò.
1O .**A: Nǐ zài náli gōngzuò?
B: Wǒ zài yínháng gōngzuò.
Where are you staying?
I’m staying at the Ambassador Hotel.
Where are you staying?
I’m staying here.
How about him?
He is staying there.
Where are you staying?
I’m staying at a friend’s house.
Where is your friend’s house?
His house is on Dàlǐ Street.
What is your friend’s address?
His address is No. h2 Dalǐ Street.
You are Major Weiss, aren’t you?
Yes.
That is the Ambassador Hotel, isn’t it?
Yes.
Where does your friend work now?
He works in Tainan.
Where do you work?
I work at the defense attache’s office.
Where do you work?
I work at a bank.
B: Tā bú zài Taiběi gōngzuò; tā zài Táizhōng gōngzuò.
Does your friend work in Taipei?
He doesn’t work in Taipei; he works in Taichung.
ADDITIONAL REQUIRED VOCABULARY (not presented on C-l and P-1 tapes) 12. lù
road
|
ba |
(question marker expressing supposition of what answer will be) |
|
dàfàndiàn |
hotel |
|
-de |
(possessive marker) |
|
dìzhǐ |
address |
|
gōngzuò |
to work |
|
Guóbīn Dàfàndiàn |
Ambassador Hotel |
|
-hào |
number (in addresses) |
|
jiā |
home, house |
|
Jiē |
street |
|
lù |
road |
|
nà- |
that |
|
nàge |
that (one) |
|
náli |
where |
|
nàli |
there |
|
péngyou |
friend |
|
shàoxiào |
major (military title) |
|
Shìde. |
Yes, that’s so. |
|
Wǔguānchù |
defense attache’s office |
|
yínháng |
bank |
|
zài |
to be in/at/on (prepositional ve |
|
zhè- |
this |
|
zhège |
this (one) |
|
zhèli |
here |
(introduced on C-2, P-2, and, drill tapes)
|
Diyī Dàfàndiàn Měiguo Guójì Jiāoliú Zǒngshǔ Měiguo Yínháng Táiwān Yínháng yóuzhèngjú |
First Hotel U.S. International Communications Agency Bank of America Bank of Taiwan post office |
|
1. |
A: B: |
Nī zhù zai náli? Wǒ zhù zai Guóbīn Dàfàndiàn. |
Where are you staying? I’m staying at the Ambassador Hotel |
|
2. |
A. |
Nī zhù zai náli? |
Where are you staying? |
|
B: |
Wǒ zhù zai zhèli. |
I’m staying here. | |
|
A: |
Tā ne? |
How about him? | |
|
B: |
Tā zhù zai nàli. |
He is staying there. |
Notes on Nos. 1-2
The word guóbīn actually refers to any official state guest, not just an ambassador. (The word for "ambassador" is dàshī.) The translation "Ambassador Hotel" has been used for years by that hotel and, although inaccurate, has been retained in this text.
Dàfàndiàn means "great hotel" or "grand hotel." It is commonly used in the names of Taiwan and Hong Kong hotels.
Náli, nàli, and zhèli are common variants of nǎr, nàr, and zhèr in non-Peking dialects of Standard Chinese. The forms with r_ are Peking dialect forms. Compare:
Peking Other
|
nǎr? |
náli? |
(where?) |
|
nàr |
nàli |
(there) |
|
zhèr |
zhèli |
(here) |
Notice the difference in tone between nǎr and náli. This is because -li has a basic Low tone, and the first of two adjoining Low-tone syllables changes to a Rising tone: nǎ + -lǐ = náli
3. A: Nǐ zhà zai náli?
B: No zhù zai péngyou jiā.
A: Nī péngyou jiā zài náli?
B: Tā jiā zài Dàlī Jiē.
Where are you staying?
I’m staying at a friend’s house.
Where is your friend’s house?
His house is on Dàlī Street.
Note on Nos. 3-^
The possessive relationships in pengyou jiā, "friend’s house," nǐ péngyou jiā, "your friend’s house," and tā jiā, "his house," are unmarked, while the English must include ~’s_or the possessive form of the pronoun ("your," "his"). In Chinese, possessive relationships may he expressed by simply putting the possessor in front of the possessed when the relationship between the two is particularly close, like the relationship between a person and his home, family, or friends.
5. A: Nǐ péngyoude dìzhǐ shi...?
B: Tāde dìzhǐ shi Dàlǐ Jiē Sìshièrhào.
What’s your friend’s address?
His address is No. U2 Dàlǐ Street.
Notes on No. 5
Péngyoude dìzhǐ: The marker -de in this phrase is just like the English possessive ending -’s_. With the exception of close relationships, this is the usual way to form the possessive in Chinese.
|
nǐ |
péngyou |
-de |
dìzhǐ |
|
(your |
friend |
’s |
address) |
Unlike the English -’s. ending, -de is also added to pronouns.
|
wǒde |
(my) |
|
nǐde |
(your) |
|
tāde |
(his/her) |
You are learning possessive phrases in which the marker -de is used (tāde dìzhǐ) and some possessive phrases which do not contain -de (nǐ péngyou Jiā). There are certain reasons for the inclusion or omission of -de. If a close relationship exists between the possessor and the possessed, the marker -de might not be used. If a phrase is long and complex, as Lǐ Xiānsheng péngyoude taitai, the marker -de is used to separate the possessor from the possessed.
short or simple
|
nǐ |
Jiā |
|
wo |
pengyou |
long or complex
Hú Měilíng -de lǎojiā
nǐ péngyou -de dìzhǐ
Lǐ Xiānsheng péngyou -de taitai
But these are not hard and fast rules. The use or omission of -de is not determined solely by the number of syllables in a phrase or by the closeness between the possessor and the possessed, although both of these considerations do play a big part in the decision.
While some common nouns are usually used without -de before them, most nouns are more likely to be preceded by -de, and many even require it. Dìzhǐ, "address,” is the only noun you have learned which REQUIRES the possessive marker -de added to the possessor. But other nouns such as jiā are not always preceded by -de. This is also the case with nouns indicating personal relationships, like fùmǔ, "father,” and tàitai, "wife." Péngyou, "friend,” xuésheng, "student," and lǎoshī, "student," are commonly used without -de, but may also be used with the marker.
You might expect the question Nǐ péngyoude dìzhǐ shi... ? to be completed with a word such as shénme, "what." However, the incomplete form given in this exchange, with the voice trailing off, inviting completion, is also commonly used.
Addresses: The order in which addresses are given in Chinese is the reverse of that used in English. In Chinese, the order is from the general to the specific: country, province or state, city, street name, street number.
-hào: A street number is always given with the bound word -hào, "number," after it.9
6. A: Nǐ shi Wèi Shàoxiào ba?
B: Shìde.
7. A: Nèi shi Guóbīn Dàfàndiàn ba?
B: Shìde.
You are Major Weiss, aren’t you?
Yes.
That is the Ambassador Hotel, isn't it?
Yes.
Notes on Nos. 6-7
Ba is a marker for a question which expresses the speaker's supposition as to what the answer will be. It is the type of question which asks for a confirmation from the listener.
(There are three ways to translate the two questions in exchanges 6 and 7 into English:
Nǐ shi Wèi Shàoxiào ba? Aren't you Major Weiss?
You are Major Weiss, aren't you?
You must be Major Weiss.
Nèi shi Guóbīn Dàfàndiàn? Isn’t that the Ambassador Hotel?
That is the Ambassador Hotel, isn’t it?
That must be the Ambassador Hotel.
Each translation reflects a different degree of certainty on the part of the speaker. (While the differences in certainty are expressed in English by variation in wording, they can be expressed in Chinese by intonation.) You will probably find that the ’’isn’t it’’/’’aren’t you" translation fits most situations.
The short answer shide is an expanded form of the short answer shi, with the same meaning! "Yes, that’s so." Shìde is also the word used for the "yes" in the military "Yes, sir."
Nà (nèi): In the subject position, nà (nèi), "that," and zhè (zhèi), "this," may be used either as free words or as bound words, with -ge following. Compare:
|
Nà |
shi Guóbīn Dàfàndiàn. | |
|
(That |
is the Ambassador Hotel.) | |
|
Nà |
-ge |
shi Guóbīn Dàfàndiàn. |
|
(That |
one |
is the Ambassador Hotel.) |
|
However, the question form nǎ- (něi-' Nage (fàndiàn) shi Guóbīn Dàfàndiàn?
gōngzuò ma?
|
) is a bound word. Which one (hotel) is the Ambassador Hotel? Where does your friend work now? He works in Tainan. Where do you work? I work at the defense attache’s office. Where do you work? I work at a bank. Does your friend work in Taipei? He doesn’t work in Taipei; he works in Taichung. |
Notes on Nos. 8-11
Wǔguānchù, "defense attache’s office," literally means "military attache’s office."
Zài...gōngzuò: Compare these two sentences:
|
Tā |
zài |
Táinán. | |
|
(He |
is in |
Tainan.) | |
|
Tā |
zài |
Táinán |
gōngzuò. |
|
(He |
in |
Tainan |
works.) |
The sentence Tā zài Tainan gōngzuò seems to have two verbs: zài, "to be in/at/on," and gōngzuò, "to work." But there is only one verb in the translation: "He works in Tainan." The translation reflects the fact that zài loses its full verb status in this sentence and plays a role like that of the English preposition "in." The zài phrase in Chinese, like the "in" phrase in English, gives more information about the main verb gōngzuò; that is, it tells where the action takes place. "He works," and the work takes place "in Tainan." In sentences like this, the word zài is a prepositional verb. Most relationships expressed by prepositions in English are expressed by prepositional verbs in Chinese.
You have also seen zài used as a prepositional verb in the sentence Nǐ zhù zài náli? "Where do you live?"—literally, "You live at where?" Notice that in this sentence the prepositional verb phrase zài náli comes after the main verb zhù. In the sentence Nǐ zài náli gōngzuò? the prepositional verb phrase zài náli comes before the main verb gōngzuò. Many things, such as stress, contrast, and other objects in the sentence, can influence the order of the prepositional verb phrase and the main verb. In some cases, either order may be used, as in Nǐ zài náli zhù? or Nǐ zhù zài náli? In other cases, the word order is fixed, as in Nǐ zài náli gōngzuò? For text examples, it will be pointed out whether or not the word order may be changed, and the reasons will be given.
Tā bú zài Táiběi gōngzuò, "He doesn’t work in Taipei": In this sentence, the negative adverb bù comes before the prepositional verb zài (which starts the complete predicate zài Táiběi gōngzuò), not before the main verb gōngzuò. This makes sense, for you are not saying "He does NOT WORK," but you are saying "He does NOT work IN TAIPEI."
|
Tā . |
gōngzuò. | ||
|
Tā |
bù |
gōngzuò. | |
|
Tā |
zài Táiběi |
gōngzuò. | |
|
Tā |
bú |
zài Táiběi |
gōngzuò. |
A. Response Drill
1. Speaker: Lī Xiānsheng zhù zai náli?
(cue) Guóbīn Dàfàndiàn
(Where is Mr. Lī staying?)
You: Tā zhù zai Guóbīn Dàfàndiàn (He is staying at the Ambassador Hotel.)
2. Gāo Xiānsheng zhù zai náli? Yuánshān Dàfàndiàn
3. Yáng Xiānsheng zhù zai náli? Dìyī Dàfàndiàn
4. Táng Xiānsheng zhù zai náli? zhèli
5. Símā Xiānsheng zhù zai náli? pengyou jiā
6. Liú Xiānsheng zhù zai náli? nàli
7. Wáng Xiānsheng zhù zai náli? Dìyī Dàfàndiàn
Tā zhù zai Yuanshān Dafandian.
Tā zhù zai Dìyī Dàfàndiàn.
Tā zhù zai zhèli.
Tā zhù zai péngyou jiā.
Tā zhù zai nàli.
Tā zhù zai Dìyī Dàfàndiàn.
B. Response Drill
1. Speaker: Tā pengyou jiā zai nali? You: Ta jia zai Boai Lu.
(cue) Bóài Lù (His/her house is on Boài
(Where is his/her friend’s Road.)
house?)
2. Lī Xiānsheng jiā zài náli? Tā jiā zài Dūnhuà Lù.
Dūnhuà Lù
3. Wáng Xiānsheng jiā zai nali? Nóngān Jiē
U. He Xiānsheng jiā zài náli? Dàlī Jiē
5. Bāó Xiānsheng jiā zài náli? Nánjīng Lù
6. Mǎ Xiānsheng jiā zài náli? Zhōngshān Lù
Ta jia zai Nongan Jie.
Tā jiā zài Dàlī Jiē.
Tā jiā zài Nánjīng Lù.
Tā jiā zài Zhōngshān Lù.
7. Lin Xiānsheng jiā zài nàli? Zhèjiāng Jiē
Tā jiā zài Zhèjiāng Jiē.
C. Response Drill
According to each cue, respond with the appropriate street number on
Dàlī Jiē. I
1. Speaker: Nī péngyoude dìzhī shi...?
(cue) U2hào
(What is your friend’s address?)
2. Nī péngyoude dìzhī shi...? kOhào
3. Nī péngyoude dìzhī shi...? 95hào
U. Nī péngyoude dìzhī shi...? 2éhào
5. Nī péngyoude dìzhī shi...? TThào
6. Nī péngyoude dìzhī shi...? 68hào
7. Nī péngyoude dìzhī shi...? UUhào
You: Tāde dìzhī shi Dàlī Jiē Sìshièrhào.
(His/her address is No. h2 Dali Street.)
Tāde dìzhī shi Dàlī Jiē Sìshihào.
Tāde dìzhī shi Dàlī Jiē Jiǔshiwǔ-hào.
Tāde dìzhī shi Dàlī Jiē Ershiliù-hào.
Tāde dìzhī shi Dàlī Jiē Qīshiqíhào.
Tāde dìzhī shi Dàlī Jiē Liùshihà-hào.
Tāde dìzhī shi Dàlī Jiē Sìshisìhào.
D. Response Drill
Give the appropriate Taiwān street addresses according to the cues.
1. Speaker: Nī péngyoude dìzhī shi...?
(cue) Dàlī Jiē U2hào (What is your friend’s address?)
2. Nī péngyoude dìzhī shi...?
Boài Lù 9Hhào
You: Tāde dìzhī shi Dàlī Jiē Sìshièrhào.
(His/her address is No. U2 Dàlī Street.)
Tade dìzhī shi Boài Lù Jiǔshisìhào.
3. Nǐ péngyoude dìzhǐ shi...? Dūnhuà Lù 55hào
U. Nǐ péngyoude dìzhǐ shi...? Nóngān Jiē 75hào
5• Nǐ péngyoude dìzhǐ shi...? Dàlǐ Jiē li2hào
6. Nǐ péngyoude dìzhǐ shi...? Dūnhuà Lù 55hào
7. Nǐ péngyoude dìzhǐ shi...? Bóài Lù 9^hào
Tāde dìzhǐ shi Dūnhuà Lù Wǔshiwǔhào.
Tāde dìzhǐ shi Nongān Jiē Qīshiwǔ-hào.
Tāde dìzhǐ shi Dàlǐ Jiē Sìshièrhào.
Tāde dìzhǐ shi Dūnhuà Lù Wǔshiwǔ-hào.
Tāde dìzhǐ shi Bóài Lù Jiǔshisìhào.
E. Transformation Drill
1. Speaker: Mǎ Tàitai jiā zài Dàlǐ Jiē Sìshièrhào.
(Mrs. Ma’s house is at No. U2 Dàlǐ Street.)
2. Zhào Tàitai jiā zài Bóài Lù Jiǔshisìhào.
3. Lǐ Tàitai jiā zài Dūnhuà Lù Wǔshiwǔhào.
U. He Tàitai jiā zài Nóngān Jiē Qīshiwǔhào.
5- Bāo Tàitai jiā zài Dàlǐ Jiē Sìshièrhào.
6. Wāng Tàitai jiā zài Bóài Lù Jiǔshisìhào.
7- Lin Tàitai jiā zài Dūnhuà Lù Wǔshiwǔhào.
You: Tāde dìzhǐ shi Dàlǐ Jiē Sìshièrhào.
(His/her address is No. U2 Dàlǐ Street.)
Tāde dìzhǐ shi Bóài Lù Jiǔshisìhào
Tāde dìzhǐ shi Dūnhuà Lù Wǔshiwǔhào.
Tāde dìzhǐ shi Nóngān Jiē Qīshiwǔhào.
Tāde dìzhǐ shi Dàlǐ Jiē Sìshièrhào
Tāde dìzhǐ shi Bóài Lù Jiǔshisìhào
Tāde dìzhǐ shi Dūnhuà Lù Wǔshiwǔhào.
F. Transformation Drill
Change each ma question to a ba question.
A. Nà shi Guóbīn Dàfàndiàn ma?
G. Response Drill
(Where does he/she work?)
U. Tā zài náli gōngzuò? Gāoxióng
|
You.: Nín shi Wèi Shàoxiào ba? (You are Major Weiss, aren’t you?) Tā shi Zhāng Shàoxiào ba? Nín shi Huáng Xiǎojiě ba? Nà shi Guóbīn Dàfàndiàn ba? Zhè shi Dìyī Dàfàndiàn ba? Nàwèi shi Wáng Tàitai ba? Nà shi Yuánshān Dàfàndiàn ba? You: Tā zài Táiběi gōngzuò. (He/she works in Taipei.) Tā zài Táinán gōngzuò. Tā zài Táizhōng gōngzuò. Tā zài Gāoxióng gōngzuò. Tā zài Jīlóng gōngzuò. Tā zài Táiběi gōngzuò. Tā zài Táizhōng gōngzuò |
H. Response Drill
i
1. Speaker: Tā zài yóuzhèngju gōngzuò ma?
(Dots he/she work at the post office?) ì
2. Tā zài Wǔguānchù gōngzuò ma?
3. Tā zài yínháng gōngzuò ma?
U. Tā zài Měiguo Yínháng gōngzuò ma?
5. Tā zài Táiwān Yínháng gōngzuò ma?
6. Tā zài Wǔguānchù gōngzuò ma?
7. Tā zài yóuzhèngju gōngzuò ma?
You: Duì le, tā zài yóuzhèngju gōngzuò.
(Yes, he/she works at the post office.)
Duì le, tā zài Wǔguānchù gōngzuò.
Duì le, tā zài yínháng gōngzuò.
Duì le, tā zài Měiguo Yínháng gōngzuò.
Duì le, tā zài Táiwān Yínháng gōngzuò•
Duì le, tā zài Wǔguānchù gōngzuò.
<■*
Dui le, tā Zai youzhèngju gōngzuò.
I. Transformation Drill
Add xiànzài, ’’now,
1. Speaker: Zhōu Xiānsheng zài Táiběi gōngzuò.
(Mr. Zhōu works in Taipei.)
2. Zhāng Xiānsheng zài Táizhōng gōngzuò.
3. Hù Xiāojiě zài Táinán gōngzuò.
U. Mǎ Xiaojiě zài Gāoxióng gōngzuò.
5. Zhāo Xiānsheng zài Jīlóng gōngzuò.
6. Chén Xiānsheng zài Táiběi gōngzuò.
7- Jiāng Xiāojiě zài Gāoxióng gōngzuò.
to each statement.
You: Zhōu Xiānsheng xiànzài zài Táiběi gōngzuò.
(Mr. Zhōu is working in Taipei now.)
Zhāng Xiānsheng xiànzài zài Táizhōng gōngzuò.
Hu Xiāojiě xiànzài zài Táinán gōngzuò.
Mā Xiāojiě xiànzài zài Gāoxióng gōngzuò.
Zhào Xiānsheng xiànzài zài Jīlóng gōngzuò.
Chén Xiānsheng xiànzài zài Táiběi gōngzuò.
Jiāng Xiāojiě xiànzài zài Gāoxióng gōngzuò.
J. Transformation Drill
Make each statement negative by
I* Speaker: Hú Tongzhì zài Běijīng gōngzuò.
(Comrade Hú works in Běijīng.)
2. Lī Tongzhì zài Nanjing gōngzuò.
3. Tā zài Qīngdǎo gōngzuò.
U. Lin Tongzhì zài Guangzhou gōngzuò.
5. Zhào Tongzhì zài Shànghǎi gōngzuò.
6. Chén Tongzhì zài Qīngdǎo gōngzuò.
7. Huang Tongzhì zài Běijīng gōngzuò.
changing zài to bú zài.
You: Hú Tongzhì bú zài Běijīng gōngzuò.
(Comrade Hu doesn’t work in Běijīng.)
Lī Tongzhì bú zài Nanjing gōngzuò
Tā bú zài Qīngdǎo gōngzuò.
Lin Tongzhì bú zài Guǎngzhōu gōngzuò.
Zhào Tongzhì bú zài Shànghǎi gōngzuò.
Chén Tongzhì bú zài Qīngdǎo gōngzuò.
Huang Tongzhì bú zài Běijīng gōngzuò.
K. Response Drill
Give negative responses to the according to the cues.
1. Speaker: Hú Xiǎojiě zài Táiběi gōngzuò ma?
(cue) Táinán (Does Miss Hú work in
Taipei?)
2. Lī Tàitai zài Táizhōng gōngzuò ma? Jīlong
3. Mǎ Xiānsheng zài zhèli gōngzuò ma? Gāoxiong
U. Tā zài Wǔguānchù gōngzuò ma? Měiguo Yínháng
5. Tā zài youzhèngjū gōngzuò ma? Taiwan Yínháng
questions, adding correct information
You: Tā bú zài Táiběi gōngzuò; tā zài Táinán gōngzuò.
(She doesn’t work in Taipei; she works in Tainan.)
Tā bú zài Táizhōng gōngzuò; tā zài Jīlong gōngzuò.
Tā bú zài zhèli gōngzuò; tā zài Gāoxiong gōngzuò.
Tā bú zài Wǔguānchù gōngzuò; tā zài Měiguo Yínháng gōngzuò.
Tā bu zai youzhengjū gōngzuò; ta zài Táiwān Yínháng gōngzuò.
6. Lin Xiānsheng zài nàli gōngzuò ma? zhèli
7. Liú Xiǎojiě zài Tāihěi gōngzuò ma? Táizhōng
Tā hú zài nàli gōngzuò; tā zài zhèli gōngzuò.
Tā hú zài Tāihěi gōngzuò; tā zài Táizhōng gōngzuò.
L. Response Drill
Give an affirmative or negative
1. Speaker: Tā zài Tāihěi gōngzuò ma?
(cue) Taihěi
(Does he/she work in Taipei?)
OR Tā zài Taihěi gōngzuò ma?
(cue) Táinán
(Does he/she work in Taipei?)
2. Tā zài Táizhōng gōngzuò ma? Jīlōng
3. Tā zài zhèli gōngzuò ma? zhèli
U. Tā zài yōuzhèngjú gōngzuò ma? Táiwān Yínháng
5. Tā zài Wǔguānchù gōngzuò ma? zhèli
6. Tā zài Měiguo Yínháng gōngzuò ma? Měiguo Yínháng
response according to each cue.
You: Duì le, tā zài Tāihěi gōngzuò. (Yes, he/she works in Taipei.)
Tā hú zài Táihěi gōngzuò; tā zài Táinán gōngzuò.
(He/she doesn’t work in Taipei; he/she works in Tainan.)
Tā hú zài Táizhōng gōngzuò; tā zài Jīlóng gōngzuò.
Duì le, tā zài zhèli gōngzuò.
Tā hu zai youzhèngjú gōngzuò; tā zài Táiwān Yínháng gōngzuò.
Tā hú zài Wǔguānchù gōngzuò; tā zài zhèli gōngzuò.
Duì le, tā zài Měiguo Yínháng gōngzuò.
UNIT 3
Topics Covered in This Unit
1. Members of a family.
2. The plural ending -men.
3. The question word Jǐ- ”how many."
U. The adverb dōu "all." 5. Several ways to express "and."
Materials You Will Need
1. The C-l and P-1 tapes, the Reference List and Reference Notes.
2. The C-2 and P-2 tapes, the Workbook.
3. The 3D-1 tape.
(in Taipei)
1. A: Nǐmen you háizi ma?
B: You, women you.
2. B: Liú Xiānsheng you Měiguo péngyou ma?
A: Tā méiyou Měiguo péngyou.
A: Tā you Yingguo péngyou.
3. AC Nǐmen you jǐge háizi?
B: Women you sānge háizi.
U. A: Nǐmen you jǐge nánháizi,
jǐge núháizi?
B: Women you liangge nánháizi, yíge núháizi.
5. B: Shi nánháizi, shi nuháizi?
A: Tāmen dōu shi nuháizi.
6. B: Hu Xiānsheng, Hú Tàitai ne? Tāmen you jǐge háizi?
A: Tāmen you liangge háizi.
B: Shi nánháizi, shi nuháizi?
A: Dōu shi núháizi.
7. A: Nǐmen háizi dōu zài zhèli ma?
B: Bù, liangge zài zhèli, yíge hái zài Měiguo.
8. A: Nǐ jiāli you shénme rén?
B: You wǒ tàitai gēn sānge háizi.
9. B: Nǐ jiāli you shénme rén?
A: Jiù you wǒ fùqin, mǔqin.
Do you have any children?
Yes, we have.
Does Mr. Liú have any American friends?
He doesn’t have any American friends.
He has English friends.
OR He has an English friend.
How many children do you have?
We have three children.
How many boys and how many girls do you have?
We have two boys and one girl.
Are they boys or girls?
All of them are girls.
How about Mr. and Mrs. Hu? How many children do they have?
They have two children.
Are they boys or girls?
Both of them are girls,
Are all your children here?
No. Two are here, and one is still in America.
What people are (there) in your family?
There’s my wife and three children
What people are (there) in your family?
Just my father and mother.
ADDITIONAL REQUIRED VOCABULARY (not presented on C-l and P-1 tapes)
|
10. |
zhǐ |
only- |
|
11. |
dìdi |
younger brother |
|
12. |
gēge |
older brother |
|
13. |
jiējie |
older sister |
|
1U. |
mèimei |
younger sister |
|
15. |
xiōngdì |
brothers |
|
16. |
jiěmèi |
sisters |
|
17. |
xiōngdì jiěmèi |
brothers and sisters |
|
18. |
fùmǔ |
parents |
|
19. |
zǔfù |
paternal grandfather |
|
20. |
zǔmǔ |
paternal grandmother |
|
21. |
wàizǔfù |
maternal grandfather |
|
22. |
wàizǔmǔ |
maternal grandmother |
|
23. |
baba |
papa, dad, father |
|
2U. |
mama |
momma, mom, mother |
|
VOCABULARY | |
|
baba |
papa, dad, father |
|
dìdi dōu |
younger brother all, both |
|
fùmǔ fùqin |
parent s father |
|
gēge gēn |
older brother and |
|
hái háizi |
still, yet children, child |
|
Jǐ-Jiāli JiěJie J iěmèi Jǐge jiù |
how many family older sister sisters how many only, .just |
|
liǎng- |
two |
|
māma méi mèimei méiyou -men mǔqin |
momma, mom, mother not, not to have younger sister not to have, there is not (plural suffix) mother |
|
nán-nánháizi nímen nu-nuháizi |
male boy you (plural) female girl |
|
tāmen |
they, them |
|
wàizǔfù wàizǔmǔ women |
maternal grandfather maternal grandmother we, us |
|
xiōngdì xiōngdì jiěmèi |
brothers brothers and sisters |
|
you |
to have, there is |
|
zhǐ zǔfù zǔmǔ |
only paternal grandfather paternal grandmother |
|
(introduced in |
Communication Game) |
|
yíng le |
(I’ve) won |
1. A: Nǐmen you háizi ma?
B: You, women you.
Do you have any children?
Yes, we have.
Notes on No. 1
The plural pronouns are formed hy adding -men to the singular pronouns
singular
|
wo |
(I) |
|
nǐ |
(you) |
|
tā |
(he/she) |
plural
|
women |
(we) |
|
nǐmen |
(you) |
|
tāmen |
(they) |
(You have already seen these pronoun forms used as possessives: "my," "our," etc. Later you will find that they are also used as objects: "me," "us," etc.)
Háizi: Chinese nouns have the same form for singular and plural. Háizi may he either "child" or "children."10 Usually the context will make clear whether a noun should be translated as singular or as plural, but not always. Chinese does not require that the matter be pinned down to the same extent that English does. Women you háizi is a perfectly good sentence, even though the only accurate translation is the clumsy "We have one or more children." We would prefer to have enough information to translate it either as "We have a child" or as "We have children." At times this ambiguity is an advantage. When you ask Nǐmen you háizi ma? you do not, after all, know whether you are referring to one child or to more than one child. To cover both bets in the same way in English, we have to say "Do you have any children?"
2. B: Liú Xiānsheng you Měiguo péngyou ma?
A: Tā méiyou Měiguo péngyou.
A: Tā you Yingguo péngyou.
Does Mr. Liú have any American friends?
He doesn’t have any American friends.
He has English friends. OR He has an English friend.
Note on No. 2
Měiyou: All the verts discussed so far form the negative with bù, with the single exception of you, ”to have," which has the irregular
negative form meiyou.
3. A: Nǐmen you jǐge háizi?
B: Women you sānge háizi.
U. A: Nǐmen you jǐge nánháizi, jǐge nùháizi?
B: Women you liǎngge nánháizi, yíge nùháizi.
How many children do you have?
We have three children.
How many boys and how many girls do you have?
We have two boys and one girl.
Notes on Nos. 3-^
In Peking speech, jǐ~, "how many," is usually used only when the number expected in an answer'is about 10 or less. In many other parts of China, speakers use jǐ- no matter how large a number is expected in the answer.
Counters: In Chinese, a noun cannot be counted or specified (i.e., used with něi-, "which," nèi-, "that," zhèi-, "this") without the addition of a bound word, a counter, to indicate the sort of thing being specified or counted. English has a few such counters, as "head" in "how many head of cattle" and "loaves" in "seven loaves of bread."
The counter used in a particular instance depends on the noun being specified or counted. Many nouns have special counters. You have already learned the polite counter for persons, -wèi. Other special counters refer in some way to the kind of thing the noun represents. The word for "hotel," for instance, has a special counter -jiā, "house," used for counting or specifying business establishments.
The general counter -ge is used with nouns that do not have special counters. For example, there is no special counter for the word pùbù, "waterfall," so you would say yíge pùbù, "one waterfall." You have already found the general counter -ge in specifying expressions such as neige háizi, "which child," and zhèige fàndiàn, "this hotel."
You may find that, in colloquial speech, nouns that have special counters are sometimes used with -ge anyway, but this tendency is looked down upon by many speakers.
Here are the numbers 1 through 10 with the counter -ge: yíge, liǎngge, sānge, sìge, wǔge, liùge, qíge, báge, jiùge, shíge The number 2 has a special form before a counter: liǎng-. Notice that the words for 1, 7, and 8 have Rising tones before -ge, because -ge is basically a Falling-tone syllable. (See also Unit 5» notes on No. 9 and No. 10.)
Nan-, nù-: The "bound words nan-, "male," and nu-, "female," are often used in compounds; for example, nánpéngyou, ""boyfriend," and nútóngzhì, "(woman) Comrade."
"And": In Chinese, a word for "and" is not needed "between parallel phrases like liǎngge nánháizi, yíge núháizi, "two boys, (and) one girl." A pause is usual between the two phrases, but even the pause is sometimes omitted.
5. B: Shi nánháizi, shi nuháizi?
A: Tāmen dōu shi nuháizi.
6. B: Hu Xiānsheng, Hu Taitai ne? Tāmen you jǐge háizi?
A: Tāmen you liǎngge háizi.
B: Shi nánháizi, shi nuháizi?
A: Dōu shi nuháizi.
7. A: Nǐmen háizi dōu zài zhèli ma?
B: Bù, liǎngge zài zhèli, yíge hái zài Meiguo.
Are they boys or girls?
All of them are girls.
How about Mr. and Hrs. Hu? How many children do they have?
They have two children.
Are they boys or girls?
Both of them are girls.
Are all your children here?
No. Two are here, and one is still in America.
Notes on Nos. 5-7
Shi nánháizi, shi nuháizi? In Chinese, an "or" question (i.e., a question asking which of two alternatives is true) may be asked simply by stating the two alternatives with a pause between. In this kind of "or" question, the verb must appear in each alternative. (You will learn other ways of making "or" questions in later modules.)
Dōu may usually be translated in a sentence as "all (of)," or, if it refers to only two things, as "both (of)." Literally, dōu means "in all cases," "uniformly," "entirely," "completely." Since it is an adverb, it must be placed after the subject of a sentence and before the verb (like the adverb yě, "also").
8. A: Nǐ jiāli you shénme rén?
B: You wǒ tàitai gēn sānge háizi.
9. B: Nǐ Jiāli you shénme rén?
A: Jiù you wǒ fùqin, mǔqin.
What people are (there) in your family?
There’s my wife and three children.
What people are (there) in your family?
Just my father and mother.
Notes on Nos.8-9
Literally, the phrase nǐ Jiāli means "in your home" (jiā, "home"; -lǐ, "in"). In this sentence it is extended to mean "the people in your home," that is, "your family."
Nǐ jiāli - you - shénme rén? Phrase hy phrase, this question is: "in your family - there are - what people?" The word "family" can Le taken to mean either all your relatives or only those living in your household.
By itself, the verb you means "to be," "to exist." You have now seen it translated two ways: 1) as "have," with a personal subject: Women ^ǒu sānge háizi. "We have three children." 2) as "there is/are," in the so^ called impersonal construction: Nǐ Jiāli ^ǒu shénme rén? "What people are (there) in your family?"
In exchange 8, the verb you in the answer is translated as "there’s." Some English speakers may find this translation too colloquial. The answer can also be translated just by listing the family members, with no verb in the English, as was done in exchange 9- Chinese almost always keeps the verb in the answer to a question, while English tends to leave it out.
How to say "and": Chinese has several words for "and." Gēn is the word for "and" when joining nouns or noun phrases. Yě is the word for "and" when joining verbs, verb phrases, or whole sentences:
Wǒ bú xìng Lǐ, yě bú xìng Lǔ. Wǒ xìng Lú.
(I’m not surname! Lǐ,- and I’m not surname! Lǔ. I’m surname! Lu. ) Chinese tends to use a word for "and" when the noun phrases being joined are not parallel and not to use one when the phrases are parallel:
|
.NOT PARALLEL | ||||||
|
You |
wǒ tàitai (possessor) (noun) |
£®n |
sānge háizi. (number) (noun) |
(There’s my wife and three children.) | ||
|
PARALLEL | ||||||
|
You |
liangge nánháizi (number) (noun) |
9 |
yíge núháizi. (number) (noun) |
(There are two boys and one girl.) | ||
|
While "and" is often omitted in Chinese, between nouns and between noun phrases— |
it may be added for just as in English. |
emphasis | ||||
Jiù, "only," "just," is an adverb (like yě and dōu). The use of jiù to mean "only" is probably mostly confined to the Peking dialect.11 Speakers from other parts of the country will not necessarily use jiù to mean "only" or understand it as such. A more widely used and understood word for "only" is zhǐ. Thus the answer in exchange 9 could also be Zhǐ you wǒ fùqin, mǔqin.
Notes on Additional Required Vocabulary
Chinese is much more precise than English in its terms for family members. There is not Just one word for "brother" or "sister" but words for "older brother," "younger brother," "older sister," and "younger sister."
older younger
|
(brother) |
gēge |
dìdi |
|
(sister) |
jiějie |
mèimei |
|
(brothers) |
xiongdì |
|
(sisters) |
jiěmèi |
When referring to both older and younger sisters, the term jiěmèi is used. When referring to both older and younger brothers, the term xiōngdì is used. When referring to sisters and brothers, the phrase xiōngdì Jiěmèi is used.
Chinese also distinguishes between grandparents on the father’s side of the family and grandparents on the mother’s side:
father's side mother's side
|
(grandfather) |
zǔfù |
wàizǔfù |
|
(grandmother) |
zǔmǔ |
wàizǔmǔ |
The syllable wài- in wàizǔfù and wàizǔmǔ literally means "outer" or "outside."
A. Response Drill
Give affirmative answers, using you.
1. Speaker: Tā you Měiguo péngyou ma?
(Does he/she have any American friends?)
2. Tā you Zhōngguo péngyou ma?
(Does he/she have Chinese friends?)
3. Tā you Déguo péngyou ma? (Does he/she have German friends?)
h. Tā you Rìhěn péngyou ma?
(Does he/she have Japanese friends?)
5. Tā you Jiānádà péngyou ma? (Does he/she have Canadian friends?)
6. Tā you Èguo péngyou ma?
(Does he/she have Russian friends?)
7. Tā you Yīngguo péngyou ma?
(Does he/she have English friends?)
You: You, tā you Měiguo péngyou. (Yes, he/she has some American friends.)
You, tā you Zhōngguo péngyou.
(Yes, he/she has Chinese friends.)
You, tā you Déguo péngyou.
(Yes, he/she has German friends.)
You, tā you Rìhěn péngyou.
(Yes, he/she has Japanese friends.)
You, tā you Jiānádà péngyou.
(Yes, he/she has Canadian friends.)
You, tā you Eguo péngyou.
(Yes, he/she has Russian friends.)
You, tā you Yīngguo péngyou.
(Yes, he/she has English friends.)
B. Response Drill
Give affirmative answers, using
1. Speaker: Tā you gēge ma?
(Does he/she have an older brother?)
2. Tā you jiějie ma?
3. Tā you dìdi ma?
You: You, tā you gēge.
(Yes, he/she has an older brother.)
You, tā you Jiějie.
You, tā you dìdi.
1. Tā you mèimei ma?
5. Tāmen you háizi ma?
6. Tāmen you nánháizi ma?
7. Tāmen you nuháizi ma?
C. Response Drill
Give negative answers, using méiyou.
1. Speaker: Zhāng Xiānsheng you jiějie ma?
(Does Mr. Zhāng have an older sister?)
2. Wáng Xiānsheng you nuháizi ma?
3. Lin Xiānsheng you mèimei ma?
h. Tā tàitai you gēge ma?
5. Huáng Xiǎojiě you dìdi ma?
6. Mǎ Xiānsheng Mǎ Tàitai you háizi ma?
7. Yáng Tàitai you nánháizi ma?
You, tā you mèimei.
You, tāmen you háizi.
You, tāmen you nánháizi.
You, tāmen you nuháizi.
You: Méiyou, Zhāng Xiānsheng méiyou jiějie.
(No, Mr. Zhāng doesn’t have an older sister.)
Méiyou, Wǎng Xiānsheng měiyou nuháizi.
Méiyou, Lin Xiānsheng méiyou mèimei
Méiyou, tā tàitai méiyou gēge.
Méiyou, Huáng Xiǎojiě méiyou dìdi.
Méiyou, Mǎ Xiānsheng Mǎ Tàitai méiyou háizi.
Méiyou, Yáng Tàitai méiyou nánháizi
D. Response Drill
Give a negative or affirmative response to each question according to
the
cue.
1. Speaker: Nǐ you dìdi ma?
(cue) you
(Do you have a younger brother?)
OR Nǐ you dìdi ma?
(cue) méiyou
(Do you have a younger brother?)
You: You, wǒ you didi.
(Yes, I have a younger brother.)
Méiyou, wǒ méiyou dìdi.
(No, I don’t have a younger brother.)
2. Tā you měimèi ma? méiyou
3. Wang Tongzhì you gēge ma? méiyou
U. Tāmen you háizi ma? you
5. Guō Tongzhì you Yīngguo péngyou ma? méiyou
6. Chén Xiānsheng you Fàguo péngyou ma? you
Méiyou, tā méiyou mèimei.
Méiyou, Wang Tongzhì méiyou gēge.
You, tāmen you háizi.
Méiyou, Guō Tongzhì méiyou Yīngguo péngyou.
You, Chén Xiānsheng you Fàguo péngyou.
E. Transformation Drill
Change each ma question to a jī question.
1. Speaker: Tamen you háizi ma? (Do they have children?)
2. Wáng Xiānsheng you jiějie ma?
3. Tāmen you nánháizi ma?
U. Nǐmen you nuháizi ma?
5. Fāng Xiāojiě you gēge ma?
6. Zhao Tàitai you dìdi ma?
7. Tā you Zhōngguo péngyou ma?
You: Tāmen you jīge háizi?
(How many children do they have ?)
Wáng Xiānsheng you jīge jiějie?
Tāmen you jīge nánháizi?
Nǐmen you jīge nuháizi?
Fāng Xiaojiě you jīge gēge?
Zhao Tàitai you jīge dìdi?
Tā you jīge Zhōngguo péngyou?
F. Response Drill
Respond to the questions according to the cues.
1. Speaker: Zhāng Tongzhi you jige háizi?
(cue) 2
(How many children does Comrade Zhāng have ?)
2. Zhào Tongzhì you jīge nuháizi?
You: Zhang Tongzhi you liangge háizi.
(Comrade Zhāng has two children.)
Zhào Tongzhì you yíge nuháizi.
3. Chén Tongzhì you jǐge nánháizi? 3
U. Jiāng Tongzhì you jǐge Měiguo péngyou? 5
5. Fāng Tongzhì you jǐge mèimei? 1
6. Wáng Xiānsheng you jǐge Zhōngguo péngyou? 2
7. Tā you jǐge gēge? 3
Chén Tongzhì you sānge nánháizi.
Jiāng Tongzhì you wǔge Měiguo péngyou.
Fāng Tongzhì you yíge mèimei.
Wáng Xiānsheng you liǎngge Zhōngguo péngyou.
Tā you sānge gēge.
G. Expansion Drill
Add the cues to the questions.
1. Speaker: Tā you jǐge nánháizi? (cue) nuháizi
(How many sons does he/ she have?)
2. Huáng Xiānsheng you jǐge Měiguo péngyou? Fàguo péngyou
3. Lī Tāitai you jǐge gēge? dìdi
U. Sūn Xiǎojiě you jǐge jiějie? mèimei
5. Tāmen you jǐge Yīngguo péngyou? Déguo péngyou
6. Sòng Xiānsheng you jǐge nánháizi? nùháizi
7. Tā you jǐge gēge? jiějie
You: Tā you jǐge nánháizi, jǐge nùháizi?
(How many sons and how many daughters does he/she have?)
Huáng Xiānsheng you jǐge Měiguo péngyou, jǐge Fàguo péngyou?
Lī Tàitai you jǐge gēge, jǐge dìdi?
Sūn Xiǎojiě you jǐge jiějie, jǐge mèimei?
Tāmen you jǐge Yīngguo péngyou, jǐge Déguo péngyou?
Song Xiānsheng you Jǐge nánháizi, jǐge nuháizi?
Tā you jǐge gēge, jǐge jiějie?
H. Response Drill
Use 1) Jiù + the number and 2) méiyou to answer each question.
1. Speaker: Tā you Jǐge nánháizi, Jǐge nuháizi? (cue) 2
(How many sons and how many daughters does he/she have?)
2. Lǐ Xiānsheng you Jǐge gēge, Jǐge JiěJie? 1
3. Zhāng Xiǎojiě you Jǐge JiěJie, Jǐge mèimei? 2
U. Zhōu Tàitai you Jǐge gēge, jǐge dìdi? 1
5. Hu Xiānsheng you jǐge dìdi, jǐge mèimei? 2
6. Tā you Jǐge Fàguo péngyou, jǐge Déguó péngyou? 2
7. Tāmen you jǐge nánháizi, Jǐge núháizi? 1
You: Tā Jiù you liangge nánháizi, méiyou nuháizi.
(He/she has only two sons, no daughters.)
Tā jiù you yíge gēge, méiyou JiěJie.
Tā jiù you liangge JiěJie, méiyou mèimei.
Tā jiù you yíge gēge, méiyou dìdi
Tā jiù you liangge dìdi, méiyou mèimei.
Tā jiù you liangge Fàguo péngyou, méiyou Déguó péngyou.
Tāmen Jiù ^ou yíge nánháizi, méiyou núháizi.
I. Response Drill
1. Speaker: Tā you jǐge nánháizi, jǐge nuháizi? (cue) 2, 3
(How many sons and how many daughters does he/she have?)
2. Zhōu Tongzhì you jǐge gēge, jǐge dìdi? 1, 2
3. Zhāng Tongzhì you jǐge JiěJie, jǐge mèimei? 3, 1
U. Tāmen you jǐge Zhōngguo péngyou, jǐge Rìběn péngyou? 5, 1
You: Tā you liangge nánháizi, sānge nuháizi.
(He/she has two sons and three daughters.)
Zhōu Tongzhì you yíge gēge, liangge dìdi.
Zhāng Tongzhì you sānge JiěJie, yíge mèimei.
Tāmen you wúge Zhōngguo péngyou, yíge Rìběn péngyou.
5. Chén Tongzhì you jǐge Yīngguo péngyou, jǐge Déguo péngyou? 3, 2
6. Liú Tongzhì you jǐge nánháizi, jǐge nuháizi? 2, 2
7. Tā you jǐge jiějie, jǐge gēge?
1, 3
Chén Tongzhì you sānge Yīngguo péngyou, liǎngge Déguo péngyou.
Liú Tongzhì^you liǎngge nánháizi, liǎngge nuháizi.
Tā you yíge jiějie, sānge gēge.
J. Response Drill
The speaker ■will ask you two questions for each exchange. Use the number cue to answer the first question. Answer the second question with dōu and the first alternative.
1. Speaker: Qingwen, tāmen you jige You: Tamen you liangge haizi. háizi? (They have two children.)
(cue) 2
(May I ask, how many children do they have?)
Shi nánháizi, shi nuháizi? Dōu shi nánháizi.
(Are they boys or girls?) (Both of them are boys.)
2. Qǐngwèn, tā you jǐge xiōngdì?
3
Shi gēge, shi dìdi?
3. Qǐngwèn, tā you jǐge jiěmèi?
2
Shi jiějie, shi mèimei?
U. Qǐngwèn, tā you jǐge Zhōngguo péngyou? 4
Shi nánpéngyou, shi nupéngyou?
5. Qǐngwèn, tā you jǐge Měiguo péngyou? 2
Shi nánpéngyou, shi nupéngyou?
6. Qǐngwèn, tā you Jǐge háizi?
3
Shi nánháizi, shi nuháizi?
Tā you sānge xiōngdì.
Dōu shi gēge.
Tā you liǎngge jiěmèi.
Dōu shi jiějie.
Tā you sìge Zhōngguo péngyou.
Dōu shi nánpéngyou.
Tā you liǎngge Měiguo péngyou.
Dōu shi nánpéngyou.
Tā you sānge háizi.
Dōu shi nánháizi.
7. Qǐngwèn, tāmen you jǐge háizi? Tāmen you wǔge háizi. 5
Shi nánháizi, shi nuhaizi? Dōu shi nánháizi.
1U1
K. Substitution Drill
1. Speaker: Qǐngwèn, nǐmen jiāli you shénme rén? (cue) tāmen
2. Qǐngwèn, tāmen jiāli you shénme rén? Fāng Xiānsheng
3. Qǐngwèn, Fāng Xiānsheng jiāli you shénme rén?
Zhāng Xiāojiě
H. Qǐngwèn, Zhāng Xiāojiě Jiāli you shénme rén? Lǐ Mínglǐ
5. Qǐngwèn, Lǐ Mínglǐ jiāli you shénme rén? nǐ gēge
6. Qǐngwèn, nǐ gēge jiāli you shénme rén? nǐ péngyou
7. Qǐngwèn, nǐ péngyou jiāli you shénme rén?
You: Qǐngwèn, tāmen jiāli you shénme rén?
Qǐngwèn, Fang Xiānsheng jiali you shénme rén?
Qǐngwèn, Zhāng Xiāojiě jiāli you shénme ren?
Qǐngwèn, Lǐ Mínglǐ jiāli you shénme rén?
Qǐngwèn, nǐ gēge jiāli you shénme rén?
Qǐngwèn, nǐ péngyou jiāli you shénme rén?
L. Expansion Drill
Add. the cue and gēn to each sentence.
1. Speaker: Tā you yíge háizi.
(cue) tàitai (He/she has one child.)
2. Hu Xiānsheng you yíge mèimei. mǔqin
3. Lǐ Xiāojiě you liǎngge dìdi. jiějie
H. Liu Xiānsheng you yíge nuháizi. mǔqin
5. Lin Tàitai you sānge nánháizi. xiānsheng
6. Tā you yíge jiějie. fùqin
7. Wáng Xiānsheng you sìge háizi. tàitai
You: You tā tàitai gēn yíge háizi. (There’s his wife and one child.)
You tā mǔqin gēn yíge mèimei.
You tā jiějie gēn liǎngge dìdi.
You tā mǔqin gēn yíge nuháizi.
|
You |
tā xiānsheng gēn |
sānge nánháizi. |
|
You |
tā fùqin gēn yíge |
jiějie. |
|
You |
tā tàitai gēn sìge háizi. | |
M. Response Drill
1. Speaker: Tāmen háizi dōu zài zhèli ma?
(cue) Měiguo
(Are all of their children here?)
2. Tā gēge, JiěJie dōu zài zhèli ma? Jiāzhōu
3. Tā Měiguo péngyou dōu zài zhèli ma? Táizhōng
U. Tā dìdi, mèimei dōu zài Zhōngguo ma? Dézhōu j
5- Wáng Xiānshengde háizi dōu zài Dézhōu ma? Jiāzhōu
6. Nèi liǎngwèi Xiānsheng dōu zài Shànghǎi ma? Qīngdǎo
7. Tāmen háizi dōu zài Xiānggǎng ma? Měiguō
You:
Bù, yíge zài zhèli, yíge hái zài Měiguo.
(No. One is here, and one is still in America.)
Bù, yíge zài zhèli, yíge hái zài Jiāzhōu.
Bù, yíge zài zhèli, yíge hái zài Táizhōng.
Bù, yíge zài Zhōngguo, yíge hái zài Dézhōu.
Bù, yíge zài Dézhōu, yíge hái zài Jiāzhōu.
Bù, yíge zài Shànghǎi, yíge hái zài Qīngdǎo.
Bù, yíge zài Xiānggǎng, yíge hái zài Měiguo.
UNIT 4
Topics Covered in This Unit
1. Arrival and departure times.
2. The marker le.
3. The shi... de construction.
Materials You Will Need
1. The C-l and P-1 tapes, the Reference List and Reference Notes.
2. The C-2 and P-2 tapes, the Workbook.
3. The 1+D-l tape.
(in Běijīng)
1. A: Nī àiren lai ma?
B: Tā lai.
2. A: Nī àiren lai le ma?
B: Lai le, tā lai le.
3. A: Nī àiren yě lai le ma?
B: Tā hāi méi lai.
U. A: Tā shénme shíhou lai?
B: Tā míngtiān lai.
5. A: Nī péngyou shénme shíhou dào?
B: Tā yījīng dào le.
6. A: Tā shi shénme shíhou dàode?
B: Tā shi zuotiān dàode.
7. A: Nī shi yíge rén laide ma?
B: Bú shi , wǒ 'bú shi yíge rén láide.
8. A: Nī shénme shíhou zǒu?
B: Wǒ Jíntiān zǒu.
9. A: Nī něitiān zǒu?
B: Wǒ jintiān zǒu.
Is your wife coming?
She is coming.
Has your wife come?
Yes, she has come.
Has your wife come too?
She hasn’t come yet.
When is she coming? She is coming tomorrow.
When is your friend arriving?
He has already arrived.
When did she arrive?
She arrived yesterday.
Did you come alone? No, I didn’t come alone.
When are you leaving?
I’m leaving today.
What day are you leaving?
I’m leaving today.
ADDITIONAL REQUIRED VOCABULARY (not presented on C-l and P-1 tapes)
|
10. |
hòutiān |
the day after tomorrow |
|
11. |
qiántiān |
the day before yesterday |
|
12. |
tiāntiān |
every day |
|
13. |
érzi |
son |
|
1U. |
nūér |
daughter |
dào
érzi
hòut i ān (hòut ian) Jīntiān (jintian) lai le
míngtiān (míngtian) něitiān
nuer
qiántiān (qiántiān) shénme shíhou shi... de
-tiān
tiāntiān
yíge rén
yǐjīng (yǐjing)
zǒu
zuotiān (zuotian)
to arrive
son
the day after tomorrow
today
to come
(combined le: new-situation and completion marker)
tomorrow
what day
daughter
the day before yesterday
when
(focus construction)
day
every day
singly, alone
already
to leave
yesterday
(introduced on C-2 and P-2 tapes)
J iéhūn méi jiéhūn
to get married, to be married not to be married
(introduced in Communication Game)
kěshi but
xiǎng to think, to think that
1. A:
B:
Nǐ àiren lái ma? Tā lái.
Is your wife coming? She is coming.
Notes on No. 1
These sentences refer to future time, hut lái is not a future-tense form. Strictly speaking, Chinese verbs do not have tenses. The same form of the verb can be used in present, past, and future contexts.
We translated the sentence Tā zài Táinán gōngzuò as "He works in Tainan," assuming a present context. But in a past context we could translate it as "He worked in Tainan"; and in a future context we could translate it as "He will work in Tainan." The verb form gōngzuò does not tell you what time is being talked about. You have to look elsewhere for that information, perhaps to a time expression like "last year" or "now" or "tomorrow," or to the conversational setting.
2. A: Nǐ àiren lái le ma? Has your wife come?
B: Lái le, tā lái le. Yes, she has come.
Notes on No. 2
Aspect: Le is an aspect marker. Through the use of le and other one-syllable markers (de, zhe, ne, guo), the; Chinese language indicates whether the occurrence being talked about is completed, ongoing, about to occur, or experienced for the first time. Aspect markers may also be used to indicate whether the whole situation in the sentence is a new, changed situation.
"Completion" and "new situation" are not tenses but aspects. Aspect is a way of talking about events or activities in relation to time. While tenses categorize action in terms of features such as completedness and change. Aspect markers are very different from tense markers because the same aspect may be used in past, present, and future contexts. We may speak of an action that will be completed as of a future time, for example, or of a situation that was new as of a past time. English communicates these ideas to a certain extent through the use of many different tenses for the verb (future perfect, simple past, etc.). Chinese does this through the use of aspect markers and time words. The verbs themselves do not change form.
Le is used in exchange 2 to indicate two aspects—completion and new situation. (it is, however, often used to indicate only one aspect.) Here, it indicates that the person has come, meaning that the action is completed, and that the person is now here, a changed situation. When the marker le refers to both these aspects, we call it "combined le.” Combined le can be thought of as a telescoping of the completion le followed by a new-situation la: le le becomes le. In the next two units, you will see the marker le used to indicate each of these aspects separately.
3. A: Nī àiren yě lai le ma?
B: Tā hái méi lai.
Has your wife come too? She hasn’t come yet.
Notes on No. 3
Negative of combined le:
Compare these affirmative and negative forms:
affirmative
negative
affirmative
negative
|
lái |
(is coming) | |||
|
bù |
lái |
(isn’t coming) |
|
lái |
le |
(has come Cnowl) | ||
|
hái |
méi(you) |
lái |
(hasn’t come Cyetl) |
Notice that the marker le does not appear in the negative answer in the exchange.
Hai: The negative of a sentence containing combined le will include the adverb hái, "yet," as well as the negative mei(you). In English, the "yet" is frequently left out.
Like other adverbs such as yě, hái always precedes the verb, although not always directly. Elements such as the negatives bù and méi may come between an adverb and a verb.
Méiyou, "not have," is used to negate the aspect of completion; that is, to say that a certain event did not take place. Méiyou may be shortened to méi. Here are three possible negative answers to the question Tā lái le ma? "Has he come?"
|
Tā |
hai |
méiyou |
lai. |
(He hasn’t come yet.) |
|
Tā |
hai |
méi |
lai. |
(He hasn’t come yet.) |
|
Hái |
méiyou. |
(Not yet.) |
U. A: Tā shénme shíhou lai?
B: Tā míngtiān lai.
5. A: Nǐ péngyou shénme shíhou
dào?
B: Tā yǐjīng dāo le.
When is she coming?
She is coming tomorrow.
When is your friend arriving?
He has already arrived.
Note on Nos. U-5
Position of time words: Time phrases occupy the same position in a sentence as adverbs such as yě and hai—between the subject and the verb.
6. A: Tā shi shénme shíhou dàode?
B: Tā shi zuotiān dàode.
When did she arrive? She arrived yesterday.
|
Tā |
shénme shíhou |
lai? |
(When is she coming?) | |
|
Tā |
míngtiān |
lai. |
(She is coming tomorrow.) | |
|
Tā |
yě |
lai |
le. |
(She has come too.) |
7. A: Nǐ shi yíge rén laide ma?
Did you come alone?
No, I didn’t come alone.
B: Bu shi, wǒ bú shi yíge rén láide.
Notes on Nos. 6-7
(Shi)...de:12 This is another way to indicate the aspect of completion. The aspect marker le and the pattern (shi)... de perform different functions and convey different meanings. This is how they are different:
The aspect marker le or its negative mei(you) is used, when the center of interest is whether or not an action took place. For example, if you do not know whether Mr. Sūn came or not, you would ask
Tā láile méiyou? Did he come?
and you would be answered either
Tā láile. He came,
or
Tā méi lái. He didn’t come.
In this question and answer, you use le or its negative méi(you) because the focus is on whether the action took place or not.
The purpose of the (shi)... de construction, on the other hand, is to focus on additional information about a completed action; that is, the construction is used when the center of interest is NOT whether or not a certain action took place. For example, once it has been established that Mr. Sūn did in fact come, the (shi)... de construction will probably be used for any additional questions and answers about his coming. For example:
Tā shi shénme shíhou láide? When did he come?
Tā shi zuotiān láide. He came yesterday.
Tā shi yíge rén láide ma? Did he come alone?
Tā shi yíge rén láide. He came alone.
These questions and answers use the (shi)... de construction because you already know that Mr. Sūn came and now you are asking for additional information about his visit. Many types of additional information can be focus points for which the (shi)... de construction is used. In Tā shi shénme shíhou láide? the additional information is the time when something happens. In Tā shi yíge rén láide ma? the information asked for is the manner in which something takes place. Other possible focus points are place, cause of action, goal of action, and performer of action.
Now let’s take a look at how shi and de function separately in this construction. The verb shi, coming before the phrase which is the center of interest, serves as a signal that what follows is emphasized. The verb "to be" is often used in a similar way in English to mark the center of interest:
Tā shi zuotiān láide ma? Was it yesterday that he came?
Another way of showing the center of interest in English is by word stress. Here is a comparison between focusing in Chinese with (shi)... de and focusing in English with stress:
Tā lái le ma? Has he come?
Lái le. Yes, he has.
Tā shi zuotiān láide ma? Did he come YESTERDAY?
Shi, tā shi zuotiān láide. Yes, YESTERDAY.
The marker de coming after the verb indicates completion. When the marker de is not used in the séntence, that sentence no longer describes a completed event. The marker shi by itself emphasizes something about the action. Compare these sentences:
Tā shi Jintiān lái. She is coming (later) today.
Tā shi Jintiān láide. She came (earlier) today.
For the time being, you will not use shi without de.
The negative form of the (shi)... de construction is bú shi... de.
Compare this with the negatives you have already learned:
|
Tā |
shi |
zuótiān |
lái |
-de. |
(It was YESTERDAY that he came.) | ||
|
Tā |
bú |
shi |
zuótiān |
lái |
-de. |
(It wasn’t YESTERDAY that he came.) |
|
Tā |
lái |
le. |
(He has come.) | ||||
|
Tā |
hái |
méi |
lái. |
(He hasn’t come. ) |
|
Tā |
(míngtian) |
lái. |
(He is coming Ctomorrowl.) | ||||
|
Tā |
(míngtiān) |
bù |
lái. |
(He isn’t coming CtomorrowU.) |
Notice that in a shi... de construction the negative bù precedes the verb shi rather than the main verb. Short answers are also formed with shi rather than with the main verb:
Nǐ shi yíge rén láide ma? Did you come alone?
Shi, wǒ shi yíge rén láide. Yes, I came alone.
Bú shi, wǒ bú shi yíge rén láide. No, I didn’t come alone.
The (shi)... de construction is not used in every completed-action sentence containing a time, place, or manner phrase. If the center of interest is still whether or not the action took place, le is used. If, for example, you knew that someone was expected to come yesterday and you wanted to find out only whether he actually did come, the conversation might go as follows:
A: Tā zuótiān méi lái ma? Didn’t he COME yesterday?
B: Tā zuótiān lái le. He DID COME yesterday.
to
Literally, yíge rén means "one person." When describe how someone does something, translate
the expression is used it as "alone."
|
8. |
A: B: |
Nǐ Wǒ |
shénme shíhou zǒu? Jīntiān zǒu. |
When are you leaving? I’m leaving today. |
|
9. |
A: |
Nǐ |
něitiān zǒu? |
What day are you leaving? |
|
B: |
Wǒ |
Jīntiān zǒu. |
I’m leaving today. |
Note on Nos. 8-9
The word for "day" is the bound word -tiān. To ask "what day" (literally "which day"), the bound word něi-, "which," is combined with the bound word -tiān, "day": něitiān (like něiguo, "which country").
|
něitiān? |
(what day?/which day?) |
|
qiántiān |
(day before yesterday) |
|
zuotiān |
(yesterday) |
|
Jīntiān |
(today) |
|
míngtiān |
(tomorrow) |
|
hòutiān |
(day after tomorrow) |
Some speakers say the -tiān in these words in the Neutral tone: qiántiān zuotian, Jintian, míngtiān, hòutian.
|
A. |
Transformation Drill | |||
|
1. |
Speaker: Nǐ àiren lái ma? (is your spouse coming?) |
You: Nǐ àiren lái le ma? (Has your spouse come?) | ||
|
2. |
Nǐ |
fùmǔ zǒu ma? |
Nǐ |
fùmū zǒu le ma? |
|
3. |
Nǐ |
péngyou zǒu ma? |
Nǐ |
péngyou zǒu le ma? |
|
U. |
Nǐ |
gēge zǒu ma? |
Nǐ |
gēge zǒu le ma? |
|
5. |
Nǐ |
jiējie lái ma? |
Nǐ |
JiěJie lái le ma? |
|
6. |
Nǐ |
mèimei lái ma? |
Nǐ |
mèimei lái le ma? |
|
7. |
Nǐ |
dìdi zǒu ma? |
Nǐ |
dìdi zǒu le ma? |
B. Transformation Drill
1. Speaker: Tā lai le ma? (Has he/she come?)
2. Mao Tongzhì dào le ma?
3. Lǐ Tongzhì zǒu le ma?
1. Mǎ Tongzhì zǒu le ma?
5. Zhāng Tongzhì lai le ma?
6. Huang Tongzhì dāo le ma?
7. Sūn Tongzhì zǒu le ma?
You: Tā yǐjīng lai le ma?
(Has he/she already come?)
Mao Tongzhì yǐjīng dào le ma?
Lǐ Tongzhì yǐjīng zǒu le ma?
Mǎ Tongzhì yǐjīng zǒu le ma?
Zhāng Tongzhì yǐjīng lái le ma?
Huang Tongzhì yǐjīng dào le ma?
Sūn Tongzhì yǐjīng zǒu le ma?
C. Response Drill
1. Speaker: Tā lai le ma? (Has he/she come?)
2. Wang Tongzhì zǒu le ma?
3. Lǐ Tongzhì dào le ma?
U. He Tongzhì lai le ma?
5. Zhào Tongzhì lai le ma?
6. Liú Tongzhì zǒu le ma?
7. Sūn Tongzhì lai le ma?
You: Tā hái méi lái.
(He/she hasn’t come yet.)
|
Tā |
hái |
mei |
zǒu. |
|
Tā |
hái |
méi |
dào. |
|
Tā |
hái |
méi |
lái • |
|
Tā |
hái |
méi |
lái • |
|
Tā |
hái |
méi |
zǒu. |
|
Tā |
hái |
méi |
lái. |
D. Response Drill
1. Speaker: Tā zǒu le ma?
(Has he/she left?)
Tā àiren ne?
(And his/her spouse?)
You: Zǒu le, ta yǐjīng zǒu le.
(Yes, he/she has already left.)
Tā àiren yě yǐjīng zǒu le. (His/her spouse has already left too.)
2. Tā lái le ma?
Tā àiren ne?
3. Tā dào le ma?
Tā àiren ne?
4. Lǐ Tongzhì zǒu le ma?
Tā gēge ne?
5. Wáng Tongzhì lái le ma? Tā àiren ne?
6. Zhào Xiānsheng dào le ma? Tā dìdi ne?
7. Zhāng Tongzhì zǒu le ma? Chén Tongzhì ne?
Lái le, tā yǐjīng lái le.
Tā àiren yě yǐjīng lái le.
Dào le, tā yǐjīng dào le.
Tā àiren yě yǐjīng dào le.
Zǒu le, tā yǐjīng zǒu le.
Tā gēge yě yǐjīng zǒu le.
Lái le, tā yǐjīng lái le.
Tā àiren yě yǐjīng lái le.
Dào le, tā yǐjīng dào le.
Tā dìdi yě yǐjīng dào le.
Zǒu le, tā yǐjīng zǒu le.
Chén Tongzhì yě yǐjīng zǒu le
E. Response Drill
1. Speaker: Tā lái le ma? (Has he/she come?)
Tā àiren ne?
(And his/her spouse?)
2. Tā zǒu le ma?
Tā àiren ne?
3. Tā dào le ma?
Tā àiren ne?
U. Fāng Nushì lái le ma?
Tā dìdi ne?
5. Lǐ Xiānsheng dào le ma?
Tā fùmǔ ne?
6. Chén Tongzhì zǒu le ma?
Jiāng Tongzhì ne?
7. ,Tā mǔqin dào le ma?
Tā jiějie ne?
You: Tā hái méi lái.
(He/she hasn’t come yet.)
Tā àiren yě hái méi lái.
(His/her spouse hasn’t come yet either.)
Tā hái méi zǒu.
Tā àiren yě hái méi zǒu.
Tā hái méi dào.
Tā àiren yě hái méi dào.
Fāng Nushì hái méi lái.
Tā dìdi yě hái méi lái.
Lǐ Xiānsheng hái méi dào.
Tā fùmǔ yě hái méi dào.
Chén Tongzhì hái méi zǒu.
Jiāng Tongzhì yě hái měi zǒu.
Tā mǔqin hái méi dào.
Tā jiějie yě hái méi dào.
F. Response Drill
Give an affirmative response to the first question in each exchange, and include hái and méi in your response to second question.
1. Speaker: Tā zǒu le ma? You: Tā yǐjīng zǒu le.
(Has he/she left?) (He/she has already left.)
Tā àiren ne? Tā àiren hái méi zǒu.
(And his/her spouse?) (His/her spouse hasn’t left
yet.)
2. Tā lái le ma? Tā yǐjīng lái le.
Tā àiren ne? Tā àiren hái méi lái.
3. Tā dào le ma? Tā yǐjīng dào le.
Tā àiren ne? Tā àiren hái méi dào.
H. Wáng Xiansheng zǒu le ma? Tā muqin ne?
5. Qian Tongzhì lái le ma? Jiāng Tongzhì ne?
6. Máo Niishì dào le ma?
Tā mèimei ne?
7. Zēng Fūren zǒu le ma?
Tā muqin ne?
Wáng Xiānsheng yǐjīng zǒu le Tā muqin hái méi zǒu.
Qián Tongzhì yǐjīng lái le. Jiāng Tongzhì hái méi lái.
Máo Niishì yǐjīng dào le. Tā mèimei hái méi dào.
Zēng Fūren yǐjīng zǒu le.
Tā muqin hái méi zǒu.
G. Response Drill
1. Speaker: Tā lái le ma? (Has he/she come?)
Tā àiren ne?
(And his/her spouse?)
2. Tā zǒu le ma?
Tā àiren ne?
3. Tā dào le ma?
Tā àiren ne?
U. Cáo Tongzhì lái le ma?
Sūn Tongzhì ne?
5. Zhāng Xiānsheng lái le ma?
Tā dìdi ne?
6. Tā muqin dào le ma?
Tā mèimei ne?
7. Wáng Nushì zǒu le ma?
Zhāng Nushì ne?
You: Tā hái méi lái.
(He/she hasn’t come yet.)
Tā àiren yǐjīng lái le.
(His/her spouse has already come.)
Tā hái méi zǒu.
Tā àiren yǐjīng zǒu le.
Tā hái méi dào.
Tā àiren yǐjīng dào le.
Cáo Tongzhì hái méi lái.
Sūn Tongzhì yǐjīng lái le.
Zhāng Xiānsheng hái méi lái.
Tā dìdi yǐjīng lái le.
Tā muqin hái méi dào.
Tā mèimei yǐjīng dào le.
Wang Nushi hai mei zou.
Zhāng Nushì yǐjīng zǒu le.
H. Response Drill
Respond to each question with a completed-action answer or a yet-to-be-completed answer, depending on the cue.
1. Speaker: Tā zou le ma? You: Tā yǐjīng zǒu le.
(cue) zuotiān (His/her spouse has already
(Has he/she left?) left.)
Tā àiren ne? Tā àiren yě yǐjīng zǒu le.
(cue) zuotiān (His/her spouse has already
(And his/her spouse?) left too.)
I. Response Drill
1. Speaker: Tā shénme shíhou lái? (cue) míngtiān
(When is he/she coming?)
2. Lī Xiānsheng shénme shíhou zǒu? jīntiān
3. Hu Xiǎojiě shénme shíhou dào? hòutiān
U. Huáng Tàitai shénme shíhou zǒu? míngtiān
You: Tā míngtiān lái.
(He/she is coming tomorrow
Tā jīntiān zǒu.
Ta hòutiān dào.
Ta míngtiān zǒu.
|
2. |
Tā lái le ma? |
míngtiān |
Tā hái méi lái. |
|
Tā àiren ne? |
míngtiān |
Tā àiren yě hái méi lái. | |
|
3. |
Tā dào le ma? |
zuotiān |
Tā yǐjīng dào le. |
|
Tā àiren ne? |
míngtiān |
Tā àiren hái méi dào. | |
|
'It. |
Tā zǒu le ma? |
míngtiān |
Tā hái méi zǒu. |
|
•— |
Tā gēge ne? |
zuotiān |
Tā gēge yǐjīng zǒu le. |
|
5. |
Zhào Tongzhì dào le ma? zuotiān |
Zhào Tongzhì yǐjīng dào le. | |
|
Wáng Tongzhì ne |
? zuotiān |
Wáng Tongzhì yě yǐjīng dào le, | |
|
6. |
Tā fùmǔ zǒu le : |
ma? míngtiān |
Tā fùmǔ hái méi zǒu. |
|
Tāmen háizi ne? |
zuotiān |
Tāmen háizi yǐjīng zǒu le. | |
|
7. |
Tā àiren lái le |
ma? zuotiān |
Tā àiren yǐjīng lái le. |
|
Tāmen háizi ne? |
míngtiān |
Tāmen háizi hái méi lái. | |
|
5. |
Zēng Xiansheng shénme shíhou lái? hòutiān |
Tā hòutiān lái. |
|
6. |
Wáng Xiaojiě shénme shíhou dào? |
Tā jintiān dào. |
|
jíntiān | ||
|
7. |
Tā shénme shíhou zǒu? |
Tā hòutiān zǒu. |
hòutiān
6. Lin Tàitai shénme shíhou zǒu? Lin Tàitai shi shénme shíhou zǒude?
7. Tā shénme shíhou lái? Tā shi shénme shíhou laide?
L. Transformation Drill
Respond with a shi... de sentence when the cue makes it appropriate.
|
1. Speaker: Tā lái• (cue) míngtiān (He/she is coming.) OR Tā lái le. (cue) zuotiān (He/she came.) 2. Wáng Tàitai zǒu. jīntiān 37 Huang Tàitai zǒu le. qiántiān ù. Lǐ Xiānsheng lái. hòutiān 5. Lin Xiānsheng lái le. zuotiān 6. Mǎ Xiǎojiě dào le. qiántiān M. Response Drill Give affirmative responses to the
k. Máo Furen míngtiān lái ma? 5. Tāmen háizi hòutiān dào ma? 6. Tā fùmǔ jīntiān zǒu ma? |
You: Tā mingtiān lai. (He/she is coming tomorrow.) Tā shi zuotiān láide. (He/she came yesterday.) Wáng Tàitai jīntiān zou. Huáng Tàitai shi qiántiān zǒude. Lǐ Xiānsheng hòutiān lái. Lin Xiānsheng shi zuotiān láide. Mǎ Xiǎojiě shi qiántiān dàode. questions. You: Shìde. Tg shi zuotiān láhJe. (Yes. He/she came yesterday.) Shìde- Wáng Xiānsheng shi jīntiān dàode. Shìde. Lǐ Tongzhì shi qiántiān zoude. Shìde. Máo Fūren míngtiān lái. Shìde. Tāmen háizi hòutiān dào. Shìde. Tā fùmǔ jīntiān zǒu. |
J. Transformation Drill
For each item, ask "which day....
1. Speaker: Tā lái.
(He/she is coming.)
2. Wáng Xiānsheng zǒu.
3. Lǐ Tàitai dào.
4. Hú Tàitai zǒu.
5. Zhāng Xiānsheng dào.
6. Huáng Tàitai lái.
7. Tā zǒu.
You: Tā něitiān lái?
(Which day is he/she coming?)
Wáng Xiānsheng něitiān zǒu?
Lǐ Tàitai něitiān dào?
Hú Tàitai něitiān zǒu?
Zhāng Xiānsheng něitiān dào?
Huáng Tàitai něitiān lái?
Tā něitiān zǒu?
K. Transformation Drill
1. Speaker: Tā shenme shíhou lái? (When is he/she coming?)
2. Wáng Xiānsheng shénme shíhou dào?
3. Lǐ Tàitai shénme shíhou zǒu?
U. Hú Xiānsheng shénme shíhou lái?
5. Huáng Tàitai shénme shíhou dào?
You: Tā shi shénme shíhou láide?
(When did he/she come?)
Wáng Xiānsheng shi shénme shíhou dàode?
Lǐ Tàitai shi shénme shíhou zǒude?
Hú Xiānsheng shi shénme shíhou láide?
Huáng Tàitai shi shénme shíhou dàode?
7. Zhāng Nushì shi zuótiān laide ma?
Shìde. Zhang Nushì shi zuótiān láide.
N. Response Drill
Give negative responses
to the shi... de questions.
1. Speaker: Tā shi zuótiān láide ma?
(Did he/she come yesterday?)
2. Jiā.ng Xiānsheng shi jintiān dàode ma?
3. Zhāng Tongzhì shi qiántiān zǒude ma?
U. Tāmen shi zuótiān láide ma?
5. Tāmen háizi shi qiántiān dàode ma?
6. He Tongzhì shi jintiān zǒude ma?
7- Tā àiren shi zuótiān láide ma?
You: Bù. Tā bú shi zuótiān láide. (No. He/she didn't come yesterday.)
Bù. Jiāng Xiānsheng bú shi Jintiān dàode.
Bù. Zhāng Tongzhì bú shi qiántiān zǒude.
Bù. Tāmen bú shi zuótiān láide.
Bù. Tāmen háizi bú shi qiántiān dàode.
Bù. He Tongzhì bú shi jintiān zǒude.
Bù. Tā àiren bú shi zuótiān láide
0. Response Drill
According to the cues, each shi... de question.
1. Speaker: Tā shi zuótiān láide ma? (cue) affirmative
(Did he/she come yesterday?)
OR Tā shi zuótiān láide ma? (cue) negative
(Did he/she come yesterday?)
2. Wáng Tongzhì shi qiántiān dàode ma? neg.
give an affirmative or a
negative response to
You: Shìde. Tā shi zuótiān láide (Yes. He/she came yesterday
Bù. Tā bú shi zuótiān láide (No. He/she didn’t come yesterday.)
Bù. Wáng Tongzhì bú shi qiántiān dàode.
3.. Tā gēge shi jíntiān láide ma? neg.
U. Lǐ Xiānsheng shi jíntiān zǒude ma? neg.
5. Zhào Fūren shi zuótiān dàode ma? aff.
6. Tāmen háizi shi qiántiān zǒude ma? neg.
7. Sūn Nushì shi zuótiān dàode ma? neg.
Bù. Tā gege hu shi jíntiān láide.
Bù. Lǐ Xiānsheng bú shi jíntiān zǒude.
Shìde. Zhào Fūren shi zuótiān dàode.
Bù. Tāmen háizi bú shi qiántiān zǒude.
Bù. Sūn Nushi bu shi zuotiān dàode.
Celebrating the birthday of Mǎzǔ (courtesy of Thomas Madden)
UNIT 5
Topics Covered, in This Unit
1. Date and. place of birth.
2. Days of the week.
3. Ages.
U. The marker le for new situations.
Materials You Will Need
1. The C-l and P~1 tapes, the Reference List, and Reference Notes.
2. The C-2 and P-2 tapes, the Workbook.
3. The 5D-1 tape.
(in Běijīng)
1. A: Āndesēn Fūren, nǐ shi zài nǎr shēngde?
B: Wǒ shi zài Dézhōu shēngde.
2. A: Nǐmen shi Xǐngqīsì dàode ma?
B: Bu shi, women shi Xīngqǐwǔ dàode.
3. A: Nǐmen xīngqījī zǒu?
B: Women Xīngqītiān zǒu.
U. A: Nǐ shi něiniǎn shēngde?
B: Wǒ shi Yījiǔsānjiǔnián shēngde.
5. A: Nǐ shi Jīyūè shēngde?
B: Wǒ shi Qíyiie shēngde.
6. A: Nǐ shi Jīhào shēngde?
B: Wǒ shi Sìhào shēngde.
7.13 A: Nǐ duo dà le?
B: Wǒ èrshisì le.
8. 14A: Nǐ duo dà le?
B: Wǒ sānshiwǔ le.
9. A: Nǐmen nuhaizi jǐsuì le?
B: Tā bàsuì le.
10. A: Nǐmen nánháizi dōu jǐsuì le?
B: Yíge jiǔsuì le, yíge liùsuì le.
Mrs. Anderson, where were you horn?
I was born in Texas.
Did you arrive on Thursday?
No, we arrived on Friday.
What day of the week are you leaving?
We are leaving on Sunday.
What year were you born?
I was born in 1939.
What month were you born?
I was born in July.
What day of the month were you born?
I was born on the fourth.
How old are you?
I’m 21+.
How old are you?
I’m 35.
How old is your girl?
She’s eight years old.
How old are your boys?
One is nine, and one is six.
ADDITIONAL REQUIRED VOCABULARY (not presented on C-l and P-1 tapes)
11. hòunián (hòunian)
12. jīnnián (jīnnian)
13. míngnián (míngnian)
1U. niánnián (niánnian)
15. qiánnián (qiánnián)
16. qunián (qiinian)
the year after next
this year
next year
every year
the year before last
last year
duo da
hòunián (hèunian)
jǐhào
jīnnián (jīnnian)
jǐsuì
jǐyíiè
míngnián (míngnian)
něinián
niánnián (niánnian)
qiánnián £qiánnian)
qiinián (qiinian)
shēng
-suì
xīngqījǐ
Xīngqītiān
Xīngqīyī (Xīngqīèr,
Xīngqísān, Xīngqīsì, Xīngqīwǔ, Xīngqīliù)
how old
the year after next
what day of the month this year how old what month
next year
which year every year
the year Before last last year
to be born
year (of age)
what day of the week Sunday
Monday (Tuesday, Wednesday, Thursday, Friday, Saturday)
(introduced on C-2, P-2, and drill tapes)
shàngge yiiè last month xiàge yiiè next month zhèige yūè this month
1. A: Āndesēn Fūren, nǐ shi zài nǎr shēngde?
B: Wo shi zài Dézhōu shēngde.
Mrs. Anderson, where were you horn?
I was horn in Texas.
Note on Ko. 1
The shi... de construction is used as on time and manner expressions.
to focus on place expressions as well
|
Wǒ |
shi |
zài Měiguo |
shēng |
-de. |
(I was horn in America.) |
WHERE |
|
Wǒ |
shi |
zuotiān |
dào |
-de.. |
(I arrived yesterday.) |
WHEN |
|
Wǒ |
shi |
yíge rén |
lai |
-de. |
(I came alone.) |
HOW . |
2. A: Nǐmen shi Xǐngqīsì dàode ma? Did you arrive on Thursday?
B: Bú shi, women shi Xīngqǐwǔ No, we arrived on Friday,
dàode.
3. A: Nǐmen xīngqǐjǐ zǒu? What day of the week are you
leaving?
B: Women Xīngqītián zou We are leaving on Sunday.
Notes on Nos. 2-3
Days of the week;
|
xīngqījǐ? |
(what day of the week?) |
|
Xīngqīyī |
(Monday) |
|
Xīngqīèr |
(Tuesday) |
|
Xīngqīsān |
(Wednesday) |
|
Xǐngqīsì |
(Thursday) |
|
Xīngqǐwǔ |
(Friday) |
|
Xīngqīliù. |
(Saturday) |
|
Xīngqītián |
(Sunday) |
Until now, you have always seen Jǐ-, "how many," at the beginning of a word (Jǐge háizi, Jǐwèi xiānsheng, Jǐhào). In xǐngqǐjǐ, -Jǐ. is at the end of the word. In both places, Jǐ occupies the position of a number and acts like a number: xǐngqǐjǐ, "what number day of the week?"
What year were you born? I was born in 1939-
4. A: Nǐ shi něinián shēngde? B: Wǒ shi Yījiusānjiǔnián shēngde.
Notes on No. U
The word for "year," -nian, is a bound word (like the word for "day," -tiān). The question word něinián, "which year," is formed with the bound word něi-, "which."
The year is given as a sequence of digits, so that 1972, YǐJiǔqǐèrnián, would literally be "one-nine-seven-two year." In a sequence of digits, the word èr (not liǎng-) is used for 2, and the words for 1, 7, and 8 keep their basic High tones. (See notes on No. 10 for cases in which these tones change.)
5. A: Nǐ shi Jǐyiiè shēngde?
B: Wǒ shi Qíytiè shēngde.
What month were you born? I was born in July.
Notes on No. 9
Months:
|
Jīyuè? |
(what month?) |
|
Yǐyuè |
(January) |
|
Eryuè |
(February) |
|
Sānyiiè |
(March) |
|
Sìyuè |
(April) |
|
Wuyuè |
(May) |
|
Liùyuè |
(June) |
|
Qíyuè |
(July) |
|
Báyiiè |
(August) |
|
Jiuyiiè |
(September) |
|
Shíyiiè |
(October) |
|
Shíyīyuè |
(November) |
|
Shieryiie |
(December) |
Since the names of the months are formed with numbers, jī-, "how many," is the appropriate question word to use for "what month." Jì- is used in Běijīng to ask for a number expected to be around 10 or 11.
Notice the tones on the words for 1, 7, and 8, which most Peking speakers pronounce as Rising before Falling-tone words such as yūè. The syllable -yī- in the word for "November," however, is usually pronounced with the High tone: Shíyīyuè. (See the notes on No. 10 for a summary of tone changes.)
6. A: Nī shi jīhào shēngde?
B: Wǒ shi Sìhào shēngde.
What day of the month were you born?
I was born on the fourth.
Notes on No. 6
Days of the month are expressed by the number of the day followed by the bound word -hao. You will remember that -hao is also used in giving addresses.
In asking about days of the month, jī~, "how many," is used, even though the question may be answered by a number as high as 31.
The month and day of the month may be given together. For example,
Nī shi jīyūè jīhào shēngde? What is your month and day of
birth?
Wǒ shi Bayuè Jiuhào shēngde. I was born on August 9.
7. A: Nī duo dà le?
How old are you? I’m 24.
How old are you?
I'm 35.
B: Wǒ èrshisì le.
8. A: Nī duo dà le?
B: Wǒ sānshiwu le.
Notes on Nos. 7-8
Nǐ duo dà le? "How old are you?" literally means "How big (in years of age) are you?" This is a common way to ask a person’s age. The question is appropriate for asking the age of a child or a young adult, but the expression is not considered polite enough for asking an older adult his age. (More formal ways to ask a person’s age will be introduced on the C-2, P-2, and drill tapes.)
The marker le which ends these sentences calls attention to the fact that something is true now that was not true before.15 Le has only this new-situation meaning in these sentences. It has no meaning of completion, since, in fact, there is no completed event.
One way to reflect the new-situation le in the English translation is to add the word "now": "I’m 35 now." Essentially, however, "new situation" (sometimes called "change of state") is a Chinese grammatical category with no simple English equivalent.
The marker le for new situations is always found at the end of a sentence and is sometimes called "sentence le."
Notice that neither answer contains a verb. The verb that has been left out is you, "to have." The verb may not be left out in the negative: Wǒ méiyou sānshiwǔ, "I’m not 35-"
9. A:
B:
Nǐmen nuháizi Jǐsuì le? Tā básuì le.
How old is your girl? She’s eight years old.
Notes on No, 9
-suì: In the traditional Chinese system of giving ages, a person is one -suì old at birth and becomes another -suì old on the New Year’s following his birth. A baby born the day before New Year’s would thus be two -suì old on the day after his birth. Most Chinese, however, have now switched to the Western style of computing age and use -suì Just as we use "years old."
The word -suì, like the word -hào, is a bound word showing what kind of thing a number is counting.
In a date or address you are listing a number and use èr for 2, while in giving an age you are counting an amount of something and use liáng: liāngsuì, "two years old."
10. A: Nǐmen nánháizi dōu jǐsuì le? B: Yíge jiǔsuì le, yíge liùsuì le.
How old are your boys?
One is nine, and one is six.
Notes on No. 10
The word dōu is used when "both" or "all" would probably not be used in English, namely, when expecting different information about each of the things (or persons) being discussed. "All" tends to be collective, asking or telling about something the members of a group have in common. Dōu can be distributive, asking or telling something about the members of a group as individuals.
Yí, gí, bá: In the spoken language of Peking, the basic High tones of yǐ, qǐ, and bā usually change to Rising tones before Falling-tone words (such as -hào, yuè, and -suì). This change is most common when the complete number given has only one digit. When there are two or more digits, the qǐ and bā of numbers ending in 7 and 8 are more likely to have Rising tones than the yǐ of numbers ending in 1 (which is usually in the High tone). Compare:
Shiqíhào Shíyīyuè
the 17th November
In all cases, the High tone is more likely to be kept in rapid speech. You may also encounter speakers who never make changes in the tones of yǐ, qǐ, and bā.
Remember that, in the digit-by-digit form of giving the year, the numbers 1, 7, and 8 keep their basic High tones: Yǐjiǔbāliùnián, 1986
Note on Additional Required Vocabulary
DAYS
YEARS
|
qiántiān |
zuotiān |
jīntiān |
míngtiān |
hòutiān |
|
qiánnián |
qiinian |
jīnnián |
míngnián |
hòunián |
In the Chinese system of expressing relative time in terms of days and years, only one pair of terms is not parallel: zuotiān, "yesterday," and qunián, "last year."
A. Response Drill
1. Speaker: Qǐngwèn, tā shi zài nǎr shēngde?
(cue) Dézhōu
(May I ask, where was he/she horn?)
2. Qǐngwèn, nī àiren shi zài nǎr shēngde? Jiāzhōu
(May I ask, where was your spouse born?)
3. Qǐngwèn, tā àiren shi zài nǎr shēngde? Shànghǎi
(May I ask, where was his/her spouse born?)
U. Qǐngwèn, nī haizi shi zài nǎr shēngde? Sìchuān
(May I ask, where was your child born?)
5. ,Qīngwèn, nǐmen nuháizi shi zài nǎr shēngde? Beijīng
(May I ask, where was your daughter born?)
6. Qǐngwèn, nǐmen nánháizi shi zài nǎr shēngde? Mázhōu
(May I ask, where was your son born?)
7. Qǐngwèn, Zēng Xiānsheng shi zài nǎr shēngde? Niǔ Yuē
(May I ask, where was Mr. Zēng born?)
You: Tā shi zài Dézhōu shēngde.
(He/she was born in Texas.)
Ta shi zài Jiāzhōu shengde.
(He/she was born in California.)
Tā shi zài Shànghǎi shēngde.
(He/she was born in Shànghǎi.)
Tā shi zài Sìchuān shēngde. (He/she was born in Sìchuān.)
Tā shi zài Běijīng shēngde (She was born in Běijīng.)
Tā shi zài Mázhōu shēngde.
(He was born in Massachusetts.)
Tā shi zài Niǔ Yuē shēngde (He was born in New York.)
B. Substitution Drill
1. Speaker: Qǐngwèn, nī shénme shíhou zou? (cue) něitiān
(May I ask, when are you leaving?)
You:
Qǐngwèn, nī něitiān zǒu?
(May I ask, what day are you leaving?)
2. Qǐngwèn, nǐ něitiān zǒu? Jīyǔè
3. Qǐngwèn, nǐ jīyǔè zǒu? jǐhào
ll. Qǐngwèn, nǐ jǐhào zǒu? něinián
5. Qǐngwèn, nǐ něinián zǒu? jīyǔè jǐhào
6. Qǐngwèn, nǐ jīyǔè jǐhào zǒu? xīngqījī
7. Qǐngwèn, nǐ xīngqījī zǒu?
Qǐngwèn, nǐ jīyǔè zǒu?
Qǐngwèn, nǐ jǐhào zǒu?
Qǐngwèn, nǐ něinián zǒu?
Qǐngwèn, nǐ jīyǔè jǐhào zǒu?
Qǐngwèn, nǐ xīngqījī zǒu?
C. Substitution Drill
1. Speaker: Women Xīngqīyī zǒu.
(cue) Xīngqīèr (We are leaving on
Monday.)
2. Women Xīngqīèr zǒu. Xīngqīsān
3. Women Xīngqīsān zǒu. Xīngqīsì
U. Women Xīngqīsì zou. xīngqījī
5. Women xīngqījī zǒu?
Xīngqǐwǔ
6. Women Xīngqīwǔ zǒu. Xīngqītián
7. Women Xīngqītián zǒu. Xīngqīliù
8. Women Xīngqīliù zǒu.
You: Women Xīngqīèr zǒu.
(We are leaving on Tuesday.)
Women Xīngqīsān zou.
Women Xīngqīsì zǒu.
Women xīngqījī zǒu?
Women Xīngqīwǔ zǒu.
Women Xīngqītián zǒu.
Women Xīngqīliù zou.
D. Response Drill
1. Speaker: Nǐ háizi shi něinián shēngde ?
(cue) 1971
(What year was your child horn?)
2. Lǐ Xiānsheng shi něinián shēngde? 19UU
3. Nǐ dìdi shi něinián shēngde? 1910
1. Nèige háizi shi něinián shēngde? 1967
5. Zhèige nánháizi shi něinián shēngde? 1968
6. Nèige rén shi něinián shēngde? 1927
7. Tā shi něinián shēngde?
1933
You: Tā shi Yījiǔqīyīnián shēngde (He/she was horn in 1971.)
Tā shi Yījiǔsìsìnián shēngde.
Tā shi Yījiǔsìlíngnián shēngde.
Tā shi Yījiǔliùqīnián shēngde.
Tā shi Yījiǔliùbānián shēngde.
Tā shi Yījiǔèrqīnián shēngde.
Tā shi Yījiǔsānsānnián shēngde.
E. Response Drill
1. Speaker: Tā shi jǐyuè shēngde?
(cue) Eryúè
(What month was he/she horn?)
2. Tā àiren shi jīyuè shēngde?
Wǔyùè
3. Zhāng Tongzhì shi Jǐyiiè shēngde? Sìyuè
1. Wáng Tongzhì shi jǐyùè shēngde? Shíyīyuè
5. Nǐ àiren shi Jǐyiiè shēngde? Báyiiè
6. Nǐ gēge shi jǐyúè shēngde?
Shíèryiiè
You: Tā shi Eryiiè shēngde.
(He/she was horn in February.
Tā shi Wǔyùè shēngde.
Tā shi Sìyuè shēngde.
Tā shi Shíyīyuè shēngde.
Tā shi Báyiiè shēngde.
Tā shi Shíèryuè shēngde.
7. Tā mèimei shi jǐyiiè shengde? Liùyiiè
Tā shi Liùyiiè shēngde.
F. Expansion Drill
1. Speaker: Tā shi Yíyuè shēngde. (cue) yíhào
(He/she was born in January.)
2. Tā shi Yíyiiè shēngde. shíyīhào
3. Tā shi Yíyuè shēngde. èrshiliùhào
U. Tā shi Yíyiiè shēngde. qíhào
5- Tā shi Yíyuè shēngde. shísìhào
6. Tā shi Yíyuè shēngde. èrshibàhào
7. Tā shi Yíyiiè shēngde. shíhào
You: Tā shi Yíyiiè yíhào shēngde.
(He/she was born January first.)
Tā shi Yíyiiè shíyīhào shēngde.
Tā shi Yíyiiè èrshiliùhào shēngde.
Tā shi Yíyiiè qíhào shēngde.
Tā shi Yíyiiè shísìhào shēngde.
Tā shi Yíyiiè èrshibàhào shēngde.
Tā shi Yíyiiè shíhào shēngde.
G. Response Drill
2 • Speaker: Nimen nuhaizi jīsuì le? (cue) 5
'.How old is your daughter?)
2. nánháizi jisuì le? 11
3- Hú Taitai nuhaizi jisui le?
1 ?
h. Tǎ mèimei Jisuì le? 7
5. M nánháizi jīsuì le? 6
You: Tā wùsuì le.
(She is five.)
Tā shiyīsuì le.
Tā shísānsuì le.
Tā qísuì le.
Tā liusuì le.
6. Nī nuhaizi Jīsuì le? U
Tā sìsuì le.
7- Nèige nánháizi Jisuì le? 8
Ta básuì le.
H. Response Drill
1. Speaker: Tā duo dà le? (cue) 35
(How old is he/she?)
2. Nǐ gēge duo dà le? Uh
6. Tā àiren duo dà le? 28
7. Wáng Tongzhì duo dà le? hl
You: Tā sanshiwǔ le. (He/she is 35-)
Tā sìshisì le.
Tā sānshi le.
Tā sìshiqī le.
Tā sānshièr le.
Tā èrshibā le.
Tā sìshiyī le.
I. Response Drill
1. Speaker: Nín muqin duo dà suìshu You: Tā liùshiwǔsuì le. le? (She is 65.)
(cue) 65
(How old is your mother?)
2. Nín fùqin duo dà suìshu le? Tā liùshiqísuì le.
67
3. Tā JiěJie duo dà suìshu le? Tā sìshiliùsuì le.
U6
h. Tā gēge duo dà suìshu le? Tā sìshisìsuì le.
uu
5. Zhāng Xiānsheng duo dà suìshu le? Tā qīshièrsuì le. 72
6. Wáng Tàitai duo dà suìshu le? Tā wǔshijiǔsuì le.
59
7. Wang Tàitai mèimei duo dà suìshu Tā wǔshibásuì le. le? 58
J. Substitution Drill
Substitute shàngge yuè, "last month" (May), zhèige yiiè, "this month" (June), or xiàge yiiè, "next month" (July), according to the month mentioned in the speaker’s sentence.
1. Speaker: Tā shi Wǔyiiè láide.
(He/she came in May.)
2. Tā Qíyiiè lái.
(He/she is coming in July.)
3. Tā Liùyiiè lái.
(He/she is coming in June.)
Tā shi Liùyiiè láide.
5- Tā Qíyiiè zǒu.
6. Tā shi Wǔyiiè dàode.
7. Tā shi Liùyiiè zǒude.
You: Ou. Tā shi shàngge yiiè láide.
(Oh. He/she came last month.)
Ou. Tā xiàge yiiè lái.
(Oh. He/she is coming next month.)
Ou. Tā zhèige yiiè lái.
(Oh. He/she is coming this month.)
Ou. Tā shi zhèige yuè láide.
Ou. Tā xiàge yiiè zǒu.
Ou. Tā shi shàngge yiiè dàode.
Ou. Tā shi zhèige yiiè zǒude.
K. Transformation Drill
Sach of the speaker’s statements is the answer to a question. After
hearing each answer, ask the question
1' Speaker: Tā shi Yījiǔsānwǔnián shēngde.
(He/she was born in 1935- )
2 Tā shi Sìyiiè láide.
(He/she came in April.)
3- Tā shi Xīngqīwǔ zǒude.
(He/she left on Friday.)
which could have prompted the response.
You: Tā shi něinián shēngde?
(What year was he/she born?)
Tā shi jǐyiiè láide?
(What month did he/she come?)
Tā shi xīngqījǐ zǒude?
(What day of the week did he/she leave ?)
U. Tā shi qihào dàode. Tā shi jǐhào dàode?
(He/she arrived on the seventh.) (What day of the month did he/she arrive?)
|
5. |
Tā shi |
Yījiǔqīsìnián láide. |
Tā shi něinián láide? |
|
6. |
Tā shi |
Xīngqītián zǒude. |
Tā shi xīngqījī zǒude? |
|
7. |
Tā shi |
Jiǔyuè shēngde. |
Tā shi jīyǔè shēngde? |
Farm in northern Taiwan (courtesy of Thomas Madden)
UNIT 6
Topics Covered, in This Unit
1. Duration phrases.
2. The marker le for completion.
3. The "double le" construction.
U. The marker -guo.
5. Action verbs.
6. State verbs.
Materials You Will Need
1. The C-l and P-1 tapes, the Reference List and Reference Notes.
2. The C-2 and. P-2 tapes, the Workbook.
3. The 6D-1 tape.
(in Taipei)
1. A: Nǐ zhù duo jiù?
B: Wǒ zhù yìnián.
2. A: Nǐ tàitai zhù duo jiǔ?
B: Tā zhù liǎngtiān.
3. A: Nǐ tàitai zài Xianggang zhù duo jiù?
B: Wǒ xiǎng tā zhù liǎngtiān.
h. A: Nǐ xiǎng zhù duo jiù?
B: Wǒ xiǎng zhù yìnián.
5. A: Nǐ xiǎng zài Taiwān zhù duo Jiǔ?
B: Wǒ xiǎng zhù háge yuè.
6.16 A: Nǐ pengyou xiǎng zhù duo Jiù?
B: Tā xiǎng zhù liǎngge xīngqì.
7. A: Nǐ laile duo Jiǔ le?
B: Wǒ laile sāntiān le.
8. A: Nǐ tàitai zài Xiānggǎng zhùle duo jiù?
B: Tā zhùle liǎngtiān.
9. A: Tā lái le ma?
B: Lái le, tā lái le.
10. A: Tā lái le ma?
B: Méi lái, tā méi lái.
11. A: Nǐ congqián láiguo ma?
B: Wǒ congqián méi láiguo.
How long are you staying?
I’m staying one year.
How long is your wife staying?
She is staying two days.
How long is your wife staying in Hong Kong?
I think she is staying two days.
How long are you thinking of staying?
I'm thinking of staying one year.
How long are you thinking of staying in Taiwan?
I'm thinking of staying eight months.
How long is your friend thinking of staying?
He is thinking of staying two weeks.
How long have you heen here?
I have heen here three days.
How long did your wife stay in Hong Kong?
She stayed two days.
Did he come?
Yes, he came.
Did he come?
No, he didn't come.
Have you ever heen here before?
I have never heen here before.
ADDITIONAL REQUIRED VOCABULARY (not presented on C-l and P-1 tapes)
12. qù
to go
New York
13. Niǔ Yùē
|
cóngqian |
before |
|
duo jiǔ |
how long |
|
-guo |
(experiential marker) |
|
Niǔ Yǔē |
New York |
|
qù |
to go |
|
xiǎng |
to think that, to want to would like to |
|
Xiānggǎng xīngqī |
Hong Kong week |
|
zhù |
to live somewhere |
1. A: Nǐ zhù duo jiǔ?
B: Wǒ zhù yìnián.
How long are you staying? I'm staying one year.
Notes on No. 1
Expressions like duo jiǔ, "how long," and yìnián, "one year," called duration phrases, come after the verb.* Notice the contrast with time-when phrases, like shenme shíhou, "when," and jǐnnián, "this year," which come before the verb.
|
Nǐ |
shénme shíhou |
zǒu? |
(When are you leaving?) | |
|
Nǐ |
zhù |
duo jiǔ? |
(How long are you staying?) |
If a duration phrase is used with the verb zhù, this phrase preempts the position after the verb; and any place phrase, like zài Běijīng, must come before the verb.
Yìnián: In telling how many years (giving an amount) no counter is
|
Wǒ |
zhù |
zài Běijīng. |
(I'm living in Běijīng.) | |
|
Nǐ |
zài Běijīng |
zhù |
duo jiǔ? |
(How long are you staying in Běijīng?) |
used. The tone on yí, "one," changes to Falling before a Rising tone.
2. A: Nǐ tàitai zhù duo jiǔ? B: Tā zhù liǎngtiān.
How long is your wife staying? She is staying two days.
Note on No. 2
Liǎngtiān: -tiān, ’’day," like -nian, "year," is used without a counter. When telling how many of something, the number 2 takes the form liǎng.* (See Unit 3, notes on Nos. 3-U.)
3. A: Nǐ tàitai zài Xiānggǎng zhù duo j iǔ?
B: Wo xiǎng tā zhù liǎngtiān.
U. A: Nǐ xiǎng zhù duo jiǔ?
B: Wo xiǎng zhù yìnián.
How long is your wife staying in Hong Kong?
I think she is staying two days.
How long are you thinking of staying?
I’m thinking of staying one year
Notes on Nos. 3-^
The verb xiǎng, "to think that," "to want to," "would like to," maybe used as a main verb or as an auxiliary verb. As a main verb it means "to think that." It is used this way in the answer of exchange 3 and in the following examples.
Wǒ xiǎng tā míngtiān lai. I think he is coming tomorrow.
Wǒ xiǎng tā bú qù. I think he is not going.
When xiǎng is used as a main verb meaning "to think that," it is not made negative. This may be a special problem for English speakers who are used to saying "I don’t think he is going." In Chinese, it is "I think he is not going," Wǒ xiǎng tā bú qù.
When xiǎng is used as an auxiliary verb, it means "to want to," "would like to." It is used this way in exchange H, which could also be translated as "How long would you like to stay?" Here are other examples:
A: Nī xiǎng zǒu ma? Would you like to leave? OR
Do you want to go?
B: Wǒ bù xiǎng zǒu. I don’t want to leave.
Nī xiǎng zài Táiběi gōngzuò ma? Do you want to work in Taipei?
*"One day" is yìtiān. The tone on yǐ changes to Falling before a High tone.
5. A: Nǐ xiǎng zài Táiwān zhù duo Jiǔ?
B: Wǒ xiǎng zhù báge yǔè.
6. A: Nǐ péngyou xiǎng zhù duo Jiǔ?
B: Tā xiǎng zhù liǎngge xīngqí.
How long are you thinking of staying in Taiwan?
I’m thinking of staying eight months.
How long is your friend thinking of staying?
He is thinking of staying two weeks•
Notes on Nos. 5-6
You already know that yìnián and yìtiān are used without counters. The words for "month" and "week," however, are used with counters. Compare:
7. A: Nǐ láile duo Jiǔ le?
B: Wǒ láile sāntiān le.
How long have you been here? I have been here three days.
|
sāntiān |
(three days) |
|
sānnián |
(three years) |
|
sānge xīngqī |
(three weeks) |
|
sānge yǔè |
(three months) |
Notes on No. 7
le...le, "up until now," "so far": The use of completed-action le. after the verb and of new-situation le after the duration phrase tells you how long the activity has been going on and that it is still going on. The answer could also have been translated "I have been here three days so far." This pattern is sometimes called "double le."
Notice that when le is in the middle of a sentence (in this case, because it is followed by a duration phrase), we write it attached to the verb before it: láile duo Jiǔ le
8. A: Nī tàitai zài Xianggang zhùle duo Jiǔ?
B: Tā zhùle liǎngtiān.
How long did your wife stay in Hong Kong?
She stayed two days.
Notes on No. 8
Completion le: Here you see the marker le used to indicate one aspect, completion. Compare a sentence with one le to a sentence with two le’s:
Wǒ zài nàr zhùle sāntiān. I stayed there three days.
Wǒ zài zhèr zhùle sāntiān le. I have heen here (stayed here) for
three days now (so far).
Completion le is used with verbs that describe actions or processes, not with verbs that describe a state or condition, or a continuing situation. The following sentences, describing states or ongoing situations, have past-tense verbs in English but no le in Chinese.
Nèige shíhou tāmen zhī you At that time they had only two
liǎngge haizi. children.
Tā quniān bú zài Shànghǎi, He wasn*t in Shànghǎi last year;
zài Běijīng. he was in Běijīng.
Verb types in Chinese: In studying some languages, it is important to learn whether a noun is masculine, feminine, or neuter. In Chinese, it is important to learn whether a verb is an action, state, or process verb. These three verb categories are meaning (semantic) groups. A verb is a member of one group or another depending on the meaning of the verb. For instance, "running" and "dancing" are actions; "being good" and "being beautiful" are states; and "getting sick" and "melting" are processes. In Chinese, grammatical rules are applied differently to each semantic verb category. For the most part, you have learned only action and state verbs in this course; so these comments will be confined to those two verb categories. (See Unit 8 of this module for process verbs.)
Action verbs: These are verbs which describe physical and mental activities. The easiest to classify are verbs of movement such as "walking," "running," and "riding"; however, action verbs also include verbs with not too much motion, such as "working" and "writing," and verbs with no apparent motion, such as "studying." One test for determining if a verb is an action is asking "What did he do?" "He arrived," "He spoke," and "He listened" are answers which contain action verbs. "He knew," "He
wanted," and "He is here" are answers which contain state verbs, not action
verbs. Some of the action verbs you have learned are:
dào (to arrive) lai (to come)
gōngzuò (to work) zhù (to live, to stay)
State verbs: These verbs describe qualities, conditions, and states. All adjectival verbs, such as hǎo, "to be good," and jiǔ, "to be long (in time)," are state verbs. Emotions, such as "being happy" and "being sad," are expressed with state verbs. "Knowing," "liking," "wanting," and "understanding," which may be called mental states, are also expressed with state verbs. Also, all auxiliary verbs, such as xiǎng, "to want to," "would like to," are state verbs. Here are some of the state verbs:
dà (to be large) duì (to be correct) xìng (to be surname!) xiǎng (to want to)
shi (to be) jiào (to be called) zài (to be at) zhīdao (to know)
Aspect and verb types: Not every aspect marker in Chinese may be used with all types of verbs. Completion le does not occur with state verbs. It does occur with action verbs.
|
ACTION |
Tā yǐjīng dào le. Tā gōngzuòle yìnián. Tā lái le ma? |
|
STATE |
Tā qǔnián bú zài zhèr. Tā zuotiān xiǎng qù. Tā zuotiān bù zhīdào. |
He has already arrived.
He worked one year.
Did he come?
He wasn’t here last year. Yesterday he wanted to go. He didn’t know yesterday.
9- A: Tā lái le ma?
Did he come?
Yes, he came.
Did he come?
No, he didn’t come.
B: Lái le, tā lái le.
10. A: Tā lái le ma?
B: Mei lái, tā méi lái.
Notes on Nos. 9-10
Compare the two possible interpretations of the question Tā lái le ma? and the answers they receive:
Completion le
|
Tā |
lái |
le |
ma? |
(Did she come?) | |
|
Tā |
lái |
le. |
(She came.) | ||
|
Tā |
méi |
lái. |
(She didn’t come.) |
Combined le
|
Tā |
lái |
le |
ma? |
(Has she come?) | ||
|
Tā |
lái |
le. |
(She has come. OR She’s here.) | |||
|
Tā |
hái |
méi |
lái. |
(She hasn’t come yet.) |
The first question, with completion le, asks only if the action took place. The second question, with combined le., asks both whether the action has been completed and whether the resulting new situation still exists.
11. A: Nī cóngqián láiguo ma?
B: Wǒ cóngqián méi láiguo.
Have you ever been here before? I have never been here before.
Notes on No. 11
The aspect marker -guo means literally "to pass over," "to cross over." The implication is that an event took place and then ceased at some time in the past.
It may help you to conceptualize -guo in terms of a bridge. The whole bridge is the event. The marker -guo stresses the fact that not only have you crossed over the bridge but at present you are no longer standing on it.
The meaning of -guo changes slightly depending on what type of verb it is used with: action or process. (-guo may not be used with state verbs.) With an action verb, -guo means that the action took place and then ceased at some time before the present. With a process verb, -guo means that the process took place and that the state which resulted from the process ended at some time before the present.
Remember that aspect markers like le and -guo are used only when the speaker feels it necessary to stress some feature or aspect of an event. Le is used to stress finishing, or completion, -guo is used to stress that a situation occurred in the past and was "over" or "undone" before the time of speaking (that is, the absence of that situation followed the situation).
Let’s contrast -guo with completion le: Both le and -guo express completion, but -guo stresses that an action is no longer being performed, or that a state resulting from a process no longer exists. For example, Tā lái le means "He came" or "He has come," not indicating whether or not he is still there. But Tā láiguo means "He came" with the specification that he is not there anymore—that is, he came and left.
One of the uses of the aspect marker -guo is in sentences which express experience or having experienced something at least once in the past, that is, "to have had the experience of doing something." This is how -guo is used in exchange 11. In a question, the marker -guo can he reflected by the English word "ever," and in a negative statement by "never."
|
Nǐ |
congqián |
lái |
-guo |
ma? |
(Have you ever been Ecornel here before?) | |
|
Wǒ |
congqián |
méi |
lái |
-guo,. |
(I have never been Ccome3 here before.) | |
|
Wǒ |
congqián |
lái |
-guo. |
(I have been tcomel here before.) |
The negative of Tā lái le does not include a le, but the negative of Tā láiguo does have a -guo. The negative adverb méi is used to negate both completion le and -guo.
|
Tā |
lái |
le. | |
|
Tā |
méi |
lái. |
|
Tā |
lái |
-guo. | |
|
Tā |
méi |
lái |
-guo. |
A. Response Drill
(cue) yíge yǔè (How long is Mr. Zhāng staying?)
(How long is Miss Wáng staying?)
(How long is Mrs. Hú staying?) U. Tā zhù duo jiǔ? sìge xīngqī (How long is he/she staying?)
(How long is his wife staying?)
wǔge yǔè (How long is Miss Lī staying?)
(How long is her husband staying?)
(cue) santiān (How long is Comrade Zhāng staying?)
U. Wáng Tongzhì zhù duo jiǔ? hātiān |
You: Zhāng Xiānsheng zhù yíge yǔe. (Mr. Zhāng is staying one month.) Wáng Xiǎojiě zhù liangge xīngqī. (Miss Wáng is staying two weeks.) Hú Tàitai zhù sānge yǔè. (Mrs. Hú is staying three months.) Tā zhù sìge xīngqī. (He/she is staying four weeks.) Tā tàitai zhù liǎngge xīngqī. (His wife is staying two weeks.) Lī Xiǎojiě zhù wǔge yǔè. (Miss Lī is staying five months.) Tā xiānsheng zhù liùge xīngqī. (Her husband is staying six weeks.) You: Zhāng Tongzhì zhù sāntiān. (Comrade Zhāng is staying three days.) Tā mǔqin zhù yìnián. Tā fùqin zhù wǔtiān. Wáng Tongzhì zhù bātiān. |
5. Nǐ jiějie zhù duo Jiǔ? liǎngnián
6. Hu Tongzhì zhù duo jiǔ? sìtiān
7. Tā zhù duo jiǔ? sānnián
Wǒ jiějie zhù liǎngnián
Hu Tongzhì zhù sìtiān.
Tā zhù sānnián.
C. Response Drill
1. Speaker: Tā mǔqin zhù duo jiǔ? (cue) liǎngge yǔè
(How long is his/her mother staying?)
2. Tā mèimei zhù duo jiǔ? yíge xīngqī
3. Zhāng Tàitai zhù duo jiǔ? jiǔtiān
U. Tā gēge zhù duo jiǔ?
sìge xīngqī.
5. Wáng Xiānsheng zhù duo jiǔ? yíge yǔè
6. Tā dìdi zhù duo Jiǔ? yìnián
7. Tā jiějie zhù duo Jiǔ?
shítiān
You: Tā mǔqin zhù liǎngge yǔè.
(His/her mother is staying two months.)
Tā mèimei zhù yíge xīngqī.
Zhāng Tàitai zhù jiǔtiān.
Tā gēge zhù sìge xīngqī.
Wáng Xiānsheng zhù yíge yǔè.
Tā dìdi zhù yìnián.
Tā jiějie zhù shítiān.
D. Expansion Drill
1. Speaker: Zhāng Tàitaide gēge zhù duo jiǔ?
(cue) Xiānggǎng
(How long is Mrs. Zhāng’s older brother staying?)
You: Zhāng Tàitaide gēge zài Xiānggǎng zhù duo Jiǔ?
(How long is Mrs. Zhāng’s older brother staying in Hong Kong?)
2. Jiāng Xianshengde dìdi zhù duo Jiāng Xianshengde dìdi zài jiǔ? Guǎngzhōu Guǎngzhōu zhù duo jiǔ?
3. Zēng Xiǎojiěde mèimei zhù duo j iǔ? Zhōngguo
U. Chén Tongzhìde jiějie zhù duo jiǔ? Shànghǎi
5. Qian Tongzhìde àiren zhù duo jiǔ? Měiguo
6. Cao Xiǎojiěde fùqin zhù duo jiǔ? Qīngdǎo
7. Xià Xiānshengde mǔqin zhù duo jiǔ? Běijīng
Zēng Xiǎojiěde mèimei zài Zhōngguo zhù duo jiǔ?
Chén Tongzhìde jiějie zài Shànghǎi zhù duo Jiǔ?
Qian Tongzhìde àiren zài Měiguo zhù duo jiǔ?
Cao Xiǎojiěde fùqin zài Qīngdǎo zhù duo Jiǔ?
Xià Xiānshengde mǔqin zài Běijīng zhù duo jiǔ?
Ē. Transformation Drill
1. Speaker: Tā zhù jǐtiān?
(How many days is he/ she staying?)
2. Hú Xiānsheng zhù jīge yuè?
3. Wang Tàitai zhù jīge xīngqī?
k. Tā xiānsheng zhù jīniān?
5. Zhōu Xiāojiě zhù jīge yuè?
6. Wǒ fùqin zhù Jīge xīngqī?
7. Tā mèimei zhù jītiān?
You: Tā xiǎng zhù jītiān?
(How many days is he/she planning on staying?)
Hu Xiānsheng xiǎng zhù jīge yuè? Wang Tàitai xiǎng zhù jīge xīngqī? Tā xiānsheng xiǎng zhù jīniān?
Zhōu Xiāojiě xiǎng zhù jīge yuè? Wǒ fùqin xiǎng zhù Jīge xīngqī? Tā mèimei xiǎng zhù jītiān?
F. Expansion Drill
1. Speaker: Tā zhù yíge xīngqī. (He/she is staying one week.)
2. Tā zhù liǎngniān.
3. Tā zhù sānge yuè.
. Tā zhù liǎngge xīngqī.
You: Wǒ xiǎng tā zhù yíge xīngqī. (I think he/she is staying one week.)
Wǒ xiǎng tā zhù liǎngniān.
Wǒ xiǎng tā zhù sānge yuè.
Wǒ xiǎng tā zhù liǎngge xīngqī.
|
5- |
Tā zhù |
qītiān. |
Wǒ |
xiǎng |
tā zhù |
qītiān. |
|
6. |
Tā zhù |
sìnián. |
Wǒ |
xiǎng |
tā zhù |
sìnián. |
|
7. |
Tā zhù |
liùge yǔè. |
Wǒ |
xiǎng |
tā zhù |
liùge yǔè |
G. Transformation Drill
1. Speaker: Tā zhù yíge xīngqī. (He/she is staying one week.)
2. Mǎ Tongzhì zhù yìnián.
(Comrade Mǎ is staying one year.)
3. Wáng Tongzhì zhù sìge yǔè.
(Comrade Wáng is staying four months.)
U. Zēng Tongzhì zhù wǔtiān.
(Comrade Zēng is staying five days.)
5. Wǒ zhù liǎngge xīngqī.
(I am staying two weeks.)
6. Tā háizi zhù liùtiān.
(His/her child is staying six days.)
7. Tā mèimei zhù liǎngnián. (His/her younger sister is staying two years.)
You: Tā zhùle yíge xīngqī.
(He/she stayed one week.)
Mǎ Tongzhì zhùle yìnián.
(Comrade Mǎ stayed one year.)
Wáng Tongzhì zhùle sìge yǔè.
(Comrade Wáng stayed four months.)
Zēng Tongzhì zhùle wǔtiān.
(Comrade Zēng stayed five days.)
Wǒ zhùle liǎngge xīngqī.
(I stayed two weeks.)
Tā háizi zhùle liùtiān.
(His/her child stayed six days.)
Tā mèimei zhùle liǎngnián.
(His/her younger sister stayed two years.)
H. Transformation Drill
1. Speaker: Tā zhùle sāntiān.
(He/she stayed three days.)
2. Wǒ zhùle yíge xīngqī.
(I stayed one week.)
You: Tā zhùle sāntian le.
(He/she has stayed three days.)
Wǒ zhùle yíge xīngqī le.
(I have stayed one week.)
3. Tā fùqin zhùle liǎngge yuè. (His/her father stayed two months.)
U. Tā jiějie zhùle shíyītiān. (His/her older sister stayed eleven days.)
5. Wang Xiānsheng zhùle yìnián. (Mr. Wáng stayed one year.)
6. Wáng Tāitai zhùle sānge xīngqī. (Mrs. Wáng stayed three weeks.)
7. Hú Xiǎojiě zhùle qītiān.
(Miss Hú stayed seven days.)
Tā fùqin zhùle liǎngge yuè le. (His/her father has stayed two months.)
Tā jiějie zhùle shíyītiān le.
(His/her older sister has stayed eleven days.)
Wáng Xiānsheng zhùle yìnián le. (Mr. Wáng has stayed one year.)
Wáng Tàitai zhùle sānge xīngqī le. (Mrs. Wáng has stayed three weeks.)
Hú Xiǎojiě zhùle qītiān le.
(Miss Hú has stayed seven days.)
I. Transformation Drill
Respond hy adding xiǎng zhù, zhùle, each statement, according to the cue.
1. Speaker: Tā zhù yìtiān.
(cue) hái méi lái (He/she is staying one day.)
OR Tā zhù yìtiān. yǐjīng zǒu le (He/she is staying one day. )
OR Tā zhù yìtiān. hái zài zhèr (He/she is staying one day.)
2. Tā zhù liǎngge xīngqī. yǐjīng zǒu le
(He/she is staying two weeks.)
3. Tā zhù sāntiān. hái méi lái (He/she is staying three days.)
h. Tā zhù yìnián. hái zài zhèr (He/she is staying one year.
or zhùle + duration phrase + le to
You: Tā xiǎng zhù yìtiān.
(He/she is planning on staying one day.)
Tā zhùle yìtiān.
(He/she stayed one day.)
Tā zhùle yìtiān le.
(He/she has stayed one day.)
Tā zhùle liǎngge xīngqī.
(He/she stayed two weeks.)
Tā xiǎng zhù sāntiān.
(He/she is planning on staying three days.)
Tā zhùle yìnián le.
(He/she has stayed one year.)
5. Tā zhù wuge xīngqī.
yǐjīng zǒu le
(He/she is staying five weeks.)
Ta zhùle wuge xīngqī.
(He/she stayed five weeks.)
J. Transformation Drill
1. Speaker: Tā Xīngqīyī lái, Xīngqīsān zǒu.
(He/she is coming on Monday, leaving on Wednesday.)
2. Tā yíyiiè lái, Sìyuè zǒu.
3. Tā Wǔyiiè lái, Qíyiiè zǒu.
U. Tā yíhào lái, liùhào zǒu.
5. Tā Liùyiiè lái, Shíyiiè zǒu.
6. Tā Yījiǔqīliùnián lái, Yījiǔqībānián zǒu.
7. Tā Xīngqīwǔ lái, xiàge Xīngqīyī zǒu.
You: Tā xiǎng zhù liǎngtiān.
(He/she is planning on staying two days.)
Tā xiǎng zhù sānge yiiè.
Tā xiǎng zhù liǎngge yiiè.
Tā xiǎng zhù wutiān.
Tā xiǎng zhù sìge yiiè.
Tā xiǎng zhù liǎngniān.
Tā xiǎng zhù sāntiān.
K. Transformation Drill
1. Speaker: Tā shi èrhào láide, sìhào zǒude.
(He/she came on the second, left on the fourth.)
2. Tā shi Yījiǔqīyīnián láide, Yījiǔqīsìnián zǒude.
3. Tā shi Sānyiiè láide, Wǔyiiè zǒude.
U. Tā shi Xīngqīèr láide, Xīngqīliù zoude.
5. Tā shi Jiǔhào láide, Shíyīhào zǒude.
You: Tā zhùle liǎngtiān.
(He/she stayed two days.)
Tā zhùle sānnián.
Tā zhùle liǎngge yiiè,
Tā zhùle sítiān.
Tā zhùle liǎngtiān.
6. Tā shi zuétiān láide, jīntiān Tā zhùle yìtiān. zǒude.
7. Tā shi shàngge yùè sānshiyíhào Tā zhùle wǔtiān. láide, zhèige yùè wǔhào zǒude.
L. Transformation Drill
1. Speaker: Tā míngtiān bù lái. You: Tā zuotiān mei lái.
(cue) zuotiān (He/she didn’t come yesterday.)
(He/she isn’t coming tomorrow.)
M. Transformation Drill
1. Speaker: Tā lái le ma? (Did he/she come?)
2. Tā àiren lái le ma?
3. Tā mǔqin lái le ma?
U. Hù Tongzhì lái le ma?
5. Tā dìdi lái le ma?
6. Wáng Dànián lái le ma?
7. Zhào Tongzhì lái le ma?
You: Tā láiguo ma?
(Has he/she ever been here?)
Tā àiren láiguo ma?
Tā mǔqin láiguo ma?
Hu Tongzhì láiguo ma?
Tā dìdi láiguo ma?
Wáng Dànián láiguo ma?
Zhào Tongzhì láiguo ma?
19U
|
2. |
Tā hòutiān bù zǒu. |
qiántiān |
Tā |
qiántiān méi zǒu. |
|
3. |
Tā míngnián bù lái. |
qùnián |
Tā |
qunián méi lái. |
|
1+. |
Tā xiàge yùè bù zou. shàngge yùè |
Tā |
shàngge yùè méi zǒu. | |
|
5. |
Tā xiàge xīngqī bù shàngge xīngqī |
lái. |
Tā |
shàngge xīngqī méi lái. |
|
6. |
Tā hòunián bù lái. |
qiánnián |
Tā |
qiánnián méi lái. |
|
7. |
Tā jīntiān bù zǒu. |
jīntiān |
Tā |
jīntiān méi zǒu. |
N. Response Drill
Give a negative response to each question.
1. Speaker: Wáng Xiǎojiě lái le ma? You: Wáng Xiǎojiě méi lái.
(Did Miss Wáng come?) (Miss Wáng didn’t come.)
2. Lin Xiānsheng lái le ma?
3. Liú Tàitai lái le ma?
U. Tā lái le ma?
5. Huáng Xiānsheng lái le ma?
6. Chén Xiǎojiě lái le ma?
7. Sūn Tàitai lái le ma?
Lin Xiānsheng méi lái.
Liú Tàitai méi lái.
Tā méi lái.
Huáng Xiānsheng méi lái.
Chén Xiǎojiě méi lái.
Sūn Tàitai méi lái.
0. Response Drill
Give a negative response to each
1. Speaker: Tā láiguo ma?
(Has he/she ever "been here?)
2. Tā àiren láiguo ma?
3. Tā nánháizi láiguo ma?
U. Tāmen háizi dōu láiguo ma?
5. Tā dìdi láiguo ma?
6. Tā jiějie láiguo ma?
7. Tā mǔqin láiguo ma?
question.
You: Tā méi láiguo.
(He/she has never "been here.)
Tā àiren méi láiguo.
Tā nánháizi méi láiguo.
Tāmen háizi dōu méi láiguo.
Tā dìdi méi láiguo.
Tā jiějie méi láiguo.
Tā múqin méi láiguo.
UNIT 7
Topics Covered, in This Unit
1. Where someone works.
2. Where and what someone has studied.
3. What languages someone can speak.
U. Auxiliary verbs.
5. General objects.
Materials You Will Need
1. The C-l and P-1 tapes, the Reference List and Reference Notes.
2. The C-2 and P-2 tapes, the Workbook.
3. The TD-1 tape.
(in Taipei)
1. A: Nín zài náli gongzuò?
B: Wǒ zài Měiguo Guowùyuàn gōngzuò.
2. A: Nín zài náli gōngzuò?
B: Wǒ shi xiiésheng.
3. A: Nín lái zuò shénme?
B: Wǒ lái niàn shū.
U. A: Ou, wǒ yě shi xiiésheng.
B: Qǐngwèn, nǐ niàn shénme?
A: Wǒ niàn lìshǐ.
5. A: Kē Xiānsheng, nī niàn shénme?
B: Wǒ zài zhèli xiié Zhōngwén.
6. B: Qǐngwèn, nī xiiéguo Yīngwén ma?
A: Xiiéguo.
7. B: Qǐngwèn, nī huì shuō Yīngwén ma?
A: Wǒ huì shuō yìdiǎn.
8. A: Nī tàitai yě huì shuō Zhōngguo huà ma?
B: Bú huì, tā hú huì shuō.
9. A: Nīde Zhōngguo huà hen hǎo.
B: Náli, náli. Wo jiù huì shuō yìdiǎn.
10. A: Nī shi zài náli xiiéde?
B: Wǒ shi zài Huáshèngdùn xiiéde.
11. B: Nī shi zài dàxiié xiiéde Yīngwén ma?
A: Shìde, wǒ shi zài Táiwān Dàxiié xiiéde Yīngwén.
Where do you work?
I work with the State Department.
Where do you work?
I’m a student.
What did you come here to do?
I came here to study.
Oh, I’m a student too.
May I ask, what are you studying?
I’m studying history.
What are you studying, Mr. Cook?
I’m studying Chinese here.
May I ask, have you ever studied English?
Yes.
May I ask, can you speak English?
I can speak a little.
Can your wife speak Chinese too?
No, she can’t.
Your Chinese is very good.
Not at all, not at all. I can speak only a little.
Where did you study it? I studied it in Washington.
Did you study English at college?
Yes, I studied English at Taiwan University.
ADDITIONAL REQUIRED VOCABULARY (not presented on C-l and P-1 tapes)
|
12. jīngjixue 13. Rìwén 1U. wénxiié
|
economics Japanese language literature political science to "be difficult to Le easy to study, to learn (PRC) |
|
VOCABULARY | |
|
dàxué |
university |
|
huà Huáshèngdùn huì |
language, words Washington to know how to, can |
|
J īngj ixué |
economics |
|
lìshī |
history |
|
Měiguo Guówùyuàn |
U.S. Department of State |
|
nan niàn (shū) |
to he difficult to study |
|
Rìwén róngyi |
Japanese language to be easy |
|
shuō (huà) |
to speak, to talk |
|
wénxūé |
literature |
xúé to study
xìiéshēng (xuésheng) student
|
xuéxí (xuéxi) |
to study, to learn (PRC) |
|
yìdiǎn Yīngwén |
a little English |
|
zhèngzhixué Zhōngwén zuò |
political science Chinese to do |
|
(introduced on C-2 |
and P-2 tapes) |
|
shénme dìfang |
where, what place |
1. A: Nín zài náli gōngzuò?
B: Wǒ zài Měiguo Guowùyūàn gōngzuò.
2. A: Nín zài náli gōngzuò?
B: Wǒ shi xuésheng.
Where do you work?
I work with the State Department
Where do you work?
I’m a student.
Note on Nos. 1-2
Zài Měiguo Guowùyūàn gōngzuò means either "work at the State Department" (i.e., at main State in Washington, D.C.) or "work in the organization of the State Department" (no matter where assigned). Here the expression is translated loosely as "work with the State Department," meaning "in the organization."
3. A: Nín lái zuò shénme?
B: Wǒ lái niàn shū.
U. A: Ou, wǒ yě shi xiiésheng.
B: Qǐngwèn, nī niàn shénme?
A: Wǒ niàn lìshǐ.
What did you come here to do?
I came here to study.
Oh, I'm a student too.
May I ask, what are you studying?
I’m studying history.
Notes on Nos. 3-H
Purpose: When lái, "to come," is followed hy another verh, the second verh expresses the purpose of the subject’s coming. The "purpose of coming" may he emphasized hy the shi... de construction, with the marker shi before the verb lái: Wǒ shi lái niàn shūde, "I came to study."
Niàn shū: Niàn by itself means "to read aloud. ’’ When followed by an object, the expression means "to study." Shū is "book(s)," but niàn shū simply means "to study." Shū is used as a general object, standing for whatever is being studied.
Niàn lìshǐ: When you are talking about studying a particular subject, niàn is followed by the name of that subject rather than by the general object shū.
To have the meaning "to study," niàn must be followed by either the general object shū or a specific object such as the name of a subject.
Verb types: Zuò, "to do," and niàn (shū), "to study," are action verts. Both are made negative with bù when referring to actions not yet finished, Both may take completion le or its negative méi.
Tā bú niàn shū.
Tā méi niàn shū.
Tā yǐjīng niàn shū le.
He doesn’t study.
He didn’t study.
He has already studied
5. A: Kē Xiānsheng, nǐ niàn shénme?
B: Wǒ zài zhèli xúé Zhōngwén.
6. B: Qǐngwèn, nǐ xūéguo Yīngwén ma?
A: Xūéguo.
What are you studying, Mr. Cook?
I’m studying Chinese here.
May I ask, have you ever studied English?
Yes.
Notes on Nos. 5-6
Xué, "to study" (an action verb): You will recognize xué from the word for "student," xuésheng. Xué may refer to acquiring either knowledge or a skill. For example, you can xué history, economics, a language, piano, and tenuis'. On the other hand, niàn is used for "study" in the sense of taking a course or courses in a field of knowledge. Niàn is not used for a skill.
In some contexts, the verb xué means "to learn." The following sentence may be interpreted two ways, depending on the situation.
Wo zài Měiguo yǐjīng xūéguo. I learned it in America.
(e.g., how to use chopsticks)
OR I studied it in America.
(e.g., the Chinese language)
Zhōngwén is used for either the Chinese spoken language or the written language, including literature. In general, use xué for "learning" to speak Chinese and niàn for "studying" Chinese literature.
|
7- |
B: |
Qǐngwèn, nǐ huì shuō Yīngwén |
May I ask, can you speak English |
|
ma? | |||
|
A: |
Wǒ huì shuō yìdiǎn. |
I can speak a little. | |
|
8. |
A: |
Nǐ tàitai yě huì shuō |
Can your wife speak Chinese too? |
|
Zhōngguo huà ma? | |||
|
B: |
Bú huì, tā bú huì shuō. |
No, she can’t. |
Rotes on Nos. 7-8
Huì, "to know how to," "can," is an auxiliary verb. It is used "before the main verb to express an attitude toward the action or to express the potential of action. Xiang, "to want to," "would like to," is also an auxiliary verb. "Should," "must," and "may" are other examples of auxiliary verbs. All auxiliary verbs in Chinese are state verbs, which means that bù is always used to make them negative. Auxiliary verbs never take the aspect marker le for completed action, regardless of whether you are talking about past, present, or future.
Tā qúniān bú huì shuō Yīngwén. He couldn't speak English last year.
"When the marker le is used, it is the aspect marker for new situations.
Tā qúniàn bú huì shuō Yīngwén, Last year he couldn’t speak English, xiànzài huì le. but now he can.
Wo huì shuō yìdiǎn, "I can speak a little": The word yìdiǎn, literally "a dot," functions as a noun. It is used in a sentence to mean "a little bit" where a noun object, such as Yīngwén, "English," might be used.
Yìdiǎn may not be used directly after an auxiliary verb, which must be followed by another verb.
Shuō, "to speak," "to talk," is another example of a verb which must always have an object.* Shuō must be followed by either
(1) the general object huà, "words," in which case the meaning of shuō huà is simply "to speak," "to talk," as in Tā hái méi shuō huà, "He hasn’t yet spoken"
OR
(?) a specific object such as the name of a language.
Bú huì: The short yes/no answer to a question containing the auxiliary verb huì is formed with huì rather than with the main verb.
Zhōngguo huà: This expression refers only to the spoken language, in contrast to Zhōngwén, which refers to both the spoken and written language.
9. A: Nīde Zhōngguo huà hen hǎo. B: Nali, nali. Wǒ j iù huì shuō yìdiǎn.
Your Chinese is very good.
Not at all, not at all. I can speak only a little.
See also the note on niàn shu, under exchange 3.
Notes on No. 9
Literally, náli means "where." As a reply to a compliment, we have translated náli as "not at all." In China, it has traditionally been considered proper and a matter of course to deny any compliment received, no matter how much truth there is to it. Many people still regard xièxie, "thank you," as an immodest reply to a compliment, since that would amount to agreeing that the compliment was completely correct.
Jiù, "only": As was noted in Unit 3, notes on Nos. 8-9, Jiù meaning "only" is not as widely understood as zhǐ. The last sentence in exchange 9 could just as well be Wǒ zhǐ huì shuō yìdiǎn.
10. A: Nǐ shi zài náli xùéde?
B: Wǒ shi zài Huáshèngdùn xùéde.
11. B: Nǐ shi zài dàxùé xùéde Yǐngwén ma?
A: Shìde, wǒ shi zài Táiwān Dàxùé xùéde Yǐngwén.
Where did you study it?
I studied it in Washington.
Did you study English at college?
Yes, I studied English at Taiwan University.
Note on Nos. 10-11
In the Peking dialect of Standard Chinese, which is the model for grammatical patterns presented in this course, the -de of a shi... de construction comes between the verb and its object. The object, therefore, is outside the shi... de construction. Compare "I studied here" with "I studied English here":
|
Wǒ |
shi |
zài zhèr |
xùé |
-de. | |
|
Wǒ |
shi |
zài zhèr |
•• X xue |
-de |
Yǐngwén. |
However, you may hear some Standard Chinese speakers who place the object inside the shi... de construction.
A. Response Drill
1. Speaker: Tā zài náli gōngzuò? (cue) Guōwùyǔàn
(Where does he/she work?)
2. Tā zài náli gōngzuò?
youzhèngjú
(Where does he/she work?)
3- Tā zài náli gōngzuò? yínháng (Where does he/she work?)
U. Tā zài náli gōngzuò?
Wǔguānchù
(Where does he/she work?)
5. Tā zài náli gōngzuò?
Guobīn Dàfàndiàn
(Where does he/she work?)
6. Tā zài náli gōngzuò?
Běi j īng Fàndiàn
(Where does he/she work?)
7. Tā zài náli gōngzuò?
Mínzu Fàndiàn
(Where does he/she work?)
You: Tā zài Guowùyǔàn gōngzuò.
(He/she works with the State Department.)
Tā zài youzhèngjú gōngzuò.
(He/she works at the post office.)
Tā zài yínháng gōngzuò.
(He/she works at a bank.)
Tā zài Wǔguānchù gōngzuò.
(He/she works at the defense
attache’s office.)
Tā zài Guobīn Dàfàndiàn gōngzuò.
(He/she works at the Ambassador
Hotel.)
Tā zài Běijīng Fàndiàn gōngzuò.
(He/she works at the Běijīng
Hotel.)
Tā zài Mínzu Fàndiàn gōngzuò.
(He/she works at the Nationalities
Hotel.)
B. Expansion Drill
1. Speaker: Tā shi xuésheng, tā xué Zhōngwén• (cue) zhèli
(He/she is a student; he/she studies Chinese.
2. Tā shi xǔésheng, tā xué Zhōngguo huà. nàli
3. Tā shi xǔésheng, tā niàn shénme? zhèli
You: Tā shi xǔésheng, tā zài zhèli xǔé Zhōngwén.
(He/she is a student; he/she studies Chinese here.)
Tā shi xǔésheng, tā zài nàli xǔé Zhōngguo huà.
Tā shi xǔésheng, tā zài zhèli niàn shénme?
|
4. |
Tā shi xùésheng, tā náli? |
niàn |
lìshǐ. |
Tā shi xùésheng, tā zài náli niàn lìshǐ? |
|
5. |
Tā shi xùésheng, tā zhèli ' |
niàn |
wénxùé. |
Tā shi xùésheng, tā zài zhèli niàn wénxùé. |
|
6. |
Tā shi xùésheng, tā nàli |
xūé |
Fàwén. |
Tā shi xùésheng, tā zài nàli xūé Fàwén. |
|
7. |
Tā shi xùésheng, tā |
xùé |
shénme? |
Tā shi xùésheng, tā zài zhèli xùé |
shénme?
zhèli
C. Response Drill
1. Speaker: Qǐngwèn, tā niàn shénme? (cue) jīngjixùé
(May I ask, what is he/ she studying?)
2. Qǐngwèn, Wáng Dànián niàn shénme? wénxùé
(May I ask, what is Wáng Dànián studying?)
3. Qǐngwèn, Fāng Xiāojiě niàn shénme? Zhōngguo wénxùé
(May I ask, what is Miss Fāng studying?)
U. Qǐngwèn, tā mèimei niàn shénme? zhèngzhixué
(May I ask, what is his/her younger sister studying?)
5. Qǐngwèn, tā àiren niàn shénme? lìshǐ
(May I ask, what is his/her spouse studying?)
6. Qǐngwèn, Sūn Huìrán niàn shénme? Zhōngguo lìshǐ
(May I ask, what is Sūn Huìrán studying?)
7. Tā nánháizi niàn shénme? j īngj ixūé
(What is his/her son studying?)
You: Tā niàn jīngjixūé.
(He/she is studying economics.)
Tā niàn wénxùé.
(He is studying literature.)
Tā niàn Zhōngguo wénxùé.
(She is studying Chinese literature.)
Tā niàn zhèngzhixùé.
(She is studying political science.)
Ta niàn lìshǐ.
(He/she is studying history.)
Tā niàn Zhōngguo lìshǐ.
(She is studying Chinese history.)
Tā niàn jīngjixùé.
(He is studying economics.)
D. Transformation Drill
1. Speaker: Wang Xiānsheng niàn lìshǐ.
(Mr. Wang is studying history.)
2. Mǎ Xiānsheng niàn wénxūé.
3. Zhāng Xiānsheng niàn jǐngjixūé.
U. Lǐ Xiānsheng niàn Rìwén.
5. Tā niàn lìshǐ.
6. Hú Xiānsheng niàn Yǐngwén.
7. Chén Xiānsheng niàn Fàwén.
You: Wáng Xiānsheng lái niàn lìshǐ (Mr. Wáng is coming to study history.)
Mǎ Xiānsheng lái niàn wénxūé.
Zhāng Xiānsheng lái niàn jīngjixūé
Lǐ Xiānsheng lái niàn Rìwén.
Tā lái niàn lìshǐ.
Hu Xiānsheng lái niàn Yǐngwén.
Chén Xiānsheng lái niàn Fàwén.
E. Response Drill
1. Speaker: Sūn Tongzhì lái zuò shénme?
(cue) gōngzuò
(What did Comrade Sūn come to do?)
2. Mǎ Tongzhì lái zuò shénme? niàn shū
3. Chén Tongzhì lái zuò shénme? xūé Rìwén
U. Tā lái zuò shénme? niàn lìshǐ
5. Huáng Xiānsheng lái zuò shénme? niàn zhèngzhixūé
6. Qián Tongzhì lái zuò shénme? xūé Yǐngwén
7. Tā lái zuò shénme? gōngzuò
You: Tā lái gōngzuò.
(He/she is coming to work.)
Tā lái niàn shū.
Tā lái xué Rìwén.
Tā lái niàn lìshǐ.
Tā lái niàn zhèngzhixūé.
Tā lái xūé Yǐngwén.
Tā lái gōngzuò.
F. Response Drill
1. Speaker: Qǐngwèn, tā lái niàn shū ma?
(May I ask, did he/she come to study?)17
2. Qǐngwèn, tā lái niàn Zhōngwén ma?
3. Qǐngwèn, tā lái niàn jīngjixué j ma?
U. Qǐngwèn, tā mèimei lái niàn Yīngwén ma?
5. Qǐngwèn, Chén Xiānsheng lái niàn zhèngzhixué ma?
6. Qǐngwèn, Wáng Xiānsheng lái xué Fàwén ma?
7. Qǐngwèn, Zhāng Xiǎojiě lái xué Rìwén ma?
You: Duì le, tā lái niàn shū.
(That’s right, he/she came to study.)
Duì le, tā lái niàn Zhōngwén.
Duì le, tā lái niàn jīngjixué.
Duì le, tā lái niàn Yīngwén.
Duì le, tā lái niàn zhèngzhixué.
Duì le, tā lái xué Fàwén.
Duì le, tā lái xué Rìwén.
G. Response Drill
1. Speaker: Tā shi zài dàxué xuéde Zhōngwén ma?
(Did he/she study Chinese in college?)
2. Tā shi zài Měiguo xūéde Zhōngwén ma?
3. Tā shi zài Táiwān Dàxué niànde Yīngwén ma?
U. Tā shi zài Měiguo niànde lìshǐ ma?
5. Tā shi zài Jiāzhōu niànde zhèngzhixué ma?
You: Shìde, tā shi zài dàxué xūéde Zhōngwén.
(Yes, he/she studied Chinese in college.)
Shìde, tā shi zài Měiguo xūéde Zhōngwén.
Shìde, tā shi zài Táiwān Dàxué niànde Yīngwén.
Shìde, tā shi zài Měiguo niànde
lìshǐ.
Shìde, tā shi zài Jiazhōu niànde zhèngzhixué.
6. Tā shi zài Zhongguo niànde Zhōngguo -wénxùé ma?
7. Tā shi zài Huáshèngdùn niànde
JīngJixùé ma?
Shìde, tā shi zài Zhōngguo niànde Zhōngguo wénxùé.
Shìde, tā shi zài Huáshèngdùn niànde JīngJixùé.
H. Response Drill
Give negative responses to all. the according to the cues.
1. Speaker: Tā shi zài Zhōngguo xùéde Zhōngguo huà ma? (cue) Měiguo
(Did he/she study Chinese in China?)
2. Tā shi zài Měiguo niànde Fàwén ma? Jiānádà
3. Tā shi zài Táiwān Dàxué niànde zhèngzhixùé ma? Měiguo Dàxùé
U. Tā shi zài Yīngguo niànde Yīngguo wénxùé ma? Měiguo Dàxùé
5. Tā shi zài Jiāzhōu niànde Jīngjixué ma? Táiwān Dàxùé
6. Tā shi zài
Zhōngguo
Zhōngguo niànde lìshǐ ma? Jiāzhōu Dàxùé
7. Tā shi zài Jiānádà niànde Zhōngwén ma? Táiwān questions, and complete your answers
You: Bú shi, tā shi zài Měiguo xùéde Zhōngguo huà.
(No, he/she studied Chinese in America.)
Bú shi, tā shi zài Jiānádà niànde Fàwén.
Bú shi, tā shi zài Měiguo Dàxùé niànde zhèngzhixùé.
Bú shi, tā shi zài Měiguo Dàxùé niànde Yīngguo wénxùé.
Bú shi, tā shi zài Táiwān Dàxùé niànde Jīngjixùé.
Bú shi, tā shi zài Jiāzhōu Dàxùé niànde Zhōngguo lìshǐ.
Bú shi, tā shi zài Táiwān niànde Zhōngwén.
I. Response Drill
Give a negative or an affirmative response to each question, according to the cues.
1. Speaker: Tā shi zài Huáshèngdùn You: Shìde, tā shi zài Huáshèngdùn xùéde Zhōngguo huà ma? xùéde Zhōngguo huà.
(cue) Huáshèngdùn (Yes, he/she studied Chinese
(Did he/she study Chinese in Washington.)
in Washington?)
OR Tā shi zai Taiwan Daxue Bu shi, ta shi zai Meiguo Daxue niànde Zhōngguo lìshǐ niànde Zhōngguo lìshǐ.
ma? (No, he/she studied Chinese history
(cue) Měiguo Dàxūé at American University. )
(Did he/she study Chinese
history at Taiwan University?)
2. Tā shi zài dàxíié xiiéde Zhōngwén ma? dàxíié
3. Tā shi zài Taiwān Dàxíié niànde Zhōngguo wénxíié ma?
Jiāzhōu Dàxíié
U. Tā shi zài Měiguo Dàxíié niànde wénxūé ma? Měiguo Dàxùé
5. Tā shi zài Jiāzhōu Dàxūé niànde zhèngzhixūé ma? Táiwān Dàxūé
Shìde, tā shi zài dàxūé xūéde Zhōngwén.
Bu shi, tā shi zài Jiāzhōu Dàxūé niànde Zhōngguo wénxūé.
Shìde, tā shi zài Měiguo Dàxūé niànde wénxūé.
Bu shi, tā shi zài Táiwān Dàxūé niànde zhèngzhixūé.
6. Tā shi zài Fàguo niànde Fàwén ("French") ma? Měiguo
Bu shi, tā shi zài Měiguo niànde Fàwén.
J. Substitution Drill
1. Speaker: Nǐ huì shuō Yǐngwén ma? (cue) Déwén
(Can you speak English?)
2. Nǐ huì shuō Déwén ma? Rìwén
3. Nǐ huì shuō Rìwén ma? Fàwén
U. Nǐ huì shuō Fàwén ma?
Zhōngguo huà
5- Nǐ huì shuō Zhōngguo huà ma? Déguó huà
6, Nǐ huì shuō Déguó huà ma?
You: Nǐ huì shuō Déwén ma?
(Can you speak German?)
Nǐ huì shuō Rìwén ma?
Nǐ huì shuō Fàwén ma?
Nī huì shuō Zhōngguo huà ma?
Nǐ huì shuō Déguó huà ma?
K. Combination Drill
1. Speaker: Wǒ xúé Zhōngwén. (cue) Rìwén
(I’m studying Chinese.)
OR Wǒ xúé Zhōngwén.
(cue) tā
(I’m studying Chinese.)
2. Tā xué Fàwén. Déwén
3. Wǒ xúé Fàwén. tā
U. Wǒ xúé zhèngzhixúé. tā
5. Wǒ xúé zhèngzhixúé. jīngjixúé
6. Wǒ xúé wénxúé. lìshǐ
You: Wǒ xúé Zhōngwén, wǒ yě xúé Rìwén.
(I’m studying Chinese, and I’m studying Japanese too.)
Wǒ xúé Zhōngwén, tā yě xúé Zhōngwér (I’m studying Chinese; he/she is studying Chinese too.)
Tā xué Fàwén, tā yě xúé Déwén.
Wǒ xúé Fàwén, tā yě xúé Fàwén.
Wǒ xúé zhèngzhixúé, tā yě xúé zhèngzhixúé.
Wǒ xúé zhèngzhixúé, wǒ yě xúé Jīngjixúé.
Wǒ xúé wénxúé, wǒ yě xúé lìshǐ.
L. Combination Drill
1. Speaker: Lin Xiānsheng zài Huáshèngdùn. Tā xúéguo Fàwén.
(Mr. Lin was in Washington. He studied French.)
2. Huáng Xiǎojiě zài Měiguo. Tā niànguo zhèngzhixúé.
(Miss Huáng was in America.
She studied political science.)
3. Liú Tàitai zài Jiāzhōu Dàxúé.
Tā niànguo jīngjixúé.
(Mrs. Liú was at the University of California. She studied economics.)
U. Song Xiānsheng zài Měiguǒ. Tā niànguo lìshǐ.
(Mr. Song was in America. He studied history.)
You: Lin Xiānsheng zài Huáshèngdùn xúéguo Fàwén.
(Mr. Lin studied French in Washington.)
Huáng Xiǎojiě zài Měiguo niànguo zhèngzhixúé.
(Miss Huáng studied political science in America.)
Liú Tàitai zài Jiāzhōu Dàxúé niànguo Jīngjixúé.
(Mrs. Liú studied economics at the University of California.)
Song Xiānsheng zài Měiguo niànguo lìshǐ.
(Mr. Song studied history in America.)
5. Tā zài Běijīng. Tā xūéguo Zhōngwén.
(He/she was in Běijīng. He/she studied Chinese.)
6. Sūn Xiaojiě zài Jiānádà. Tā niànguo Yīngguo wénxùé.
(Miss Sūn was in Canada. She studied English literature.)
7. Tā zài Zhōngguo. Tā niànguo Zhōngguo wénxùé.
(He/she was in China. He/she studied Chinese literature.)
Tā zài Běijīng xuéguo Zhōngwén. (He/she studied Chinese in Běijīng
Sūn Xiaojiě zài Jiānádà niànguo Yīngguo wénxùé.
(Miss Sūn studied English literature in Canada.)
Tā zài Zhōngguo niànguo Zhōngguo wénxùé.
(He/she studied Chinese literature in China.)
M. Response Drill
Give an affirmative or a negative to the cues.
1. Speaker: Nī huì shuō Yīngwén ma? (cue) xūéguo
(Can you speak English?)
OR Nī huì shuō Yīngwén ma?
(cue) méi xuéguo (Can you speak English?)
2. Nī huì shuō Zhōngwén ma? xué guo
3. Tā huì shuō Déwén ma? méi xuéguo
U. Nī huì shuō Rìwén ma? xuéguo
5. Tā huì shuō Yīngguo huà ma? xué guo
6. Nī huì shuō Fàwén ma? méi xuéguo
response to each question, according
You: Wǒ huì shuō yìdiǎn.
(I can speak a little.)
Wǒ hú huì shuō.
(I can’t speak it.)
Wǒ huì shuō yìdiǎn.
Tā hú huì shuō.
Wǒ huì shuō yìdiǎn.
Tā huì shuō yìdiǎn.
Wǒ hú huì shuō.
N. Response Drill
Give an affirmative or a negative to the cues.
1. Speaker; Tā huì shuō Zhōngguo huà ma?
(cue) xíiéguo
(Can he/she speak Chinese?)
OR Tā huì shuō Zhōngguo huà ma?
(cue) méi xuéguo (Can he/she speak
Chinese?)
2. Tā àiren huì shuō Fàwén ma? xuéguo
3. Tā fùqin huì shuō Rìwén ma? méi xuéguo
U. Lǐ Tongzhì huì shuō Déwén ma? méi xuéguo
5. Wāng Tongzhì huì shuō Yǐngwén ma? xiiéguo
6. Chén Tongzhì huì shuō Fàwén ma? xiieguo
response to each question, according
You: Huì, tā huì shuō Zhōngguo huà.
(Yes, he/she can speak Chinese.)
Bú huì, tā hú huì shuō
Zhōngguo huà.
(No, he/she can't speak Chinese.
Huì, tā àiren huì shuō Fàwén.
Bú huì, tā fùqin bú huì shuō Rìwén.
Bú huì, Lǐ Tongzhì bú huì shuō Déwén.
Huì, Wáng Tongzhì huì shuō Yǐngwén.
Huì, Chén Tongzhì huì shuō Fàwén.
UNIT 8
Topics Covered in This Unit
1. More on duration phrases.
2. The marker le for new situations in negative sentences.
3. Military titles and branches of service.
V. The marker ne.
5. Process verbs.
Materials You Will Need
1. The C-l and P-1 tapes, the Reference List and Reference Notes.
2. The C-2 and P-2 tapes, the Workbook.
3. The 8D-1 tape.
(in Taipei)
1. B: Nǐ jīntiān hái you kè ma?
A: Méiyou kè le.
2. A: Nī congqian niàn Yǐngwén niànle duo jiǔ?
B: Wǒ niàn Yīngwén niànle liùnián.
3. A: Nī xiànzài niàn shénme ne?
B: Wǒ niàn Fàwén ne.
4. A: Nī niàn Fàwén niànle duo jiǔ le?
B: Wǒ niànle yìnián le.
5. B: Nī huì xiě Zhōngguo zì ma?
A: Huì yìdiǎn.
6. A: Qunián wǒ hái hú huì xiě.
A: Xiànzài wǒ huì xiě yìdiǎn le.
7. A: Nī fùqin shi jǔnrén ma?
B: Shi, tā shi hǎijǔn jǔnguān.
8. B: Wǒ jīntiān hu lái le.
B: Wǒ hìng le.
9. A: Jīntiān hǎo le méiyou?
B: Jīntiān hǎo le.
Do you have any more classes today?
I don’t have any more classes.
How long did you study English?
I studied English for six years.
What are you studying now?
I’m studying French.
How long have you heen studying French?
I’ve heen studying it for one year.
Can you write Chinese characters?
I can a little.
Last year I couldn’t write them.
Now I can write a little.
Is your father a military man?
Yes, he’s a naval officer.
I’m not coming today.
I’m sick.
Are you better today? (Are you recovered?)
Today I’m better.
ADDITIONAL REQUIRED VOCABULARY (not presented on C-l and P-1 tapes)
10. kōngjǔn
11. lùjǔn
12. shìbīng
13. zuò shi
14. Déwén
air force
army enlisted man to work
German language
hìng
Déwén
Fàwén (Fawén)
hǎijun
jùnguān junrén
kè
kōngjun
lùjūn
shibǐng
xiě
zì
zuò shi
to "become ill
German language
French language navy-
military officer military person
class air force
army enlisted man to write character to work
1. B: Nī jintian hái you kè ma? Do you have any more classes today?
A: Méiyou kè le. I don’t have any more classes.
Notes on-No. 1
Hái, "additionally," "also": used as an adverb meaning "still, way to use hái.
Nī hái xiǎng zǒu ma?
Nī hái yào xiié shénme?
You have already learned the word hái ' In this exchange you learn a second
Do you still want to leave?
What else do you want to study?
Méiyou...le: You will remember that in the negative of a completed action, méi or méiyou replaces the completion marker le—is never used together with it.
|
Tā |
lái |
le. |
(He came) | |
|
Tā |
méi(you) |
lái. |
(He did not come) |
In the sentence Méiyou kè le, le is a new-situation marker, and méiyou is simply the negative of the full verb you. (Remember that the verb you is always made negative with mei, never with bù.)
|
Tā |
you kè |
le. |
(Now he has class. CDue to a change in the schedule, he now has class at this time.!) | |
|
Tā |
méi- |
you kè |
le. |
(He doesn’t have any more classes.) |
Bù...le/méiyou...le: When the marker le for new situations is used with a negative verb, there are two possible meanings: one is that something that was supposed to happen is now not going to happen; the other is that something that was happening is not happening anymore. Thus the following sentence is ambiguous:
Tā bù lái le. He is not coming now. CEither
he was expected to come but changed his mind, or he used to come at this time but now has stopped.!
|
In the context of a conversation, the meaning of the sentence would become | |
|
clear. |
Here are more examples with the "anymore" meaning: Tā bú niàn shū le. He is not going to study anymore. CHe will no longer attend college.3 Tā bú shi wǒde péngyou le. He is not my friend anymore. Méiyou le. There is no more. |
|
2. |
A: |
Nī congqian niàn Yīngwén |
How long did you study English? |
|
niànle duo jiǔ? | |||
|
B: |
Wǒ niàn Yīngwén niànle liùnián. |
I studied English for six years |
Note on No. 2
More on duration: In Unit 6 of this module, you learned to express duration in a sentence with no object (Wǒ zài Xiānggǎng zhùle liùge yùè le). In this unit, you learn one way to express the duration of an activity which involves using both a verb and an object (e.g., ’’studying economics”). In such cases, the verb appears twice in the sentence: first when the object is stated, and again when the duration is stated.
Tā niàn jīngjixué, niànle He studied economics for one year, yìnián.
Tā xiié Zhōngguo huà, xiiéle He has been studying Chinese for sānge yuè le. three months.
Notice that aspect markers do not occur after the first verb in each sentence, but only after the second verb and at the end of the second sentence.
3. A: Nī xiànzài niàn shénme ne?
B: Wo niàn Fàwén ne.
What are you studying now? I’m studying French.
Note on No. 3
Ne is an aspect marker used to emphasize the fact that something is in progress. With action verbs, ne indicates that the action is going on. With state verbs, ne shows that the state exists. With some process verbs, ne indicates that the process is going on. Ne may not be used with certair process verbs. (See also notes on No. 8, about verbs.)
U. A: Nǐ niàn Fàwén niànle duo Jiǔ le?
B: Wǒ niànle yìnián le.
5. B: Nǐ huì xiě Zhōngguo zì ma?
A: Huì yìdiǎn.
How long have you been studying French?
I’ve been studying it for one year
Can you write Chinese characters?
I can a little.
Notes on Nos. U-5
Xiě Zhōngguo zì: The verb xiě, "to write," can occur with specific objects, such as Zhōngguo zì, as well as with the general object zì. The combination xiě zì can mean either "to write characters" or simply "to write."
Tā xiǎng xǔé xiě Zhōngguo He wants to learn to write Chinese zì. characters.
Xiǎo dìdi sìsuì le, yǐjīng Little younger brother is four huì xiě zì le. years old and already can write.
In the reply Huì yìdiǎn, huì is used as a main verb—not as an auxiliary verb, as in the question. As a main verb, huì means "to have the skill of," "to have the knowledge of," "to know."
Wǒ huì Yīngwén. I know English.
6. A: Qǔnián wǒ hái bǔ huì xiě. Last year I couldn’t write them.
A: Xiànzài wǒ huì xiě yìdiǎn le. Now I can write a little.
Notes on No. 6
Qǔnian wǒ hai bu hui xiě: Notice that here it is the auxiliary verb hui, not the verb xiě, that is made negative. Auxiliary verbs such as huì and xiǎng are STATE verbs and so are made negative with the prefix bù, regardless of whether the context is past, present, or future.
Xianzài wǒ huì xiě yìdiǎn le: The marker used is le for new situations. It is always placed at the end of a sentence.
The time word xiànzài comes at the beginning of the sentence here. Most time words of more than one syllable may come either before or after the subject, but in either case before the verb.
7. A: Nǐ fùqin shi jùnrén ma?
B: Shi, tā shi hǎijùn jùnguān.
8. B: Wǒ jintiān bù lái le.
B: Wǒ bìng le.
Is your father a military man?
Yes, he’s a naval officer.
I’m not coming today.
I’m sick.
Notes on Nos. 7-8
The verb bìng, "to get sick," "to become ill," is a process verb; that is, the activity described includes some changes in the situation. Process verbs tell of an action which has caused a change from one state to another as from whole to broken ("to break") and from frozen to melted ("to melt"). Bìng is typical of process verbs: not only is an action described (coming down with an illness) but also a resulting state (being ill). Because of this typical combination, process verbs are sometimes thought of as combining the semantic characteristics of action and state verbs.
One of the main purposes of talking about verbs in terms of action, state, and process is to draw attention to the fact that the Chinese way of- expressing something may not correspond to the English. For instance, "I am sick" in Chinese is Wǒ bìng le ("I have gotten sick"). For "I am not sick," you say Wǒ méi bìng ("I didn’t get sick").
Process verbs are always made negative with méi, regardless of whether you are referring to past, present, or future.
Nǐ bìng le méiyou? Are you sick?
Méiyou. Wǒ méi bìng. No. I’m not sick.
(State verbs are always made negative with bù.)
Another reason for putting verbs into categories according to the type of meaning is to discover how verbs behave in sentences. Knowing whether a verb is in the action, state, or process category, you will know what aspect markers and negatives may be used with that verb. In the following charts, a check mark means that this combination of verb and aspect occurs in the language.
ASPECT MARKERS
VERBS
completion le combined le new-situation le
|
ACTION | |||
|
STATE | |||
|
PROCESS |
2^.—-—' |
Examples:18
ACTION Tā zuotiān gōngzuò le.
Tā yǐjīng lái le.
Gēge xiànzài niàn dàxué le.
STATE Tā xiànzài huì xiě zì le.
PROCESS Tā zuotiān t>ìng le.
Tā xiànzài hìng le.
Tā bìngle yíge yuè le.
He worked yesterday, (completion le)
He has already come, (combined le)
Older brother goes to college now. (new-situation le)19
He can write now. (new-situation le)
He got sick yesterday, (completion le)
He is sick.
(combined le)
He has been sick for one month now. (new-situation le and completion le)
VERBS
ACTION STATE PROCESS
NEGATION
|
bù | |||
|
méi(you)—negation of completion le |
^x^ | ||
|
hái méi—negation of combined le |
Examples:
ACTION Tā bú niàn shū.
Tā méi niàn shū.
Tā hái méi niàn shū.
STATE Tā qūnian bu xiang nian shū.
He doesn’t (isn’t going to) study.
He didn’t study.
He hasn’t studied yet.
Last year, she didn’t want to study.
PROCESS Tā jīntiān méi bìng. Tā hái méi hǎo.
He is not sick today.
He hasn’t yet recovered.
Notice that only action verbs use the whole range of negatives to mark the negative of future or present action, completed action, or new situations. State verbs use the negative prefix bù even when referring to past states. Process verbs use the negative prefix méi even when referring to something in the present.
If you find a verb occurring with a negative or an aspect marker you had not expected, you might discuss with your teacher how the verb behaves in terms of these charts. You might discover that what you thought was a state verb is actually a process verb, or vice versa.
9. A: Jīntiān hǎo le méiyou?
Are you better today? Today I’m better.
B: Jīntiān hǎo le.
Notes on No. 9
Jīntiān hǎo le: Hǎo is one of many state verbs which can become process verbs. When such a verb becomes a process verb, it takes on a different meaning. While the state verb hǎo means "to be good" or "to be well," the process verb hǎo means "to get better," "to recover." Compare these sentences:
Tā hǎo. He’s in good health.
Tā zuotiān bìng le. Tā jīntiān Yesterday he became sick. Today he yǐjīng hǎo le. is already recovered.
The difference between the state verb hǎo and the process verb hǎo is even more evident in negative sentences. State verbs, as you remember, are made negative only with bù. Process verbs are made negative only with méi or hái méi.
Tā bù hǎo. He’s not good. CHe’s not a good
person.3
Tā hái méi hǎo. He hasn’t yet recovered. CHe is
still sick.3
It can be difficult to remember that bìng and hǎo, sometimes translated as "to be sick" and "to be better," are actually process verbs in Chinese, not state verbs. The English sentence "I am better (recovered)" translates as Wo hǎo le ("I have become well") and would be incorrect without the le.
Jintiān hǎo le méiyou? Questions may be formed from statements containing completion le or combined le by adding méiyou at the end of the statements. You will learn more about forming questions in the first unit of the next module.
Tā lāile méiyou?
Nǐ,hǎole méiyou?
Did he come?
Are you recovered (from your illness)?
In a Taipei classroom (courtesy of Thatcher Dean)
A. Response Drill
1. Speaker: Tā Jīntiān hái you kè ma?
(Does he have any more classes today?)
2. Tā Jīntiān hái lái ma?
3. Tā xiànzài hái huì shuō Zhōngguo huà ma?
U. Tā xiànzài hái you Zhōngguo shū ma?
5. Tā hái niàn lìshǐ ma?
6. Tā xiànzài hái zài kōngjūn gōngzuò ma?
7. Ta xiànzài hái xiǎng zǒu ma?
You: Tā méiyou kè le.
(He doesn’t have any more classes.)
Tā bù lái le.
Tā bú huì shuō Zhōngguo huà le
Tā méiyou Zhōngguo shū le.
Tā bú niàn lìshǐ le.
Tā bú zài kōngjūn gōngzuò le.
Tā bù xiǎng zǒu le.
B. Expansion Drill
1. Speaker: Tā cōngqián niàn lìshǐ. (He formerly studied history.)
2. Tā cōngqián niàn shū.
3. Tā cōngqián zài lùjūn zuò shi.
U. Tā cōngqián bú huì.
5. Tā cōngqián bù zhīdào.
6. Tāde Zhōngwén cōngqián bù hen hǎo.
7. Tā cōngqián huì shuō Fàguo huà.
You: Tā cōngqián niàn lìshǐ, xiànzài bú niàn le.
(He formerly studied history, but now he doesn’t anymore.
Tā cōngqián niàn shū, xiànzài bú niàn le.
Tā cōngqián zài lùjūn zuò shi, xiànzài bú zài lùjūn zuò shi le.
Tā cōngqián bú huì, xiànzài huì le
Tā cōngqián bù zhīdào, xiànzài zhīdao le.
Tāde Zhōngwén cōngqián bù hen hǎo, xiànzài hen hǎo le.
Tā cōngqián huì shuō Fàguo huà, xiànzài bú huì le.
C. Transformation Drill
1. Speaker: Tā niànguo zhèngzhixué. (cue) duo jiǔ
(He has studied political science.)
2. Tā niànguo jīngjixué. jǐnián
3. Tā niànguo Zhōngguo wénxǔé. duo jiǔ
U. Tā xuéguo Rìwén. jǐge yǔè
5. Tā zài kōngjǔn zuòguo shi. duo jiǔ
6. Tā niànguo Zhōngguo lìshǐ. duo jiǔ
7. Tā niànguo Yīngguo wénxǔé.
jǐnián
You: Tā niàn zhèngzhixǔé, niànle duo jiǔ?
(How long did he study political science?)
Tā niàn jīngjixǔé, niànle jǐnián?
Tā niàn Zhōngguo wénxǔé, niànle duo jiǔ?
Tā xǔé Rìwén, xǔéle jǐge yǔè?
Tā zài kōngjǔn zuò shi, zuòle duo jiǔ?
Tā niàn Zhōngguo lìshǐ, niànle duo jiǔ?
Tā niàn Yīngguo wénxǔé, niànle jǐnián?
D. Transformation Drill
1. Speaker: Tā xiànzài niàn lìshǐ. (cue) duo jiǔ
(He is studying history now.)
2. Tā xiànzài xǔé Rìwén. jǐge yǔè
3. Tā xiànzài niàn Yīngwén. jǐge yǔè
U. Tā xiànzài zài hāijun zuò shi. j ǐnián
5. Tā xiànzài xǔé Zhōngguo huà. duo jiǔ
6. Tā xiànzài zài lùjǔn zuò shi. jǐnián
7. Tā xiànzài zài yínháng zuò shi. jǐnián
You: Tā niàn lìshǐ, niànle duo jiǔ le?
(How long has he "been studying history?)
Tā xǔé Rìwén, xǔéle jǐge yǔè le?
Tā niàn Yīngwén, niànle jǐge yǔè le?
Tā zài hāijǔn zuò shi, zuòle jǐnián le?
Tā xǔé Zhōngguo huà, xǔéle duo jiǔ le?
Tā zài lùjǔn zuò shi, zuòle jǐnián le?
Tā zài yínháng zuò shi, zuòle jǐnián le?
E. Transformation Drill
1. Speaker: Tā xiànzài hái niàn lìshǐ ne. (cue) duo jiǔ
(He is still studying history.)
2. Tā xiànzài hái niàn Zhōngguo wènxǔé ne. dué jiǔ
3. Tā xiànzài hái xué Rìwén ne. jige yuè
U. Tā xiànzài hái zài lùjǔn zuò shi ne. duo j iǔ
5. Tā xiànzài hái xué Zhōngguo huà ne. duo jiǔ
6. Tā xiànzài hái niàn zhèngzhixùé ne. duo jiǔ
7. Tā xiànzài hái niàn jīngjixǔé ne. duo jiǔ
You: Tā niàn lìshǐ, hái ’xiang niàn duo jiǔ?
(How much longer is he going to study history?)
Tā niàn Zhōngguo wènxǔé, hái xiǎng niàn duo jiǔ?
Tā xué Rìwén, hái xiǎng xué jǐge yuè?
Tā zài lùjǔn zuò shi, hái xiǎng zuò duo jiǔ?
Tā xǔé Zhōngguo huà, hái xiǎng xǔé duo jiǔ?
Tā niàn zhèngzhixǔé, hái xiǎng niàn duo jiǔ?
Tā niàn jīngjixǔé, hái xiǎng niàn duo jiǔ?
F. Transformation Drill
1. Speaker: Tā xiànzài niàn lìshǐ. (He is studying history now. )
OR Tā niànguo lìshǐ.
(He studied history.)
OR Tā xiànzài hái niàn lìshǐ.
(He is still studying history.)
2. Tā xiànzài niàn Zhōngguo wènxǔé.
3. Tā niànguo Zhōngguo wénxǔé.
U. Tā xiànzài hái niàn Rìwén.
You: Tā niàn lìshǐ, niànle duo jiǔ le?
(How long has he studied history?)
Tā niàn lìshǐ, niànle duo jiǔ?
(How long did he study history?)
Tā niàn lìshǐ, hái xiǎng niàn duo jiǔ?
(How long does he plan to study history?)
Tā niàn Zhōngguo wènxǔé, niànle duo jiǔ le?
Tā niàn Zhōngguo wénxǔé, niànle duo jiǔ?
Tā niàn Rìwén, hái xiǎng niàn duo jiǔ?
(I wrote.)
|
Tā niàn Rìwén, niànle duo Jiǔ? Tā xùé Yīngwén, xùéle duo jiǔ? Tā xùé Yīngwén, hái xiǎng xùé duo jiǔ? Tā zài kōngjǔn zuò shi, zuòle duo jiǔ le? You: Wǒ xiě zì le, tā méi xiě zì. (I wrote; he didn’t write.) Wǒ dong le, tā méi dong. Wǒ lái le, tā méi lái. Wǒ zǒu le, tā méi zǒu. Wǒ zuò le, tā méi zuò. Wǒ tīng le, tā méi tīng. Wǒ xùé le, tā méi xùé. You: Tā hái méi xiě. (He still hasn’t written.) Tā hái méi lái. Tā hái méi hǎo. Tā hái méi dong. Tā hái méi zǒu. Tā hái méi tīng. Tā hái méi xùé. |
I. Response Drill
1. Speaker: Tā cóngqian "bu huì xiě Zhōngguo zì. Xiànzài ne?
(In the past he couldn’t write Chinese characters. And now?)
2. Tā cóngqian hù xiǎng xūé Rìwén. Xiànzài ne?
3. Tā cóngqian hú niàn lìshǐ. Xiànzài ne?
U. Tā cóngqian hù dōng Fàwén. Xiànzài ne?
5. Tāmen cóngqian méiyou haizi. Xiànzài ne?
6. Tā cóngqian hú huì shuō Déguó huà. Xiànzài ne?
7. Tā cóngqian hù xiǎng xūé Yīngwén. Xiànzài ne?
You: Tā hái hú huì xiě Zhōngguo zì (He still can’t write Chinese characters.)
Tā hái hù xiǎng xūé Rìwén.
Tā hái hú niàn lìshǐ.
Tā hái hù dōng Fàwén.
Tāmen hái méiyou háizi.
Tā hái hú huì shuō Déguó huà.
Tā hái hù xiǎng xūé Yīngwén.
J. Transformation Drill
1. Speaker: Tā congqián hú huì xiě Zhōngguo zì.
(cue) now he can (in the past he couldn’t write Chinese characters. )
OR Tā congqián huì xiě Zhōngguo zì. (cue) no longer (in the past he could write Chinese characters. )
OR Tā. congqián hú huì xiě Zhōngguo zì. (cue) still can’t
(in the past he couldn’t write Chinese characters. )
You: Tā congqián hú huì xiě, xiànzài huì xiě le.
(in the past he couldn’t write; now he can.)
Tā congqián huì xiě, xiànzài hú huì xiě le.
(in the past he could write; now he can’t.)
Tā congqián hú huì xiě, xiànzài hái hú huì xiě.
(in the past he couldn’t write; now he still can’t.)
2, Tā congqián hù dong Fàwén. now he can
3. Tā congqián dong Fàwén. no longer
U. Tā congqián hù dong Fàwén. still can’t
5. Tā congqián hù xiǎng xùé Yīngwén. now he does
6. Tā congqián xiǎng xùé Yīngwén. no longer
7. Tā congqián hù xiǎng xùé Yīngwén. still doesn’t
8. Tā congqián hu niàn lìshǐ. now he does
9. Tā congqián niàn lìshǐ. no longer
10. Tā congqián hú niàn lìshǐ. still doesn’t
Tā congqián hù dong, xiànzài dong le.
Tā congqián dong, xiànzài hù dong le.
Tā congqián hù dong, xiànzài hái hù dong.
Tā congqián hù xiǎng xùé, xiànzài xiǎng xùé le.
Tā congqián xiǎng xùé, xiànzài hù xiǎng xùé le.
Tā congqián hù xiǎng xùé, xiànzài hái hù xiǎng xùé. ,
Tā congqiáh hú niàn, xiànzài niàn le.
Tā congqián niàn, xiànzài hú niàn le.
Tā congqián hú niàn, xiànzài hái hú niàn.
GPO 787- 001/3310
228
As used in this course, the words "he," "him," and "his" are intended to include both masculine and feminine genders. (Translations of foreign language material not included.)
The first version of each example is in the Pinyin system of romanization. The second, parenthesized version is the conventional, or anglicized, spelling.
Qǐngwèn is NOT the word used for saying "excuse me" when you step on someone’s foot. For that, you say duìbuqǐ.
Although Shànghǎi is physically located in Jiāngsū Province, it is a separate political entity. (The cities of Beijing and Tianjin are also separate entities.)
This exchange occurs on the C-l tape only.
Another word for "restaurant" is fànguǎnzi. The general word for "hotel" is luguǎn.
This exchange occurs on the C-l tape only.
This exchange occurs on the P-1 tape only.
The word dì- is sometimes translated "number," as in dìyǐ, "number one." (See resource module on Numbers, tape U.)
A few nouns referring to people may be made explicitly plural by adding
-men-• háizimen can only be "children,"
Jiù has several other meanings, which will be presented to you as you continue through this course. -> oh
0n occasion, a speaker may omit the shi (which is why it is written in parentheses in these notes).
This exchange occurs on the C-l tape only.
This exchange occurs on the P-1 tape only.
Ages may also be asked and given without using the new-situation le.
This exchange occurs on the C-l tape only.
A11 these sentences could be translated with "is coming" instead of "did come."
Most of the time you can figure out from a verb’s meaning the semantic category in which that verb belongs. However, process verbs may not be so predictable.
In affirmative sentences containing action verbs, the marker le for new situations is used to describe a change in a general habit.